Fox registra patente de nova suspensão com maior volume de ar no crown
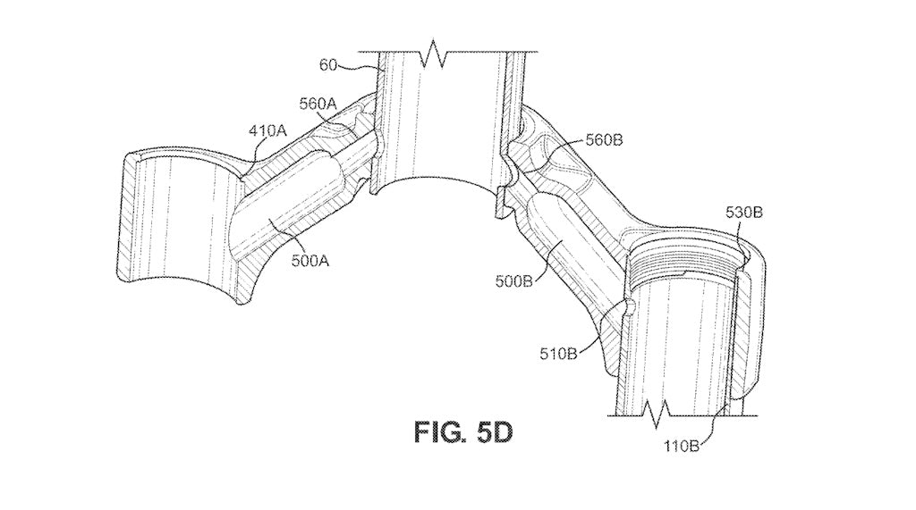
Uma patente recente da Fox procura resolver as restrições de tamanho da câmara de ar que normalmente estão presentes em um único lado do garfo. A solução? Crie câmaras de ar dentro da coroa (o crown) do garfo. A patente detalha várias maneiras possíveis de conseguir isso, incluindo um cenário em que o ar pode passar de uma haste para a outra.
Sempre que um novo garfo de mountain bike com suspensão a ar é lançado, é inevitável mencionar uma mudança no volume de ar, seja um aumento do volume negativo da mola, uma configuração positiva diferente da mola, válvulas para liberar o ar que fica preso nas partes inferiores, ou algum outro avanço relacionado ao ar. O objetivo final é inevitavelmente alcançar o equilíbrio ideal entre ter um curso inicial sensível e um curso intermediário de suporte, todos com progressividade de curso final suficiente para evitar pancadas de fundo duras. No papel, não parece tão complicado, mas, dado o ciclo aparentemente interminável de revisões no mundo dos garfos de suspensão, é mais difícil do que parece.
A patente de Fox aborda as limitações de volume de ar e diz: “Em garfos de mola pneumática, por exemplo, a necessidade de volume de fluido geralmente é limitada ao espaço disponível. Assim, há um compromisso constante entre o volume de fluido de melhor desempenho e o volume de fluido disponível. A discussão a seguir utiliza uma porção da coroa para obter câmaras de fluido anteriormente inexistentes (por exemplo, uma ou ambas as câmaras de fluido da coroa para fornecer volume de fluido adicional ao(s) tubo(s) da forquilha superior.
A patente também descreve a possibilidade de um espaçador de volume ou uma bexiga na câmara de fluido da coroa, algo que adicionaria outro nível de ajuste. Também há menção ao fato de que o conceito também poderia funcionar para um garfo de perna única (aualmente dominado pelas Lefty), deixando a porta aberta para a Fox se aventurar nesse reino pouco povoado. Lembre-se de que as patentes geralmente são escritas de forma a abranger o maior número possível de opções – só porque algo é mencionado não significa que chegará automaticamente ao mercado. Ainda gostamos da ideia da Fox lançar um Righty, no entanto.
Vale mencionar que uma empresa italiana chamada Ever Flow lançou recentemente um produto chamado AirLink que é essencialmente uma versão externa do que propõe partes da patente da Fox – um tubo conecta as duas válvulas de ar para reduzir a pressão acumulada.
-
Mecânica Básica para Ciclistas
Sair para a estrada traz uma sensação de liberdade. Mas, para que a aventura não vire perrengue, é essencial ter o mínimo de mecânica básica na ponta dos dedos (e na bolsa de selim!). Este texto contém duas dicas específicas para mulheres – que eu mesma sempre usei! Como você, eu adoro a praticidade – tempo na estrada é para pedalar, não para lutar com equipamentos. Sendo mulher, prefiro também ter alguns equipamentos que me permitam ser mais ágil, até porque troco o pneu de forma bem lenta! Pensando nisso, separei as dicas mais diretas e eficientes para resolver os problemas mais comuns do pedal. 1. Pneu Furado: O Clássico É o contratempo mais frequente. Nem todos têm tubeless, e tem gente que prefere não ter. Muitas mulheres inclusive não sabem trocar o pneu, mas isso deveria ser o básico, mesmo que você não seja muito rápido(a). Com as ferramentas certas, a troca é rápida e mais eficiente: O Kit Sobrevivência Prático Câmaras de ar sobressalentes: Leve pelo menos uma em um pedal mais curto, duas câmaras em rotas mais longas ou com maior possibilidade de furos, já que algumas estradas possuem bastante sujidade. Lembre-se que essa câmara precisa da válvula correta para o perfil da sua roda (Presta é a mais comum em bikes de estrada). Espátulas: Duas ou três, para tirar o pneu da roda. Minha sugestão é escolher espátulas com o plástico mais rígido. Remendo (opcional, mas salva): Se quiser economizar câmaras, um kit rápido de remendo sem cola pode ser um quebra-galho. Multiferramenta: Para pequenos ajustes, se necessário. Extra: uma pinça! Logo abaixo explico! Bomba de pressão manual, bomba eletrônica, CO2 A minha solução de ouro: A Bomba Eletrônica! Você é daquelas que não tem tempo a perder e detesta fazer força na beira da estrada? Sozinha eu não gosto de ficar muito tempo exposta parada. A mini bomba elétrica portátil me dá agilidade. Por que gosto: É compacta, leve e, o melhor de tudo, faz o trabalho pesado por você. Você conecta, aperta um botão e ela enche o pneu até a pressão ideal (algumas até calibram automaticamente, geralmente até 100-120 PSI, perfeito para pneus de estrada!). Praticidade Pura: Chega de suar para atingir os 100+ PSI da sua bike de estrada. É só garantir que ela esteja carregada antes de sair. O Passo a Passo que eu utilizo Encontre o furo: Se possível, tente descobrir o que causou o furo e retire do pneu. Lembra da pinça? Aqui pode ser ótimo para tirar pontas finas de ferro. Solte a roda: Abra o blocagem rápida (ou desparafuse o eixo, se for o caso) e solte o freio, se for do tipo ferradura, para a roda sair mais fácil). Tire o pneu: Use as espátulas para desencapá-lo. Eu sendo mulher acho espátulas boas fundamentais para evitar quebrar minha unha rs! Troque a câmara: Coloque a câmara nova e, com cuidado, recoloque o pneu na roda, começando pela válvula. Encha o pneu: Aí entra sua bomba eletrônica! Conecte, calibre a pressão (verifique o recomendado na lateral do seu pneu) e deixe-a trabalhar. Recoloque a roda: Feche o freio, encaixe a roda na gancheira e aperte a blocagem. Pronto! 2. A Corrente Caiu? Às vezes, uma troca de marcha mais brusca ou um buraco fazem a corrente pular. A Abordagem Limpa: Se cair para dentro (próximo ao quadro), troque a marcha para a coroa e o pinhão menores (os mais internos). Com as mãos, levante a corrente e a encaixe na coroa. Dica: Tente pegar a corrente pela lateral, com o dedão por cima e os outros dedos por baixo, para evitar sujar muito a mão. Depois, continue pedalando suavemente enquanto troca a marcha no STI (manete) para que ela se assente. 3. Pequenos Ajustes: O Essencial Levar uma multiferramenta compacta é levar uma oficina de bolso. Ajuste de Selim: Se o selim abaixar ou entortar, use a chave Allen (geralmente 4, 5 ou 6mm) da sua multiferramenta para apertar. Parafusos Frouxos: Verifique os parafusos do suporte de guidão (mesa) e os das caramanholas (suportes de garrafa). Um toque rápido evita vibrações indesejadas. Conclusão: Pronta para a Estrada! Sozinha, em casal ou com seu grupo! Com seu kit de ferramentas enxuto, sua bomba ou bomba eletrônica eficiente e essas poucas manobras básicas, você não vai perder o ritmo por causa de um imprevisto. A mecânica básica é sobre autonomia e praticidade! Agora, respira fundo, checa a pressão dos pneus (sem esforço, claro!) e #PartiuEstrada! Você encara esses ajustes quando sai para pedalar? Conta pra gente nos comentários!
-
Fim de temporada: Jovens talentos do Supera Racing Team elevam o mountain bike brasileiro com conquistas nacionais e internacionais
O time Supera Racing, que iniciou sua jornada em 2024, encerra a temporada de 2025 com um balanço impressionante de resultados, consolidando-se como um ambiente de formação de futuros campeões para o esporte. Com cinco atletas entre 12 e 18 anos – três meninos e duas meninas – a equipe, liderada por uma gestão experiente da manager Ana Baeta e a visão do diretor Henrique Furtado, também diretor do time Specialized Racing BR, demonstrou que o investimento na base é o caminho para o alto rendimento e a projeção internacional. _______________________________________________________________ Destaques da temporada: Um dos maiores marcos e provas do sucesso do projeto Supera Racing veio logo na virada da temporada. Miguel Volpini, que em 2024 brilhou em seu último ano na categoria juvenil e se sagrou Campeão Brasileiro de XCO, foi convidado a integrar o time Specialized Racing BR, uma equipe profissional de atletas do MTB. A ascensão de Miguel ao cenário profissional é a concretização da missão do time Supera: formar talentos e prepará-los para os mais altos níveis do esporte. Apesar dos desafios de alto custo que limitaram a participação em mais competições nacionais em 2025, o time marcou presença em quatro provas importantes no Brasil, além de garantir uma forte representação internacional. O ponto alto foi a participação de quatro atletas no Pan-Americano de XCO na Costa Rica e a presença inédita de uma atleta no Mundial de XCO na Suíça, evidenciando a ambição do projeto. _______________________________________________________________ Destaques dos atletas: Anna Vitória (Júnior): Em seu segundo ano na categoria, Anna sagrou-se Campeã Brasileira de XCO, um título que a levou à convocação pela CBC para representar o Brasil no Pan-Americano de XCO (Costa Rica) e no Mundial de XCO (Suíça). Hexacampeã baiana e vice-campeã de XCO na Copa Internacional de Mountain Bike (CIMTB), Anna passou 45 dias na Europa, competindo em etapas Júnior Series e alcançando um notável 7º lugar na Super Cup em Girona, etapa UCI Júnior Series, seu melhor resultado no continente. João Yoshio (Juvenil): Em seu último ano na categoria juvenil, João é pentacampeão paranaense de XCO. Em 2025, conquistou o vice-campeonato XCO e um 3º lugar no XCC na CIMTB, além de uma medalha de bronze no Campeonato Brasileiro de XCO e um expressivo 5º lugar no Pan-Americano de XCO na Costa Rica. João Lucas (Júnior): Em seu primeiro ano na categoria Júnior e segundo ano em competições XCO, João Lucas demonstrou resiliência e evolução constante. Encerrou a temporada com um 9º lugar no XCC e 10º lugar no XCO da CIMTB – etapa de Congonhas. No ranking anual da CIMTB, garantiu a 12ª posição no XCC e 14ª no XCO, e coroando o ano como Campeão Geral do WTR (World Trail Races). Alicia Gomes (Infanto-Juvenil): Aos 12 anos, em seu segundo ano na categoria, Alicia é bicampeã XCO Taça Brasil – FECIERJ e bicampeã Estadual de XCM – FECIERJ. Na CIMTB 2025, conquistou o 4º lugar no XCO e 5º no XCC. Seu desempenho no cenário nacional foi reforçado pelo 4º lugar no Campeonato Brasileiro de XCO e um promissor 10º lugar no Campeonato Pan-Americano de XCO na Costa Rica. Pedro Ferri (Infanto-Juvenil): Em seu primeiro ano na categoria Infanto-Juvenil, Pedro já é tricampeão paulista de XCO e brilhou internacionalmente com um 4º lugar no Pan-Americano de XCO na Costa Rica. _________________________________________________________________ Olhando para o Futuro: Fortalecimento feminino e novidades em 2026 A equipe reafirma seu compromisso com o desenvolvimento da base, com um olhar estratégico para o futuro do esporte e a formação integral desses jovens atletas. Um dos pilares centrais do projeto é o fortalecimento e a visibilidade das mulheres no mountain bike, criando um ambiente de oportunidades e incentivo para que mais talentos femininos emerjam e alcancem cada vez mais espaço no cenário esportivo. "Acreditamos que o futuro do MTB brasileiro passa por investir em nossos jovens, e os resultados desta temporada são a prova de que estamos no caminho certo", comenta a manager da equipe, Ana Baeta. "É emocionante ver o crescimento e a dedicação de cada um, especialmente das nossas atletas, que estão voando cada vez mais longe e inspirando uma nova geração." O time promete novidades para 2026, com anúncios que certamente trarão ainda mais impulso e oportunidades para o desenvolvimento de jovens talentos. A expectativa é que o próximo ano consolide ainda mais a equipe como um dos principais projetos de formação no cenário do mountain bike, projetando atletas para o pódio nacional e internacional.
-
Trek Brasil e Liquid I.V. lançam desafio de ciclismo no Strava: pedale 400km em 28 dias, concorra a uma viagem Trek Travel e descontos Liquid I.V.
Ação incentiva a prática de ciclismo, promove comunidade, destaca a importância da hidratação funcional e premia o esforço dos atletas com benefícios exclusivos A Trek Brasil, em parceria com a Liquid I.V.® - marca da Unilever, que é líder em hidratação funcional nos Estados Unidos*- anuncia o lançamento de um desafio exclusivo no Strava, convidando ciclistas de todo o Brasil a pedalar 400km em um período de 28 dias. Com início em 6 de outubro e encerramento em 2 de novembro de 2025, a campanha busca motivar a prática regular de atividade física, fortalecer a comunidade de ciclistas e oferecer incentivos tangíveis para quem se dedicar ao percurso. O Desafio “Trek+Liquid I.V. 400 – Pedale Mais Longe” é voltado a atletas de todos os níveis que desejam estabelecer uma meta desafiadora, impulsionando a consistência e o engajamento com o universo do ciclismo. Para participar, o atleta deve registrar suas atividades no Strava dentro do período estipulado e alcançar a marca de 400km. Além do desafio em si, a iniciativa oferece benefícios reais, incluindo um cupom de 20% de desconto na Liquid I.V., válido para compras online, além de uma oportunidade única de ganhar um voucher de US$4.500 para viagens da Trek Travel, por meio de sorteio exclusivo para os participantes que concluírem o percurso. “Ver essa parceria com Strava e Trek ganhar vida é a realização de um sonho. Juntas, essas marcas compartilham o compromisso de incentivar pessoas a se movimentarem mais, com consistência e bem-estar — e é exatamente aí que a Liquid I.V.® entra. Mais de 70% das pessoas sentem sintomas de desidratação, mas muitas ainda não sabem quando ou por que usar um suplemento. Queremos descomplicar esse hábito e oferecer uma solução prática, eficaz e acessível, que acompanha o ritmo acelerado do brasileiro, não só em momentos de alta performance, mas em todos os momentos da rotina.” afirma Fernanda Fischer, Líder de Liquid I.V. no Brasil. Para participar, o atleta deve se inscrever no desafio oficial no Strava, juntando-se ao clube oficial da campanha, e registrar suas atividades durante as datas de 6 de outubro a 2 de novembro de 2025. O regulamento completo, com detalhes sobre regras, critérios de elegibilidade, validade do desconto e regras do sorteio, está disponível no link Trek Bikes. “O objetivo do desafio é incentivar cada ciclista a superar seus próprios limites, criar uma rotina de treinos e celebrar a paixão pelo ciclismo. Ao mesmo tempo, buscamos fortalecer nossa comunidade de atletas que compartilham essa paixão, proporcionando prêmios que incentivam ainda mais a prática constante”, diz Júlia Freitas, Marketing da Trek Brasil. Ao concluir o percurso de 400km, o participante receberá automaticamente o código para o cupom de 20% de desconto na Liquid I.V.® e concorrerá a um sorteio de um voucher de US$4.500, que poderá ser utilizado em viagens, experiências e aventuras oferecidas pela Trek Travel. Os vencedores do sorteio, também, receberão um kit exclusivo de Liquid I.V.®. Mais informações, inscrições e o regulamento completo estão disponíveis na landing page oficial: link aqui.
-
Brasil Ride Bahia: Sete Dias de Superação e Emoção na bike
Participar da Brasil Ride Bahia é mais do que encarar uma prova de MTB, é viver uma verdadeira expedição de resistência, estratégia e emoção. Sete dias consecutivos pedalando pelos cenários cabulosos entre as cidades de Guaratinga e Arraial d’Ajuda, enfrentando todo tipo de terreno, clima e sensação possível. A cada etapa, a prova te coloca diante de um novo desafio: subidas intermináveis, trilhas técnicas, descidas que exigem confiança total na bike e em si mesmo. O corpo sente, a mente duvida, mas a alma vibra, porque é ali, entre o cansaço e a conquista, que você entende o verdadeiro significado de superação. As distâncias diárias variam, em média, entre 60 e 140 km, acumulando altimetrias que chegam a 12mil metros no total dos dias. O acampamento se transforma em um pequeno vilarejo de ciclistas de todo o mundo, compartilhando resenhas, risadas e dores parecidas. O calor baiano, a poeira, na maioria das vezes a chuva, lama e as longas horas em cima da bike fazem parte do pacote, e é exatamente isso que torna a Brasil Ride uma das provas mais duras do mundo, digo isso porque já tenho muitas provas no currículo. Mas não é só sofrimento, o visual, as serras da Chapada, os vilarejos coloridos, as matas e o sorriso acolhedor das pessoas pelo caminho fazem você lembrar por que ama esse esporte. E quando você cruza a linha de chegada no último dia, não é apenas o fim de uma prova. É o fechamento de um ciclo de autoconhecimento, resiliência e superação. A Brasil Ride é o tipo de desafio que leva você a se descobrir do que é capaz! Fotos:Alemão SilvaNey Evangelista
-
Itaú BBA IRONMAN 70.3 Florianópolis faz sua estreia como Campeonato Latino-Americano da modalidade
A etapa será no dia 26 de outubro, reunindo profissionais e amadores A edição de 2025 do Itaú BBA IRONMAN 70.3 Florianópolis chega repleta de novidades. Após abrir a temporada por cinco anos consecutivos, desta vez a etapa será realizada no segundo semestre, mais precisamente no dia 26 de outubro, novamente na bela Praia dos Ingleses. Ela contará com triatletas profissionais, tornando a disputa pela vitória ainda mais emocionante. A grande atração, no entanto, diz respeito ao seu status, pois será válida pelo Campeonato Latino-Americano de IRONMAN 70.3. Isso significa mais vagas para os amadores e profissionais, além de uma premiação em dinheiro maior para atletas da Elite. Com tantas novidades, a expectativa é bastante positiva quanto ao elevado nível técnico. O Itaú BBA IRONMAN 70.3 Florianópolis Latin American Championships 2025 irá classificar atletas para o IRONMAN 70.3 World Championship 2026, em Nice, na França. Haverá 80 vagas para amadores, além das seis vagas para profissionais, com três disponíveis no masculino e três no feminino. Os profissionais ainda terão uma premiação em dinheiro de 50 mil dólares, que será dividida entre os mais bem colocados. A disputa é considerada uma das melhores do circuito, segundo os próprios triatletas. O evento tem sido avaliado positivamente a cada edição. Em 2023, por exemplo, foi premiado em categorias importantes, como melhor prova, melhor ciclismo e mais recomendado da América, com aprovação de cerca de 94% dos competidores. O Brasil dominou todas as edições. Nos dois primeiros anos, os vencedores foram Igor Amorelli e Pâmella Oliveira. Já em 2022, 2023 e 2024, a competição contou apenas com atletas amadores, tendo como vencedores Patrícia Mendes Franco, por três vezes, José Belarmino, duas, e Fellipe Santos, no ano passado. A programação oficial terá início no dia 23, com a abertura do IRONMAN Village e a entrega de kits, no Oceania Park. No dia 25, às 8 horas, será a vez do Itaú BBA IRONKIDS e, um pouco mais tarde, a partir das 10h30, ocorrerá a coletiva com os destaques profissionais, no Centro de Convenções do Oceania Park. O Itaú BBA IRONMAN 70.3 Florianópolis é organizado pela Unlimited Sports, com o Title Sponsor Itaú BBA; patrocínio do Governo de Santa Catarina, da Prefeitura de Florianópolis, da Fesporte e das empresas Track&Field, Vivo, La Roche-Posay, Dorflex, Etapp, SOS Cardio, Omint e Arjon; co-patrocínio de Dux, Volvo, Felt, Blue 70, PACCO, Oakberry, Boali e apoio de Tachão Ubatuba, Paçoquita e Sococo. Programação Endereços: — Oceania Park Hotel (IRONMAN Village, transição e chegada) — Rua do Marisco, 550 — Ingleses — Praia dos Ingleses (largada natação) — acesso pela R. das Gaivotas, 312 | Posto de Guarda Vidas 02 23 de outubro HORÁRIO ATIVIDADE LOCAL 14h – 19h - IRONMAN Village - Centro de Convenções - Oceania Park 14h – 18h - Entrega de kits com horário agendado - IRONMAN Village 24 de outubro 9h – 19h - IRONMAN Village - Centro de Convenções - Oceania Park 9h – 18h - Entrega de kits com horário agendado - IRONMAN Village 16h – 17h - Plantão de Dúvidas sobre o Congresso Técnico - SAC (IRONMAN Village) 25 de outubro 8h - IRONKIDS - Oceania Park 8h30 – 19h - IRONMAN Village - Centro de Convenções - Oceania Park 8h30 – 12h - Entrega de kits com horário agendado - IRONMAN Village 10h - Congresso Técnico Obrigatório e Exclusivo para Atletas PRO - Centro de Convenções - Oceania Park (térreo) 10h30 - Coletiva de Imprensa - Centro de Convenções - Oceania Park (térreo) 12h – 13h - Plantão de Dúvidas sobre o Congresso Técnico - SAC (IRONMAN Village) 13h30 – 18h30 - Bike check-in - de acordo com nº de peito * Atletas profissionais em qualquer horário do intervalo - Transição (Oceania Park) 26 de outubro 5h -6h30 - Acesso dos Atletas à Área de Transição - Transição (Oceania Park) 6h30 - Largada Elite Masculina - Praia dos Ingleses 6h35 - Largada Elite Feminina - Praia dos Ingleses 6h45 – 7h - Largada Amadores | Revezamento - Rolling Start - Praia dos Ingleses 8h – 16h - IRONMAN Village - Centro de Convenções - Oceania Park 11h - Premiação Top 3 Geral - Masc. e Fem. - Chegada (Oceania Park) 13h – 16h - Bike Check-Out / Achados e Perdidos - Transição (Oceania Park) 18h – 18:45 - Resultado Oficial / Contestações - Oceania Park Hotel 19h - Premiação Top 5 por categoria e TriClubs - Oceania Park Hotel 20h - Cerimônia de Rolagem de Vagas - Mundial 2026 - Oceania Park Hotel *Programação sujeita à alteração até a exibição do Congresso Técnico online. Campeões do Itaú BBA IRONMAN 70.3 Florianópolis: 2024 – Felipe Santos (BRA) e Patrícia Mendes Franco (BRA) 2023 – José Belarmino de Souza (BRA) e Patrícia Mendes Franco (BRA) 2022 – José Belarmino de Souza (BRA) e Patrícia Mendes Franco (BRA) 2019 – Igor Amorelli (BRA) e Pâmella Oliveira (BRA) 2018 – Igor Amorelli (BRA) e Pâmella Oliveira (BRA) Credenciamento de Imprensa: https://www.presskit.net.br/c/61Gldg6Qgh7coN Mais informações no site www.ironmanbrasil.com.br. Assessoria de Imprensa e Consultoria de Comunicação: MBraga Comunicação – Marcelo Eduardo Braga – Mtb 18324 Fone: (11) 98266-6086 / E-mail: mbragacom@mbragacom.com.br
-
26ª Volta Ciclística de Santa Catarina começa nesta quarta-feira (8), e retoma um dos mais tradicionais eventos esportivos do estado
Após quase uma década, o evento volta ao calendário internacional com chancela da UCI America Tour, reúne atletas de sete países e transforma Santa Catarina em vitrine mundial do ciclismo e do turismo esportivo - Foto: Divulgação/Volta Ciclística de Santa Catarina Depois de quase uma década, a Volta Ciclística de Santa Catarina retoma seu brilho no calendário nacional e internacional. A 26ª edição do evento retoma o status de uma das provas mais importantes do ciclismo brasileiro e sul-americano. A partir desta quarta-feira (8), com o início da competição, até domingo (12), Santa Catarina será o centro das atenções do ciclismo mundial ao reunir 21 equipes de sete países. O estado será um grande palco de superação, velocidade e integração entre esporte e turismo. Com chancela da UCI America Tour, na categoria 2.2 internacional, a 26ª edição soma pontos para o ranking das Américas e confirma o retorno de Santa Catarina ao circuito global do ciclismo de estrada. Mais do que uma competição, a Volta Ciclística de Santa Catarina será um cartão-postal em movimento. Isso porque, além da força e disputa entre os atletas, vai reunir belezas naturais, culturais e gastronômicas do estado. São cinco etapas entre a serra ao litoral, passando por vinícolas, vales e cidades históricas. A edição 2025 contará com equipes de ponta da América do Sul e da Europa. Da Bolívia, participa o Pio Rico Cycling Team; do Chile, o Plus Performance Zeo Sport; da Colômbia, o prestigiado Team Medellín EPM; da França, o Eurocyclingtrips – CCN; do Paraguai, a Selección Nacional de Paraguay; e do Uruguai, o tradicional Club Náutico Boca de Cufré. Força nacional e catarinense confirmadas na Volta SC 2025 O Brasil estará amplamente representado na 26ª Volta Ciclística de Santa Catarina, reunindo equipes de todas as regiões do país e destacando a potência do ciclismo catarinense. Entre os confirmados, estão a ACRS Cycling Team/Royal Ciclo/Audax, de Rio do Sul — atual líder do ranking nacional — e o Avaí F.C. – FME Florianópolis – APGF, tradicional representante da capital. Também compõem o pelotão Soul Extreme Racing (Itajaí), Associação Pedala Itapema, Indaiatuba Cycling Team, Pindamonhangaba Cycling Team, Taubaté Cycling Team/Tarumã/Araújo Simão, Swift Pro Cycling, AGI Cycling Team, São José Ciclismo e Secel Jaraguá do Sul, além das seleções Catarinense, Gaúcha e Paranaense. Por onde passa a Volta Ciclística A competição contempla cinco etapas oficiais e uma programação especial em Florianópolis, totalizando 584 quilômetros e 14 mil metros de altimetria acumulada. O percurso desafia até os mais experientes ciclistas e encanta os espectadores pela variedade de cenários. A programação oficial começa ainda nesta terça-feira (7), em Nova Veneza, na região sul de Santa Catarina, com a recepção das equipes e o Congresso Técnico. Nesta quarta (8), é de bike na estrada. A primeira etapa leva o pelotão de Nova Veneza a Urubici, no Planalto Serrano, com largada às 13h e o desafio monumental da Serra do Rio do Rastro, uma das subidas mais icônicas e fotografadas do mundo. No dia seguinte, quinta-feira (9), a etapa tem percurso de Lages a Urubici, cruzando as florestas de araucárias, os campos de altitude e as tradicionais fazendas da Coxilha Rica, região que carrega as raízes tropeiras e a alma da serra catarinense. Na sexta-feira (10), os ciclistas encaram a etapa de montanha entre Urubici e Urupema, a cidade mais fria e elevada do Brasil, também no Planalto Serrano Catarinense. No sábado (11), a caravana da Volta Ciclística de Santa Catarina chega ao litoral norte com a etapa Balneário Camboriú – Nova Trento, passando por cidades que representam o dinamismo e a prosperidade do estado, com chegada na subida do Santuário Nossa Senhora do Bom Socorro, ponto alto da fé e da superação. O encerramento, no domingo, 12 de outubro, promete um grande espetáculo na capital catarinense. Em Florianópolis, a largada será na Ponte Hercílio Luz e a chegada na Beira-Mar Norte, reunindo milhares de torcedores em uma verdadeira celebração do ciclismo e da vida ao ar livre. A etapa final será uma grande festa popular, que une esporte, cultura e entretenimento. Além da prova profissional, a capital receberá a Etapa Amadora e Kids, com largadas a partir das 7h, em homenagem ao Dia das Crianças. A arena da Volta Ciclística de Santa Catarina terá espaços de convivência e bem-estar, atividades esportivas para toda a família, clínicas de ciclismo infantil e ações de sustentabilidade e inclusão. A proposta é que o público viva o evento de forma completa, seja torcendo, pedalando ou participando. Turismo Esportivo Mais do que uma competição, a Volta Ciclística de Santa Catarina se consolida como uma poderosa ferramenta de turismo esportivo, ao movimentar hotéis, restaurantes, produtores locais e toda a cadeia de serviços nas regiões por onde passa. Estima-se que a prova gere centenas de hospedagens e refeições diárias, fortalecendo a economia e impulsionando o nome de Santa Catarina como destino internacional de experiências ao ar livre. Cada etapa é uma vitrine do que o estado tem de melhor: as vinícolas de altitude e o charme serrano de São Joaquim e Urubici, a tradição italiana de Nova Veneza, o turismo religioso e cultural de Nova Trento, o potencial urbano e gastronômico de Balneário Camboriú, e o encanto natural de Florianópolis, cidade que encerra a Volta com a força simbólica de quem une o mar e a montanha em uma mesma paisagem. Como assistir a Volta Ciclística O público poderá acompanhar toda a emoção da competição ao vivo, com transmissões diárias e bastidores disponíveis em múltiplas plataformas. As provas terão cobertura em tempo real a partir de 15 minutos antes de cada largada, com atualizações de resultados, entrevistas e conteúdos exclusivos nos canais oficiais: pelo site www.voltasc.com.br, pelo Instagram @voltaciclisticasc e pelo canal do YouTube youtube.com/@VoltaCiclisticaSC, que transmitirá as principais etapas e os momentos decisivos da corrida. A 26ª Volta Ciclística de Santa Catarina é uma realização da AACESC, da Confederação Brasileira de Ciclismo (CBC) e da Federação Catarinense de Ciclismo (FCC), com o apoio da Fesporte e do Governo do Estado de Santa Catarina, e integração direta com o calendário da UCI America Tour. Mais do que o retorno de uma competição histórica, o evento representa o reencontro de Santa Catarina com sua vocação para o esporte, o turismo e a hospitalidade. A Volta Ciclística de Santa Catarina 2025 é uma realização da AACESC, Grupo Corre Brasil, Fesporte, Governo de Santa Catarina, UCI America Tour, Confederação Brasileira de Ciclismo e Federação Catarinense de Ciclismo. O evento conta com o patrocínio da Soul Cycles, RVB, Garmin, Disauto, AUNNA, Free Force, Shimano, Nathor Bicicletas, Powerade, Água Crystal, Monster Energy, Shokz, Mormaii, Santuá Cycling e VZAN.
-
Por que saber treinar e suplementar na Zona 3 é um diferencial?
Muitos ciclistas focam nas zonas de treino mais conhecidas: a de intensidade baixa (zona 2, o famoso "treino aeróbico") ou a de alta intensidade (zonas 4 e 5, o treino intervalado). No entanto, ignorar a Zona 3 pode ser um erro que compromete seu desempenho. Saber como treinar e, principalmente, como se suplementar nessa intensidade, é um verdadeiro diferencial. Mas por que? A "zona cinza" do treinamento A Zona 3 é frequentemente chamada de "grey zone" ou "zona cinza" por um bom motivo. Ela é o ponto de transição entre o treino aeróbico (usando principalmente gordura como combustível) e o anaeróbico (dependendo quase que exclusivamente de carboidratos). Isso significa que, nessa intensidade, seu corpo não está mais em um estado de baixo esforço, nem em um esforço máximo. Ele começa a depender mais de carboidratos para gerar energia, mas ainda está processando gordura. Essa “confusão metabólica”, se não for bem gerenciada, pode levar a uma fadiga inesperada. Inclusive, muitos ciclistas saem para treinar em zona 2, mas não se dão conta que estão em treinos em zona 3 e isso, ao longo prazo, pode ser prejudicial inclusive para a recuperação e saúde do ciclista. Além disso, a "zona cinza" impõe um estresse considerável ao seu organismo, exigindo mais do seu sistema cardiovascular e muscular, o que pode comprometer sua recuperação se a estratégia não for a ideal. O impacto no seu corpo e o diferencial da suplementação Treinar nessa zona gera um estresse metabólico e muscular significativo. Isso quer dizer que seu corpo: Consome mais glicogênio (carboidratos armazenados); Produz mais ácido lático; Estressa mais o sistema nervoso central. Tudo isso, se não for bem gerenciado, pode levar à temida "quebrada" ou a uma fadiga precoce durante o seu treino. É aqui que a suplementação estratégica se torna seu maior aliado. O uso de suplementos com carboidratos (como géis ou bebidas esportivas) antes ou durante o exercício nessa intensidade é crucial. Essa estratégia permite que você mantenha os níveis de energia, prolongue a atividade e evite a queda de rendimento. Como você pode monitorar seu tempo na Zona 3 Para saber se você está passando o tempo certo nessa intensidade e garantir que a sua estratégia de treino e suplementação está funcionando, é fundamental monitorar seu esforço. A boa notícia é que a maioria dos aplicativos de monitoramento de treino, como Strava, Garmin Connect e TrainingPeaks, já faz isso para você. Um treinador certamente fará isso à fim de extrair a melhor relação e prescrição de treinos para a sua saúde e desempenho. Exemplo: Na figura 1 temos uma pedalada leve, na figura 2 uma pedalada em ritmo moderado, que exige uma concentração maior em suplementação Esses aplicativos usam dados de frequência cardíaca ou potência para categorizar o tempo que você passa em cada zona de intensidade. Ao final de um treino, basta olhar o gráfico de zonas de tempo para ver exatamente quanto tempo você ficou na Zona 3. Dica profissional: Para obter dados mais precisos, certifique-se de que a sua frequência cardíaca máxima ou o seu limiar de lactato (FTP) estejam configurados corretamente no aplicativo. Isso fará com que as zonas de treino sejam calibradas de forma específica para o seu corpo, e as informações de tempo na Zona 3 serão muito mais úteis. Dicas práticas: Suplementação na Zona 3 A suplementação de carboidratos por hora é uma das estratégias mais eficazes para treinos na Zona 3, já que seu corpo está queimando mais glicogênio. Então, lembre-se que se o seu intuito no treino é acompanhar o pelotão mais forte ou “forçar” o Z2, a suplementação aqui pode ser muito útil! O objetivo é manter os níveis de energia estáveis, evitando a fadiga e a queda de desempenho. 1. Quanto consumir? A recomendação geral é consumir entre 30g a 60g de carboidrato por hora de exercício. Essa quantidade é ideal para treinos de 1 a 2 horas. Para esforços mais longos, a quantidade pode ser maior, mas para o contexto da Zona 3, essa faixa é um excelente ponto de partida. 2. O que usar? Os suplementos mais práticos são os géis de carboidrato ou bebidas esportivas. Os géis são concentrados e fáceis de carregar, enquanto as bebidas também ajudam na hidratação. Uma combinação dos dois pode ser perfeita. 3. Quando consumir? A suplementação deve ser iniciada logo nos primeiros 20-30 minutos de atividade. Não espere sentir a fadiga – erro comum. Sentiu fadiga quer dizer que o seu corpo já está com baixa reserva de energia. Depois, continue consumindo a cada 30-45 minutos para manter um fluxo constante de energia. Em resumo, a Zona 3 é aquela zona ignorada e muito acessada muitas vezes sem nem percebermos. Entender as demandas do seu corpo nessa intensidade e usar a suplementação e o treino a seu favor pode ser o que você precisa para alcançar um novo nível de desempenho.
-
Serra Negra (SP) é o novo palco do L'Étape Brasil by Tour de France presented by Nubank
Prova está marcada para os dias 26 a 28 de junho do próximo ano no interior paulista Serra Negra (SP) foi anunciada como a nova sede do L'Étape Brasil by Tour de France presented by Nubank em 2026. O evento, considerado a maior prova de ciclismo amador da América Latina, levará ciclistas de todo o país a pedalar pelo tradicional Circuito das Águas Paulista, pretendendo passar também por Amparo, Lindóia e Monte Alegre do Sul. A prova está marcada para os dias 26 a 28 de junho do próximo ano, reforçando a conexão entre a tradição do Tour de France e os cenários do interior paulista. Serra Negra (SP) entra na lista de três etapas do L'Étape Brasil ao lado de Cunha (SP) e Campos do Jordão (SP). Os ciclistas amadores terão à disposição dois percursos: 56 quilômetros e 100 quilômetros, com altimetrias de 1.000m e 2.100 m de altimetria acumulada, respectivamente. ''Mais do que uma competição, o L'Étape Brasil em Serra Negra será uma oportunidade de viver o verdadeiro espírito do Tour de France: superação, companheirismo e celebração do ciclismo”, destacou a organização'', disse Bruno Prada, CEO do L'Étape Brasil by Tour de France presented by Nubank. O anúncio da mudança - antes a prova do meio do ano era no Rio de Janeiro (RJ) - reforça o papel do L'Étape Brasil by Tour de France presented by Nubank como um marco no calendário esportivo nacional. ''Estamos muito felizes em abrir este novo capítulo em Serra Negra. A cidade e a região oferecem infraestrutura e um cenário perfeito para proporcionar uma experiência épica aos ciclistas'', completou Bruno Prada. Neste fim de semana, a última prova de 2025 L'Étape Brasil by Tour de France presented by Nubank será Campos do Jordão (SP) A distância longa terá 107 km com elevação acumulada de 2.300m. A largada oficial será às 6h. No curto, os ciclistas percorrem 66 km e 1.300 m de altimetria acumulada com tiro de partida às 7h20. O L'Étape Brasil by Tour de France presented by Nubank é apresentado pelo Nubank via Lei de Incentivo ao Esporte e conta com apoio e patrocínio oficial de Vivo, Mitsubishi, Specialized e Yopp. O evento chegou ao Brasil em 2015 e, após cinco edições bem-sucedidas no interior de São Paulo, lançou em 2021 mais um evento no Rio de Janeiro (RJ). Em 2023, foi feita a adição de mais uma etapa no calendário, na conhecida Cunha (SP), que foi a primeira cidade-sede do evento no país. Com três eventos por ano, a marca se consolida como a maior prova de ciclismo da América Latina.
-
Parque Ecológico da Cachoeira se adapta para receber a CiMTB pela sexta vez em Congonhas
Pela quinto ano consecutivo sendo sede da competição no município (e a sexta vez na história), o local está pronto para receber os melhores atletas do Brasil e do mundoO Parque Ecológico da Cachoeira está pronto para receber nesta semana mais uma edição da Copa Internacional de Mountain Bike. Após sediar a primeira edição da prova no município em 2005 e ser sede do evento anualmente desde o ano de 2021, o balneário já está com sua paisagem alterada para a disputa da CiMTB, que acontece pela 20ª vez em Congonhas (MG), este ano entre os dias 26 e 28 de setembro.Tal qual em 2024, a maior parte da arena se concentra logo no começo do Parque, alteração que dá segurança e conforto para todos os participantes das provas de mountain bike da CiMTB. A estrutura do evento, que envolve o bolsão de largada, pórtico de chegada, cronometragem, arbitragem, produção de ao vivo, secretaria, dispersão, área de expositores e alimentação, Suporte Neutro Shimano, Lava-Bike, Posto Médico, Mundo da Criança e Pista Kids, Palco Musical e pódio, está mais uma vez concentrado no campo de futebol e suas proximidades.Entrada gratuita no parque durante o eventoAberto ao público sempre entre terça a domingo, com cobrança de entrada que varia entre 4 e 20 reais, dependendo do dia da semana ou da ocasião, o Parque Ecológico da Cachoeira será palco pelo quinto ano consecutivo da CiMTB. Durante o final de semana da competição, a entrada será gratuita para todos: atletas, familiares, expositores e visitantes.Área de Camping disponível Seguindo o que ocorreu nas últimas edições do evento no local, a área de camping estará disponível para os interessados em se hospedar no Parque Ecológico da Cachoeira. As diárias são cobradas por pessoa e também para o motorhome (em caso de utilização do veículo). Os interessados deverão entrar em contato com o Parque para reservar as vagas, que são limitadas, e também confirmar os preços, através do telefone 31-3732-0977.Abertura de piscinas e churrasqueiras durante a CiMTBAtendendo a pedidos, o Parque Ecológico da Cachoeira abrirá algumas de suas piscinas e churrasqueiras durante o fim de semana do evento, permitindo assim que os visitantes possam aproveitar a estrutura completa do local. Esta decisão beneficia principalmente os usuários rotineiros do Parque, que poderão ir ao local, utilizar as piscinas e churrasqueiras como já estão acostumados, e assistir de perto os melhores atletas do mundo competirem na CiMTB.Estacionamento no região parqueSerá permitido estacionar ao longo da via que leva ao parque, porém apenas em cima do passeio. O estacionamento do Parque da Cachoeira estará destinado a organização e autoridades. Há também um estacionamento particular ao lado do parque, que vai cobrar normalmente dos interessados em estacionar lá, como já é feito todos os anos.Inscrições em sua reta finalEncerra-se nesta terça-feira (23/9) o período de inscrições para esta que será a 20ª edição da CiMTB na "Cidade dos Profetas". Elas podem ser feitas no site do evento – www.cimtb.com.br – na aba “Faça já sua inscrição”, ou então diretamente no site do Ticket Sports: https://www.ticketsports.com.br/e/cimtb---copa-internacional-de-mountain-bike---congonhas-72944.A programação da CiMTB CongonhasEnquanto a quinta-feira (25) é reservada exclusivamente para a realização da Clínica Técnica da CiMTB, entre 10h e 16h, as atividades oficiais têm início na sexta-feira (26). Após a abertura da secretaria, que funciona das 8h às 18h, acontece o Congresso Técnico, a partir das 9h. Neste mesmo horário começa o treino oficial, para XCC, XCO e XCM, até às 13h30. As provas do XCC são atração da tarde, entre 14h e 17h, com sete largadas: Geral Feminina, Máster Masculina, Cadete Masculina, Teen Masculina, Júnior Masculina, Super Elite Feminina e Super Elite Masculina.A manhã de sábado (27) tem duas largadas exclusivas do XCO, com as bikes elétricas competindo a partir de 8h20 e as categorias de base masculinas - Júnior, Sub-17, Sub-15 e Sub-12 - com sua largada às 10h20. À tarde, a partir de 14h, é a vez das 16 categorias da Maratona: E-Bike Young e Sênior Masculina, E-Bike feminina, Expert, Cadete, Master, Segurança Pública, Veterano, Peso Pesado, PcD, Duplas (Masculina e Feminina/Mista), Open Feminina, Sênior Feminina, Turismo e Hand Bike.No domingo (28), o dia é focado no XCO, além da realização da Kids, atração que tem início às 11h15. Às 8h largam as categorias Sub-55, Sub-60, Sub-65, Over-65, Sub-70, Over-70, OPEN do XCO. Às 10h é a vez dos atletas das categorias Sub-30, Sub-35, Sub-40, Sub-45, Sub-50. 12h acontece a largada exclusiva das mulheres: Super Elite (Elite + Sub23), Júnior, Sub-17, Sub-15, Sub-40, Sub-50, Over-50, Sub-12. E, às 14h, a última bateria, com a Super Elite Masculina (Elite + Sub-23).A história da Copa InternacionalA organização da CiMTB realizou sua primeira prova em 1996. Desde então, vem inovando e contribuindo ativamente para o crescimento e fortalecimento do mountain bike e o mercado de bicicletas no Brasil. Contando pontos para o ranking mundial da União Ciclística Internacional (UCI) desde 2004, a CiMTB tem sido seletiva para os Jogos Olímpicos nos ciclos de Pequim 2008, Londres 2012, Rio 2016, Tóquio 2020 e Paris 2024, e, partir do próximo ano, pontuará também para Los Angeles 2028.Em 2022, a CiMTB aumentou ainda mais sua relevância internacional, com a realização da etapa de abertura da Copa do Mundo Mercedes-Benz de Mountain Bike 2022, em Petrópolis, já em 2024 organizou a etapa de Araxá da WHOOP UCI Mountain Bike World Series. Além disso, foi responsável pela construção da pista de mountain bike dos Jogos Olímpicos Rio 2016, considerada uma das melhores da história dos Jogos desde 1996, primeiro ano do MTB em Olimpíadas.Mais informações sobre a CiMTB:Site: https://www.cimtb.com.brInstagram: http://www.instagram.com/cimtbFacebook: http://www.facebook.com/cimtb/Twitter: http://www.twitter.com/cimtb_oficialThreads: https://www.threads.net/@cimtbTikTok: https://www.tiktok.com/@cimtboficialFlickr: https://www.flickr.com/photos/cimtb/albums/Assessoria de ImprensaGustavo Coelhopress@cimtb.com.br
-
Gabriela Ferolla vence o Iron Biker Brasil 2025
Em percurso desafiador, atletas desbravam mais de 140km de trilhas pelos distritos da cidade de Mariana (MG) A 32ª edição do Iron Biker Brasil chegou ao fim com mais um capítulo histórico. O evento, realizado nos dias 12, 13 e 14 de setembro em Mariana, Minas Gerais, reuniu cerca de 1.700 atletas de diversas partes do país. O clima de emoção e adrenalina tomou conta dos ciclistas, que desbravaram as trilhas da primeira capital de Minas Gerais em dois dias de prova. Na categoria elite masculina, Diogo Nascimento, de Manhuaçu (MG), e Edson Rezende, de Lavras (MG), travaram uma batalha duríssima. O atleta manhuaçuense levou a melhor, terminando a competição com cerca de três minutos de diferença para o segundo colocado. Após a prova, Diogo celebrou a vitória. “Foi tudo incrível e único para mim. É satisfatório ser o grande campeão dessa maratona, que é tão difícil e que exige tanto de nós, atletas. Foi um percurso muito pesado, mas consegui me destacar logo na primeira subida. Foi um misto de emoções até por tudo que passei em minha vida”, disse. Pela categoria feminina, Gabriela Ferolla, de Belo Horizonte (MG), que havia vencido o primeiro dia de prova, manteve o ritmo e conseguiu terminar a competição na primeira colocação geral feminina. “O Iron Biker Brasil é sensacional. É uma maratona que todo atleta quer competir, com um percurso bastante desafiador. Fiquei bem feliz com o resultado. Me sinto realizada por ter terminado em primeiro”, ressaltou. Economia fortalecida Seja no setor hoteleiro, seja em comércios, bares ou restaurantes, toda a sociedade local éimpactada positivamente com a realização da maior prova de mountain bike da América Latina. Quem reforça essa ideia é Wanderley Muller, um dos sócios do Hotel Muller. “Mariana, hoje, é a capital nacional da modalidade. Isso é uma coisamuito boa, muito bonita, muito grandiosa. É um evento inteligente e uma das poucas atrações turísticas que deixam o dinheiro dentro do município. O ciclista que vem tem que participar da cidade, tem de viver o local. Esperamos o Iron Biker Brasil sempre com muita ansiedade”, finalizou. Na mesma linha, o morador de Mariana, Thiago Morais, afirma que fica satisfeito em ver a cidade movimentada durante os dias de prova. “É uma competição bacana e que movimenta muito Mariana. Gera aumento de ocupação nos hotéis e pousadas, aumenta o movimento de bares, das lojas, aumentam as vendas de comidas típicas e de produtos locais. A cidade fica lotada. E todo ano a gente conta com este atrativo. Além, claro, de reforçar a bela imagem do nosso município para o mundo. Mariana é bela, grandiosa, e o Iron Biker Brasil nos ajuda a fortalecer o que temos de melhor”. Solidariedade Além da emoção nas trilhas, o Iron Biker Brasil 2025 destacou-se pela solidariedade. Foram arrecadados aproximadamente 3 mil quilos de alimentos, como arroz, feijão, óleo e leite, destinados para entidades sociais de Mariana. “Ver essa participação é emocionante, saber que o evento vai além das competições e faz diferença na vida de tantas pessoas é uma sensação de dever cumprido”, destacou Lucas Fonda, um dos organizadores da prova. Iron Biker Brasil 2026 As inscrições para o Iron Biker Brasil 2026 já estão abertas, mas neste primeiro momento, exclusivas para os atletas inscritos na prova deste ano. A competição, que será realizada nos dias 11, 12 e 13 de setembro, em Mariana, Minas Gerais, celebrará 33 anos de história, consolidando-se como o maior evento de mountain bike da América Latina. Para mais detalhes e atualizações, acesse o site oficial: ironbiker.com.br. Confira os 5 primeiros pela Elite Masculina 1º - Diogo Nascimento – Manhuaçu (MG) – Tempo total: 5h36min33seg2º - Edson Rezende – Lavras (MG) – Tempo total: 5h39min34seg3º - Nicolas Romão – Patrocínio (MG) – Tempo total: 5h45min22seg4º - Ygor Castro – Manhuaçu (MG) – Tempo total: 5h51min56seg5º - Thiago Freitas – Mariana (MG) – Tempo total: 6h02min59seg Confira as 5 primeiras pela Elite Feminina 1ª - Gabriela Ferolla – Belo Horizonte (MG) – Tempo total: 7h08min01seg2ª - Liege Walter – Mariana (MG) – Tempo total: 7h19min45seg3ª - Zelina Rocha – Caratinga (MG) – Tempo total: 8h04min36seg4ª - Victoria Carvalho – Mariana (MG) – Tempo total: 8h28min13seg5ª - Cláudia Lima – Brasnorte (MT) – Tempo total: 8h44min03seg. Fotos: Ane Souz
-
Você sabe como fazer o carb loading para o longão? O famoso “carbar”
Sabe aquela sensação de cansaço que chega no meio do seu treino longo? Pernas pesadas, energia baixa, vontade de parar? Se você já passou por isso, sabe como um treino bem planejado faz a diferença. E o planejamento passa de equipamento, preparo da bike, vestuário, como também da sua nutrição. Para um treino longo te trazer boas experiências, a chave não está apenas no dia do treino longo, mas na sua preparação nos dias que a antecedem. É aí que entra o famoso carbo loading, ou "carga de carboidratos". O que é carbo loading? Carbo loading é uma estratégia nutricional simples: aumentar a ingestão de carboidratos nos dias que antecedem um evento de Endurance. Lembrando que um treino longo de Endurance pode ser considerado treinos acima de 90 minutos para quem está começando e acima de 120 minutos para quem está mais condicionado. O objetivo desta carga de carboidratos é encher os estoques de glicogênio (energia) nos seus músculos e fígado. A ideia é garantir que você tenha combustível (energia) suficiente para aguentar a distância sem “quebrar” no treino. Certamente administrar o ritmo também ajuda, mas a nutrição é um fator limitante exclusivo em treinos longos. Como fazer o carbo loading? Apesar do nome "loading" (carregando), a estratégia não é comer tudo o que vê pela frente. O ideal é começar a aumentar o consumo de carboidratos de dois a três dias antes do treino longo. Escolha os carboidratos certos: Prefira fontes saudáveis, como arroz integral, batata-doce, aveia, pães integrais e macarrão. Evite açúcares simples e alimentos ultraprocessados, que podem causar picos de glicemia e desconforto gastrointestinal. Aumente a porção: Não é preciso comer em excesso, apenas adicionar uma porção maior de carboidrato em cada refeição. Por exemplo, troque a salada por um prato com mais massa ou adicione uma batata-doce no almoço. Pode até reduzir proteínas para manter a ingestão calórica similar. Reduza as fibras: Nos dias imediatamente antes do longão, diminua a quantidade de fibras. O excesso de fibras pode causar desconforto e gases durante a corrida. Opte por arroz branco em vez de integral. Beba bastante água: A hidratação é crucial. Para cada grama de carboidrato armazenado, seu corpo retém cerca de 3 a 4 gramas de água, então mantenha-se bem hidratado. E na noite anterior devo fazer um reforço extra? Se você já consumir moderadamente mais carboidratos em sua dieta 2 a 3 dias antes você não precisará se encher de carboidratos na noite anterior, o que muitas vezes pode inclusive atrapalhar o sono! Mas claro, que a noite interior geralmente envolve o ritual de preparo para um treino importante ou mesmo uma prova, então a dica é sim priorizar uma refeição mais rica em carboidratos, e não necessariamente consumir um volume muito maior de alimentos do que o habitual. E no dia do treino? Na manhã do longão, faça uma refeição leve de 2 a 3 horas antes de começar. Foco em carboidratos de fácil digestão, como tapiocas, bananas, cuscuz, um pão com geleia e até mesmo arroz! Um exemplo de um dia de “carb loading” para vocês Café da manhã: Panqueca de aveia com frutas vermelhas. Lanche da manhã: Banana amassada com mel e aveia. Almoço: Arroz branco e filé de peixe pequeno assado com uma porção de abobrinha cozida. Lanche da tarde: Pão francês com geleia. Jantar: Risoto de frango (preparado com arroz branco, pouco frango e pouco queijo). Lembre-se: o carbo loading é apenas uma parte da sua preparação. Combine-o com uma boa noite de sono e um ritmo de treino adequado. Ao seguir essas dicas, você estará garantindo que seu corpo tem tudo o que precisa para um longão de sucesso! Você já pratica o carbo loading? Qual a sua estratégia favorita? Bônus: refeições da nutri preferidas carb loading Panqueca de banana com aveia Risoto de alho poró sem queijo Pão com banana, canela e pasta de amendoim
-
Sram apresenta grupo edição limitada 1987
A SRAM lançum um grupo com um sofisticado acabamento prateado O sucesso da SRAM começou em Chicago, em 1987, com a GRIP SHIFT! 38 anos depois, a equipe jamais poderia imaginar aonde a jornada os levaria e qual tecnologia SRAM seria usada nas bicicletas de hoje. A coleção limitada "Eagle Transmission 1987 Collection" pretende celebrar essa jornada incrível. O que a Coleção Eagle Transmission 1987 inclui? cassete mais leve (-25g em comparação com a XX SL)- câmbio traseiro da transmissão com detalhes prateados- corrente com logotipos "1987"- pedivelas prateados com base X0, medidor de potência e coroas prateadas em 32 e 34 dentes + ferramenta para remover as coroas- 2 controladores POD para incluir seu REVERB AXS ou Flight Attendant- 2 baterias- carregador de bateria SRAM maior para até 4 baterias
-
Setembro reserva grandes eventos no ciclismo paulista
Paulista de Montanha, Volta do ABC, Volta do Estado e GP Barueri animam os fãs da modalidade Ciclismo de alto nível e para todos os gostos é o que reserva o mês de setembro. A programação da Federação Paulista de Ciclismo, que está repleta de atrações nos quatro finais de semana, reúne alguns dos principais nomes do esporte no estado, no país e até do exterior. As disputas fazem parte das comemorações de 100 anos da entidade e nada melhor do que comemorar da maneira que todos gostam: pedalando. O primeiro deles é o Campeonato Paulista de Montanha, que ocorrerá no feriado de 7 de setembro, na cidade de Mairiporã, com dois percursos, de 29 km para Elite, Sub23 e Master masculinos, e de 5 km, para as demais categorias. A largada do percurso maior será na Estrada do Rio de Acima, enquanto a menor largará do Ginásio de Esportes Florêncio Pereira (Sarkizão), com ambos chegando ao Pico do Olho D’água. No dia 14, será a vez da 26ª Volta Ciclística Internacional do Grande ABCD, que contará pontos para os rankings estadual e nacional (Classe 3 da CBC). A prova percorre os sete municípios da região, com largada no Distrito de Paranapiacaba e chegada na Av. Ulisses Guimarães - Diadema, como cidade sede do evento, local da arena da prova e do circuito fechado. Elite Masculino, Sub 23 Masculino, Open Master Masculino e Júnior Masculino farão esse percurso, que totalizará 125 km, sendo 65 km percorridos através das vias que ligam Paranapiacaba e os demais 7 municípios, mais 30 voltas no circuito de 3 km/volta, na Av. Ulisses Guimarães, em Diadema. As demais 30 categorias do evento competirão apenas no circuito fechado em Diadema, conforme a programação da prova. Essas duas provas estão com inscrições abertas, somente online, no site https://seapp.link/fpc. A taxa de inscrição será a mesma para os três eventos, com valor de R$120,00 (cento e vinte reais) por ciclista. As categorias Masters Masculino e Feminino com a idade de 60 anos e mais terão 50% de desconto, ou seja, essas categorias terão a taxa no valor de R$60,00 (sessenta reais). No último fim de semana será a vez do GP Cidade de Barueri, que ocorrerá em um circuito fechado de 3 km montado na Avenida do Exército Brasileiro. A programação deverá ter início a partir das 8 horas para cerca de 31 categorias. A prova valerá pontos para o ranking estadual de estrada. As inscrições serão gratuitas nesta prova. Volta do Estado Após 11 anos, a Volta Ciclística Internacional do Estado de São Paulo está de volta. A competição ocorrerá entre os dias 17 e 21 de setembro, percorrendo 695 km, divididos em cinco etapas. A largada será no Palácio dos Bandeirantes, com chegada na Alesp. Participarão 20 equipes convidadas, entre nacionais e estrangeiras, valendo pontos para o ranking da CBC, Classe 2 A. Mais informações no site oficial, www.fpciclismo.org.br.
-
Comecei a pedalar – o que deve mudar na minha alimentação?
Começar a pedalar é incrivel, você se empolga, quer ajustar treino, escolher as maiores subidas, se desenvolver em distâncias e esforço. Mas, à medida que os quilômetros aumentam, uma pergunta se torna fundamental: "O que eu preciso ajustar na minha alimentação?" Mas calma, não se preocupe, você não precisa de uma dieta de atleta de elite. Afinal, a ideia é entender o ajuste da alimentação dentro da rotina pessoal de cada um, que muitas vezes envolve o trabalho, o desejo de reduzir o peso, de conquistar mais saúde e também de explorar o que a bike pode te entregar: experiências! Então, o segredo está em entender como o seu corpo funciona e dar a ele o combustível certo, na hora certa. A alimentação para o ciclista que está iniciando se divide primeiramente no básico essencial: o que comer antes, durante e depois de pedalar. 1. Pré-Pedal ou o Pré-Treino: Abastecendo o corpo O objetivo da refeição pré-treino é garantir que você tenha energia suficiente para a pedalada, sem sentir desconforto ou peso no estômago. A chave aqui são os carboidratos complexos, que liberam energia gradualmente. Muitas pessoas que treinam muito cedo preferem ir em jejum, esta é uma prática que a longo prazo pode desregular sua fome e saciedade, fazendo com que você compense a falta de energia consumida pela manhã e aumentando a fome de forma acentuada à tarde ou a noite. Então vamos as dicas: Pão integral, aveia, batata-doce, arroz integral: são ótimas fontes de energia de longa duração. Eles vão garantir que você não sinta uma queda brusca de energia no meio do caminho. Caso você tenha ao menos 1h de espaço entre a refeição e a pedalada pode ser uma ótima pedida. Já você que vai pedalar em até 45 minutos após o pré-treino opte por pão branco, batata inglesa, suco de uva, tapioca ou mesmo arroz branco. Combine com uma proteína leve (se for um treino mais longo): um ovo mexido, um iogurte natural, hommus se for vegetariano(a) ou um pouco de frango grelhado. A proteína ajuda a manter a sensação de saciedade! Mas claro, uma pedalada mais intensa pode ser uma boa ideia optar por não consumir a proteína aqui! Hidrate-se! Beba água antes de sair de casa. Comece o dia com um copo de água e beba pequenos goles até o momento de começar a pedalar. Evite: alimentos muito gordurosos ou ricos em fibras antes do treino, pois podem causar desconforto gastrointestinal. 2. Durante o Pedal ou Intra-Treino: Mantendo o Ritmo, evitando a fadiga Se o seu pedal for de curta duração (até 60 minutos), a água é suficiente. Mas se o treino for mais longo ou de alta intensidade, a reposição de energia se torna crucial para evitar a fadiga. Além disso pode ser ótimo consumir bebidas isotônicas ou cápsulas de sais minerais a cada hora Água é o seu melhor amigo: a hidratação é vital para o desempenho e para a saúde. Beba água em pequenos goles a cada 15-20 minutos. Não espere sentir sede para beber! Carboidratos de ação rápida: para pedais mais longos (acima de 90 minutos), é importante repor as energias. Géis de carboidrato, barras energéticas, frutas (como banana) ou até mesmo uvas-passas são excelentes opções. Eles são fáceis de carregar e de consumir enquanto você pedala. A dica aqui é: não espere a fome e o cansaço, consuma cerca de 1 gel ou 1 bananinha a cada 20 ou 30 minutos. Bebidas isotônicas: ajudam a repor os eletrólitos (como sódio e potássio) que você perde com o suor, prevenindo câimbras e mantendo o corpo funcionando bem. Você pode optar também usar 1 cápsula de sal por hora, garantindo ao menos 300mg de sódio por hora caso seja um treino acima de 90 minutos. A dica de ouro: leve sempre um lanchinho extra. Você nunca sabe quando a energia extra será necessária. 3. Pós-Pedal ou Pós-Treino: O Segredo é a Recuperação A refeição pós-treino é a mais importante, porque recuperar é o que garante que o sistema imunológico fique firme, também garante recuperação muscular e energia caso treine no dia seguinte. É nela que você vai reconstruir as fibras musculares e repor as reservas de energia para o próximo pedal. O foco é a combinação perfeita entre carboidratos e proteínas. Carboidratos (45 a 60 minutos após o treino): eles são essenciais para repor o glicogênio (energia armazenada nos músculos). Pães, batatas, macarrão, frutas e vegetais são ótimas opções. Para pessoas que não conseguem comer imediatamente após o treino pode ser um shake de frutas com iogurte ou até mesmo whey protein/proteína em pó, ou para um treino intenso o famoso Recovery ou R4 (que é um pó de carboidratos e proteínas utilizados para facilitar o consumo energético ideal para a recuperação imediata do treino). Proteínas: ajudam na recuperação e no crescimento muscular. Peito de frango, ovos, iogurte, leguminosas (feijão, lentilha) e shakes de proteína são escolhas inteligentes. Não se esqueça da hidratação: continue bebendo água para repor os fluidos perdidos. Em pedais longos pode ser interessante bebidas isotônicas ou mesmo a cápsula de sal novamente. Exemplos de refeições de recuperação: Iogurte com frutas e granola. Omelete com legumes e queijo. Salada com frango grelhado e batata-doce. Um bom shake de proteína com aveia, leite e frutas. Conclusão: Pequenos Ajustes, e temos um(a) novo(a) ciclista! Começar a pedalar e ajustar a alimentação pode parecer complicado, mas lembre-se: a evolução é gradual. Comece com pequenas mudanças na sua rotina e observe como o seu corpo reage. A alimentação é a sua principal aliada para ter mais energia, maior resistência, e uma recuperação mais rápida. O mais importante é ouvir o seu corpo, experimentar e descobrir o que funciona melhor para você. E aí, pronto(a) para pedalar com mais energia? E tem um bônus aqui no final. Um exemplo prático e simples como eu, Juliana, nutricionista e ciclista organizo um pré e pós-treino de uma pedalada longa praticamente com os mesmos alimentos Pré-treino: pão ou cuscuz, pouco hommus, café com leite e 1 banana Pós-treino: Cuscuz com ovo mexido, shake de morango, proteína em pó e banana
-
Circuito Itaú BBA IRONMAN 70.3 chega a São Paulo
Capital paulista recebe a competição pela quinta vez e terá estreia de profissionais As emoções do Circuito Itaú BBA IRONMAN 70.3 seguem no Sudeste. Depois da Cidade Maravilhosa, em agosto, agora será a vez da maior cidade América Latina receber a maior competição de triatlo de longa distância do mundo. O Itaú BBA IRONMAN 70.3 São Paulo será a atração no dia 21 de setembro, mais uma vez na Cidade Universitária de São Paulo – USP. A grande novidade deste ano será a estreia dos profissionais no percurso rápido e bastante técnico que caracteriza a prova paulistana. Os atletas terão pela frente os desafios de 1,9 km de natação na Raia Olímpica, 90 km de ciclismo passando por pontos turísticos da cidade e o trecho na Marginal Pinheiros, e 21,1 km de corrida dentro das ruas e alamedas da USP, com chegada na pista de atletismo do CEPEUSP. Com base nos desempenhos das etapas anteriores, a expectativa é de bons tempos e, quem sabe, quebra de recordes. A etapa classifica amadores e profissionais para o IRONMAN 70.3 World Championship 2026, que será realizado em Nice, na França, nos dias 12 e 13 de setembro de 2026. Serão 50 vagas para os amadores, 25 masculinas e 25 femininas, enquanto os profissionais terão quatro vagas, duas para os homens e duas para as mulheres. Os mais bem colocados da Elite ainda dividirão uma premiação de 15 mil dólares. A programação começa no dia 18 de setembro, com a abertura do IRONMAN Village e o começo da entrega de kits, agora montado em frente à praça da Reitoria. No sábado, dia 20, serão duas atrações: às 8h, mais uma edição do Itaú BBA IRONKIDS, na pista de atletismo do Cepeusp, e às 10h30, a Coletiva de Imprensa com destaques profissionais, no Palco de Premiação (Pista de Atletismo). Domingo, a largada será a partir das 5h50, na Raia Olímpica, e o pódio com os top 3 por volta das 10h30, na arena montada na Pista de Atletismo. A primeira edição do Itaú BBA IRONMAN 70.3 São Paulo foi em 2019. Retornou em 2022, após as restrições impostas pela pandemia. Nas quatro edições realizadas, os brasileiros não deram chances aos estrangeiros, vencendo todas. No masculino, José Belarmino venceu duas vezes, em 2019 e 2023, Felipe Bergamini ganhou em 2022, e Santiago Ascenço em 2024. Já no feminino, Fernanda Palma ganhou em 2019, Patrícia Franco foi a melhor em 2022, Carolina Carvalho levou a melhor em 2023 e Ana Laura Almeida no ano passado. O Itaú BBA IRONMAN 70.3 São Paulo é organizado pela Unlimited Sports, com Title Sponsor Itaú BBA, patrocínio da prefeitura de São Paulo, Secretaria de Esportes, Governo do Estado de São Paulo, Vivo, La Roche-Posay, Dorflex, Newon, Etapp, Omint e Arjon; copatrocínio de Dux, Granado, Volvo, Felt, Blue 70, Pacco, Oakberry e Boali, apoio da Tachão de Ubatuba, Paçoquita e Sococo. Programação Endereços: – Universidade de São Paulo – USP Portões de acesso: De quinta-feira a sábado: P1 (Portão 1) Domingo, de 0h até 13h: P3 (Portão 3) Domingo, após as 13h: P1 (Portão 1) – P1 (Portão 1): Praça Prof. Reynaldo Porchat, S/N. Ponto de referência – Rua Alvarenga com Av. Afrânio Peixoto (rua do Jockey). – P3 (Portão 3): Av. Corifeu de Azevedo Marques. Ponto de referência: Av. Corifeu de Azevedo Marques, 3067 (Entrada do Hospital Veterinário e Hospital Universitário da USP) – IRONMAN Village: em frente à Praça da Reitoria – CEPEUSP – Centro de Práticas Esportivas da Universidade de São Paulo – Transição e chegada (Pista de atletismo) – Natação (Raia Olímpica) 18 de Setembro HORÁRIO ATIVIDADE LOCAL 12h - 20h - IRONMAN Village - Em frente à Praça da Reitoria 12h – 19h - Entrega de Kits com horário agendado - IRONMAN Village 19 de Setembro HORÁRIO ATIVIDADE LOCAL 10h – 20h - IRONMAN Village - Em frente à Praça da Reitoria 10h – 19h - Entrega de Kits com horário agendado - IRONMAN Village 16h – 17h - Plantão de Dúvidas sobre o Congresso Técnico - Stand do SAC (IRONMAN Village) 20 de Setembro HORÁRIO ATIVIDADE LOCAL 8h – IRONKIDS - Pista de Atletismo (CEPEUSP) 8h – 19h - IRONMAN Village - Em frente à Praça da Reitoria 8h – 13h - Entrega de Kits com horário agendado - IRONMAN Village 10h - Plantão de Dúvidas Obrigatório e Exclusivo para Atletas PRO - Palco de Premiação (Pista de Atletismo) 10h30 - Coletiva de Imprensa - Palco de Premiação (Pista de Atletismo) 11h30 – 12h30 - Plantão de Dúvidas sobre o Congresso Técnico - Stand do SAC (IRONMAN Village) 13h30 – 18h30 - Bike check-in 21 de Setembro HORÁRIO ATIVIDADE LOCAL 4:30 – 6h - Acesso dos Atletas à Área de Transição - Transição (Pista de Atletismo) 5h50 - Largada Elite Masculina - Raia Olímpica 5h55 - Largada Elite Feminina - Raia Olímpica 6h05 – 6h20 - Largada Amadores | Revezamento - Rolling Start Raia Olímpica 7h – 17h - IRONMAN Village - Em frente à Praça da Reitoria 10h30 - Premiação Top 3 Geral - Masc. e Fem. - Chegada (Pista de Atletismo) 12h – 15h40 - Bike Check-out / Achados e Perdidos - Transição (Pista de Atletismo) 17h – 18h - Resultado Oficial / Contestações - Pista de Atletismo 18h - Premiação Top 5 por categoria e TriClub - Pista de Atletismo 19h - Cerimônia de Rolagem de Vagas - Mundial 2026 -Pista de Atletismo Programação sujeita à alteração até a exibição do Congresso Técnico online. Credenciamento de Imprensa: https://www.presskit.net.br/c/61qstmsfUvVvpt Mais informações no site www.ironmanbrasil.com.br.
-
1º Festival de Montanha AMVEM acontece neste fim de semana em Monte Verde
Cerca de 50 cidades já estão com representantes inscritos no evento. Evento criado para fomentar a cultura do esporte de montanha em Monte Verde e região, o 1º Festival de Montanha AMVEM acontece neste fim de semana, entre os dias 22 e 24 de agosto. A sede principal das atividades será o Bosque Gato de Botas, que fica no endereço Rua Uirapurus - Monte Verde, Camanducaia (MG), 37650-000, local em que será montada a Arena. Até o momento, com as inscrições realizadas previamente, participantes de cinco estados estão confirmados, Minas Gerais, São Paulo, Rio de Janeiro, Maranhão e Pará, totalizando cerca de 50 cidades representadas. "Teremos uma rica programação entre sexta e domingo aqui em Monte Verde. Atividades para toda a família e os mais diferentes gostos, com corrida de montanha, mountain bike, escalada, rafting e yoga entre os esportes, além de palestras, workshop, concurso de filmes, cinema ao ar livre, e outras ações", ressalta Camila Melo, responsável pela comunicação da AMVEM - Associação Monte Verde de Esportes de Montanha. "Cada um deve trazer seu próprio equipamento. O Festival de Esportes nada mais é que a reunião de esportistas para a prática do esporte. Então, venha preparado como se fosse um dia de prática normal, levando equipamentos, água, alimentação. Nós ofereceremos frutas em pontos pré-determinados e de fácil acesso nas atividades. Mas, um esportista deve ser sempre autossuficiente na montanha", explica Guto Affonso, presidente da AMVEM. Inscrição nas atividadesEnquanto a Trail Run Serra dos Poncianos já tem as inscrições encerradas, quem quiser participar das atividades ainda tem tempo: para participar do Mountain Bike XCM e Enduro (ambas sábado e domingo), Escalada - Bolder (sábado e domingo), bem como outras atrações como Corrida (domingo), Workshop - audiovisual (sexta e sábado), Ativação Águas Brancas - Lago da Pedreira (sábado) e Yoga (domingo), basta preencher sua inscrição no Google Forms: https://forms.gle/6qP1jg7MJafPDrYy6 . Programação das atividades O Festival de Montanha AMVEM tem início na tarde desta sexta-feira (22/8), com o Workshop realizado pelo filmmaker Guilherme Haruo, que vai compartilhar técnicas e dicas valiosas sobre produção de conteúdo outdoor das 17h às 18h30, na Pousada Águia das Montanhas. No sábado pela manhã, durante as atividades esportivas, Haruo fará uma curadoria prática, acompanhando os participantes do workshop na captação de imagens. À tarde, alguns conteúdos serão selecionados para uma sessão de pós-produção, mostrando como transformar registros da montanha em histórias inesquecíveis.O cronograma no sábado (23/8) tem início às 6h30, com a entrega de kits da Trail Running Serra dos Poncianos, que vai até às 7h30. Enquanto a concentração acontece às 7h45, a largada para 9k e 14k da competição é logo em seguida, às 8h. O check-in geral para todas as atividades acontece das 7h30 às 8h20, horário este que ocorre a abertura oficial do festival.Às 8h30 haverá a saída do MTB Enduro e da Escalada, bem como o agrupamento e organização do MTB XCM, que sairá logo em seguida, às 9h. A previsão para o início do MTB Enduro e da Escalada é entre 9h30 e 10h, nos seus respectivos locais. Às 10h30 a turma 1 do Rafting sai, para iniciar as atividades às 11h, enquanto a turma 2 sai às 11h30, para iniciar às 12h. Às 12h15 acontece a premiação da Trail Running Serra dos Poncianos. Às 12h30 a turma 3 do Rafting sai, para iniciar atividade às 13h. No domingo (24/08), outra vez o check-in na Arena acontece das 7h30 às 8h20, horário este de abertura do festival. Às 8h30 haverá a saída do MTB Enduro, Escalada e Trail Run. A escalada tem início às 8h40, enquanto entre 9h e 9h30 acontece o agrupamento e saída do MTB XCM. A turma 1 do Rafting sai as 10h30, para iniciar as atividades às 11h, já a turma 2 sai às 11h30 para iniciar às 12h. A turma 3 sai logo em seguida, às 12h30, para iniciar às 13h. Às 14h as atividades têm seu encerramento. O local da EscaladaAs atividades serão realizadas em boulders e vias esportivas curtas. Durante todo o dia, haverá locais auxiliando e passando as betas das vias. Cada participante deve levar seu próprio equipamento pessoal.Sábado: o local fica a aproximadamente 1,5 km, podendo ser acessado por trekking ou carro próprio.Domingo: o local fica mais próximo, a cerca de 500 metros, também com acesso por trekking ou carro próprio.Paras criançasAs crianças também terão um espaço especial na Arena do Festival de Montanha AMVEM para se divertirem: Área Kids com cama elástica e piscina de bolinha. A atração será paga, com valor único para brincar o dia todo: Cama elástica - R$ 20,00; Piscina de bolinha - R$ 15,00; Cama elástica + piscina de bolinhas - R$ 30,00.Entrada de cachorros na ArenaNas atividades não será permitido os tutores levarem seus cachorros, pois serão várias pessoas em ambientes diversos. A decisão foi tomada para evitar problemas de acidentes ou algo do tipo no Festival. Já na Arena pode levar.Sobre o Festival de Montanha AMVEMCom organização da Associação Monte Verde de Esportes de Montanha em parceria com a Prefeitura de Camanducaia,o 1º Festival de Montanha AMVEM conta com os patrocínios de: Alpina Monte Verde – MV Roupas Esportivas, All Black E-MTB Resort, A Menina das Flores, Araucária Viagens na Natureza, Auto Posto Riga, Bistrô Rock Bar, Buteco Vila Germânica, Cantina Portale di Napoli, Carícia do Vento Pousada Boutique, Casa do Strudel, Fazenda e Refúgio Pica Pau, Home Fibra Telecomunicações, Hortênsias Pousada Boutique, Iceberg Bar Monte Verde, Monte Verde Contabilidade, Monte Verde O Bauer, Pousada Aconchego, Pousada Águia da Montanha, Pousada Bela Vista, Pousada Cantos e Contos, Pousada das Videiras, Pousada Flores da Mantiqueira, Pousada La Pianta, Pousada Mandeville, Pousada Suíça Mineira, Pousada Villa Monte Verde, Restaurante Chalana, Restaurante Vila Amarela, Restaurante Villa Donna, Sem Limites Distribuidora, Supermercado do Tato, Terrace Chalés, Velinn Hotel Ninho do Falcão, Vermat Materiais para Construção e Zé Vitor Materiais para Construção.Para mais informações sobre o evento:https://www.instagram.com/mvesportesdemontanha/
-
L'Étape Brasil by Tour de France presented by Nubank faz treino aberto em Campos do Jordão (SP)
Treino aberto chamado de blitz para prova em setembro reuniu quase 200 ciclistas de diversas assessorias de ciclismo. Quase 200 ciclistas participaram no último fim de semana, em Campos do Jordão (SP), de mais um treino aberto do L’Étape Brasil by Tour de France presented by Nubank, que é chamado de blitz. O suporte dados aos ciclistas e suas respectivas assessorias tem o objetivo de preparar os atletas amadores para a principal prova da modalidade, que ocorre em 28 de setembro de 2025 na cidade do interior paulista. Será a oitava edição do evento, que terá dois percursos: o longo, de 107 km com 2.300 m de altimetria acumulada, com largada às 6h, e o curto, de 66 km com 1.300 m de altimetria acumulada, com início às 7h30. Na blitz, os atletas testaram as subidas de Campos do Jordão (SP) e puderam contar com apoio em um ponto do percurso, com suporte dos patrocinadores como isotônico LIQUIDZ®, a Bananinha Tachão, Probiótica, Água Frescca e Mitsubishi. ''Os atletas faziam seus treinos em dois dias, os simulados, tanto do percurso curto como longo, alguns faziam variações para conhecer estradas da região. Passavam no local para abastecer ou, no final do treino, para fazer uma massagem antes de voltar para os hotéis'', explicou Fernando Cheles, diretor de prova. A blitz do L’Étape Brasil by Tour de France presented by Nubank é uma tradição da prova desde sua estreia em 2015. O país conta com três etapas durante o ano, incluindo as realizadas em Cunha (SP) e Rio de Janeiro (RJ). O L'Étape Brasil by Tour de France presented by Nubank é apresentado pelo Nubank via Lei de Incentivo ao Esporte e conta com apoio e patrocínio oficial de Vivo, Mitsubishi, Specialized e Yopp.
-
Iron Biker Brasil reúne atletas de diversas regiões do país na cidade de Mariana (MG)
Maior competição de mountain bike da América Latina será realizada nos dias 13 e 14 de setembro, com largadas e chegadas na Praça Gomes Freire, no Centro Histórico O cenário montanhoso e histórico de Mariana será, mais uma vez, o ponto de encontro de atletas das cinco regiões do país na 32ª edição do Iron Biker Brasil. Marcada para os dias 13 e 14 de setembro de 2025, a maior prova de mountain bike da América Latina promete agitar Mariana, unindo ciclistas de diferentes estados, idades e trajetórias com um único objetivo: superar limites em meio à natureza exuberante e aos desafios técnicos das trilhas da região, celebrando o esporte, a resistência e o espírito de competitividade que o evento inspira. A pluralidade dos participantes é uma das marcas registradas do Iron Biker Brasil. De iniciantes a veteranos, de amadores a profissionais, homens e mulheres de todas as regiões do país participam da prova motivados pelo desafio pessoal, pelo amor ao esporte e pela oportunidade de trocar experiências com outros apaixonados pelo pedal. Essa sensação é descrita por Cláudio Voltareli, 43 anos, que vai sair de Ibitinga (SP) para competir pela sexta vez. “Participo de todas as edições desde 2019, e cada uma me surpreendeu com novas experiências, novos desafios e limites que são superados. Mas, o que mais me toca são as amizades que a gente consegue construir durante a prova. É uma competição completa. Estou ansioso para setembro”, afirmou. O Iron Biker Brasil transformou Mariana em um local capaz de reunir os apaixonados pelo mountain bike de norte a sul do país. A cada edição, a cidade se torna palco de reencontros, conexões e novas histórias, em um ambiente que respira esporte e acolhimento. Além da emoção das trilhas, o evento impulsiona o turismo, amplia a visibilidade de Mariana no cenário nacional e fortalece a economia local. Lucas Fonda, um dos organizadores, resume bem essa energia que invade a cidade. “O Iron Biker Brasil une atletas e comunidade. Para Mariana, é uma oportunidade de mostrar o potencial esportivo do município e acolher visitantes de todo o Brasil. A competição fortalece o turismo, movimenta a economia e consolida a cidade como referência no ciclismo de montanha”, destaca Fonda. A dimensão do Iron Biker Brasil vai além do esporte. Mariana se prepara intensamente para os dois dias de competição. O prefeito do município, Juliano Duarte, comenta sobre o desafio de preparar a cidade até a data da prova. “Estamos trabalhando com planejamento e dedicação para receber os atletas e visitantes com segurança, infraestrutura e hospitalidade. Mariana se orgulha de ser a casa do maior evento de mountain bike da América Latina, e faremos de tudo para que essa edição seja ainda mais especial”, afirmou. O gestor municipal também reafirma a importância do evento na construção de uma imagem positiva da cidade-sede, Mariana. “O Iron Biker Brasil faz parte da identidade esportiva e cultural de Mariana. É uma prova que movimenta a economia local, fortalece o turismo e, acima de tudo, coloca nossa cidade no centro das atenções do ciclismo nacional e internacional”. A programação oficial do Iron Biker Brasil começa na quinta-feira (11), com a entrega dos kits aos atletas, das 16h às 20h, no Teatro Municipal. Na sexta-feira (12), a entrega continua das 10h às 21h. Às 19h, o evento ganha um clima ainda mais acolhedor com atividades sociais na Praça Gomes Freire (Jardim). O desafio nas montanhas acontece no sábado (13) e no domingo (14). Nos dois dias, os atletas do percurso completo largam às 7h30, enquanto os do percurso reduzido saem às 8h20. A Praça Gomes Freire (Jardim), no coração de Mariana, será o ponto de partida e chegada dos atletas. Economia quente em meio à disputa O Iron Biker Brasil é um dos eventos mais aguardados do ano. Essa é uma frase unânime quando se conversa com os comerciantes de Mariana. Seja no setor hoteleiro, seja em comércios, bares ou restaurantes, toda a sociedade local é impactada positivamente com a realização da maior prova de mountain bike da América Latina. Quem reforça essa ideia é Wanderley Muller, um dos sócios do Hotel Muller. “Mariana, hoje, é a capital nacional da modalidade. Isso é uma coisa muito boa, muito bonita, muito grandiosa. É um evento inteligente e uma das poucas atrações turísticas que deixam o dinheiro dentro do município. O ciclista que vem tem que participar da cidade, tem de viver o local. Esperamos o Iron Biker Brasil sempre com muita ansiedade”, finalizou. Na mesma linha, o morador de Mariana, Thiago Morais, afirma que fica satisfeito em ver a cidade movimentada durante os dias de prova. “É uma competição bacana e que movimenta muito Mariana. Gera aumento de ocupação nos hotéis e pousadas, aumenta o movimento de bares, das lojas, aumentam as vendas de comidas típicas e de produtos locais. A cidade fica lotada. E todo ano a gente conta com este atrativo. Além, claro, de reforçar a bela imagem do nosso município para o mundo. Mariana é bela, grandiosa, e o Iron Biker Brasil nos ajuda a fortalecer o que temos de melhor”. A casa do mountain bike Mais do que uma prova, o Iron Biker Brasil passou a integrar a identidade esportiva da cidade sede, Mariana. A competição ecoa valores como desafio, superação e contato com a natureza — aspectos que se alinham à história e ao modo de vida da população local. A comunidade marianense passou a se reconhecer, e ser reconhecida, por meio da prova. É mais do que uma competição — é um espelho da cidade. Este sentimento de pertencimento entre Mariana e o Iron Biker Brasil é vivido e descrito por Ana Clara Martins: “O Iron Biker sempre teve um lugar especial na minha vida. Eu competi pela primeira vez com 12 anos, e hoje com 16, olho para trás e vejo como ele esteve presente em toda a minha trajetória na bike. Cresci junto com o Iron, torcendo para meu pai [Patrick] com 9 anos, até minha primeira participação na prova” concluiu. Em seguida, a jovem que vai participar da prova pela quinta vez ressaltou o orgulho de fazer parte da história do Iron Biker Brasil. “Aqui em Mariana, a gente vive o ciclismo com muita paixão. Os atletas locais esperam o Iron o ano inteiro, treinam com mais vontade só de saber que essa prova está chegando. Não é apenas competição, se tornou uma grande festa do esporte que movimenta a cidade e inspira muita gente” finalizou. Com 10 anos ininterruptos do Iron Biker Brasil na Primaz de Minas, o setor ciclístico local também ganhou força comercial, como ressalta o comerciante Wanderson Aparecido da Silva, 42 anos. “É um evento como o Natal para o comércio. Vendemos bicicletas, fazemos mecânica e manutenção. A demanda aumenta muito, favorece o comércio”. PROGRAMAÇÃO OFICIAL 11 de setembro (quinta-feira)16h às 20h – Entrega de kits aos atletas no Teatro Municipal. 12 de setembro (sexta-feira)10h às 21h – Entrega de kits aos atletas no Teatro Municipal.19h – Programação social na Praça Gomes Freire (Jardim). 13 de setembro (sábado)7h30 - Largada simultânea das modalidades do percurso total (A).8h20 - Largada simultânea das modalidades do percurso reduzido (B). 14 de setembro (domingo)7h30 - Largada simultânea das modalidades do percurso total (A).8h20 - Largada simultânea das modalidades do percurso reduzido (B).15h - Premiação. Fotos: Samuel Consentinho
-
Livro revela a história e o método do campeão mundial Hugo Prado Neto: um protocolo de vida além do pódio
“O protocolo Hugo Prado Neto: Além do limite” (Edições Cândido, 2025) chega ao mercado literário como um verdadeiro manifesto sobre superação, consciência e performance. Escrito em parceria com o filósofo e pesquisador Otávio Grossi, a obra oferece muito mais do que a trajetória inspiradora de um campeão mundial de mountain bike — apresenta um protocolo de autoconhecimento e alto rendimento que pode ser aplicado por qualquer pessoa, atleta ou não. A partir de três trilhas narrativas — a vida, o método e os depoimentos — o livro mostra como Hugo Prado Neto transformou o diagnóstico de TDAH na infância em combustível para construir um estilo de vida pautado pela disciplina, inovação e uma filosofia de existência centrada na presença, no agora. Na obra, o leitor encontra desde passagens íntimas de sua infância marcada por deslocamentos, desafios escolares e crises de pertencimento, até a estrutura detalhada de um programa de desenvolvimento humano integrado, que combina neurociência, psicologia do esporte, alimentação funcional e gestão emocional. Com prefácio de Guilherme Turano, empresário e atleta, o livro, que foi patrocinado pela Turano Construtora, também traz relatos de atletas que aplicaram o “Fator H” e colheram transformações significativas em suas vidas. Em tempos de excesso de promessas vazias sobre sucesso e produtividade, O Protocolo Hugo Prado Neto convida o leitor a repensar o que significa vencer — e como viver pode ser um esporte de risco, entrega e superação contínua. Ficha técnica: O Protocolo Hugo Prado Neto: Além do Limite Autores: Hugo Prado Neto e Otávio Grossi Editora: Edições Cândido ISBN: 978-65-87602-48-6 Páginas: 224 Ano: 2025 Preço: R$ 80,00 Lançamento na Livraria Leitura – Pátio Savassi Av. do Contorno, 6061 – Piso L2 – São Pedro – Belo Horizonte/MG Data: 14 de agosto Horário: 19h
-
Como organizamos a nutrição para 6 horas de mountain bike
Nós sabemos que a preparação para um pedal longo vai muito além de escolher a bike e a rota. Ser nutricionista e pedalar é a parte em que ponho a teoria e prática. Nesse sentido, meu companheiro, que me conheceu através da minha profissão, também ajusta muito bem a nutrição. Escolhemos uma rota que partiu de Monteiro Lobato, aqui na Serra da Mantiqueira, no interior de São Paulo. A rota já é conhecida por ter grandes subidas. Realmente um trajeto duro, bem similar ao trajeto de mountain bike das principais ultramaratonas que já pude realizar aqui no Brasil. Então, lembrando: além de administrar o ritmo do seu pedal para 6 h, distribuir bem a potência e intensidade para não quebrar, será a nutrição a responsável por te dar energia para encarar as subidas, a força para pedalar por horas a fio e a recuperação necessária do esforço. E foi pensando nisso que preparei este post para você, compartilhando a nossa experiência em um pedal de 6 horas com 100km e mais de 3000m de ganho – um treino de respeito, que nos lembrou bastante um dia duro do Caminho da Fé. Lembrando, o Thyago escolheu algumas subidas para fazer força e se desafiar, ou seja, foi um pedal que exigiu uma nutrição com absorção mais rápida, mesclando suplementos nas horas duras e alimentos nos momentos de maior giro. Nossa Estratégia de Nutrição: O Que Levamos para o Pedal Nosso cardápio foi pensado para ser prático, nutritivo e fácil de transportar. Levamos tudo que precisávamos nos bolsos da Jersey, garantindo que o acesso fosse rápido e fácil. Pães e Sanduíches: As bisnaguinhas recheadas foram as estrelas do nosso lanche. Levamos 8 para o Thyago e 6 unidades para mim. Basicamente: bisnaguinha com azeite e pouca azeitona, as doces de goiabada (para um pico de energia rápido). Hidratação e Eletrólitos: A sudorese intensa nos fez perder muito líquido e sais minerais. Por isso, a gente caprichou na hidratação. Levamos isotônico nas caramanholas, e também isotônico em pó em sachês no bolso. Isso nos permitiu reabastecer a água em dois pontos de parada (um natural rs) e simplesmente misturar o pó para ter uma bebida energética e com eletrólitos na hora. Thyago usou 700mg de sódio por hora, Juliana usou 600mg de sódio por hora. Carboidratos em pó: O carboidrato em pó foi usado diluído na água, proporcionando uma fonte de energia de liberação mais rápida, percursos com muita subida exigem maior potência, mais energia aos músculos, menos à digestão. Nessa hora a “nutrição raiz” é simplesmente a suplementação. O gel de carboidrato foi complementar aqui para garantir o aporte ideal de energia. Snacks Práticos: As bananinhas (de banana-passa) foram um coringa! Gosto de escolher opções de bananinha que fornecem ao menos 25g de carboidrato. Dicas Essenciais Para Um pedal duro e Longo de MTB Se você está planejando um pedal parecido, aqui vão algumas dicas valiosas baseadas na minha experiência como nutricionista e ciclista: Planeje a Nutrição: Não deixe para pensar no que vai comer na hora. Planeje o que levar de acordo com a duração e a intensidade do pedal. Quanto mais intenso, mais apostar em suplementação. Quanto mais contemplativo, mais você pode apostar em lanches práticos e snacks. Misture os Nutrientes em alimentos: Combine carboidratos para energia (bisnaguinha, goiabada), gorduras boas (castanhas, pasta de amendoim, azeitona) e eletrólitos (isotônico, sal) para uma nutrição completa. Hidratação Constante: A sede já é um sinal de desidratação. Beba água e isotônico regularmente, mesmo quando não sentir sede. Se for um pedal longo, planeje onde poderá reabastecer a água. A ideia é ter ao menos 300mg de sódio por hora! Teste Antes: Nunca teste um alimento novo no dia do pedal! Use seus treinos para descobrir o que funciona melhor para o seu corpo e o que não causa desconforto gastrointestinal. Carboidratos mandam mesmo se for “leve”: qualquer pedal acima de 3 ou 4h pode depletar completamente sua reserva energética, especialmente se você não planejar sua nutrição. Mesmo um pedal mais contemplativo tente ir ao menos com 60g de carboidrato por hora. À medida que ganhar intensidade pode sim apostar em utilizar até 90g de carboidrato por hora. A alimentação é o seu combustível. Com a estratégia certa, você transforma um pedal difícil em uma experiência inesquecível e prazerosa. E esse desafio foi realizado no aniversário do Thyago, uma forma que encontramos de comemorar: nos desafiando em cima da bike, vestindo os dois de Iquê, a mesma cor e vestuário: vermelho com preto!
-
Por que você deve monitorar seus níveis de ferro se você treina intenso?
Se você é um atleta ou pratica exercícios intensos regularmente, especialmente exercícios extenuantes como corrida, thriatlon e ciclismo, sabe que cada detalhe da sua saúde pode impactar seu desempenho. Da nutrição ao descanso, tudo contribui para que você alcance seus objetivos. Mas há um nutriente em particular que, muitas vezes, é negligenciado, e desempenha um papel fundamental na sua capacidade de treinar e competir: o ferro. Avaliar os estoques de ferro se você tem uma rotina de treinos intensa, seja ela planilhada ou não, não é apenas uma recomendação para atletas de alto rendimento, mas uma necessidade para qualquer pessoa que se dedique a exercícios intensos, especialmente no Endurance. O Papel Crucial do Ferro no Desempenho Físico O ferro é um componente essencial da hemoglobina, a proteína encontrada nas células vermelhas do sangue responsável por transportar o oxigênio dos pulmões para os músculos e outros tecidos do corpo. Sem oxigênio suficiente, seus músculos não conseguem produzir a energia necessária para sustentar o exercício intenso {às vezes a pessoa quer tomar suplementos variados para ter mais energia, mas não adianta nada se estiver em carência de ferro!} Além da hemoglobina, o ferro também é parte da mioglobina, uma proteína que armazena oxigênio nos músculos. Ou seja, ele é vital tanto para o transporte quanto para o armazenamento de oxigênio onde ele é mais necessário durante o exercício. O ferro também participa de diversas enzimas envolvidas na produção de energia e no metabolismo celular. Quando os níveis de ferro estão baixos, a capacidade do seu corpo de transportar e utilizar oxigênio é comprometida. E nem precisa estar em anemia propriamente dita, uma baixa importante nos estoques de ferritina - depleção dos estoques de ferro (ferropenia) até a anemia ferropriva, prejudica a produção de glóbulos vermelhos saudáveis. Os Perigos da Deficiência de Ferro para Atletas – ou você que é quase um Os sintomas da deficiência de ferro podem ser sutis no início e facilmente confundidos com o cansaço normal do treino intenso. No entanto, à medida que a deficiência progride, os efeitos no desempenho e na saúde se tornam mais evidentes. Fadiga Crônica e Redução do Desempenho: Este sintoma é o mais comum e impactante. A falta de oxigênio nos músculos leva a uma fadiga precoce durante o exercício, diminuindo sua capacidade de manter a intensidade e a duração do treino. Seus tempos de recuperação podem aumentar, e você pode sentir uma sensação constante de exaustão, mesmo em repouso. Dificuldade para Manter o Ritmo e a Potência: Sem o oxigênio adequado, seus músculos não conseguem gerar a mesma potência ou sustentar o mesmo ritmo. Isso se traduz em treinos mais lentos, menos eficientes e com uma queda notável no desempenho competitivo. Sistema Imunológico Comprometido: O ferro também desempenha um papel na função imunológica. Atletas com deficiência de ferro são mais suscetíveis a infecções, resfriados e gripes, o que pode resultar em interrupções nos treinos e perda de consistência. Palidez e Falta de Ar: Em casos mais avançados de anemia, a pele pode ficar pálida devido à menor quantidade de hemoglobina, e a falta de ar pode ser percebida mesmo em atividades leves, pois o corpo tenta compensar a baixa entrega de oxigênio. Perda de Força e Resistência: A capacidade de seus músculos de se contrair eficientemente é comprometida, levando a uma diminuição geral da força e da resistência muscular. Por Que Atletas São Mais Suscetíveis à Deficiência de Ferro? Você pode se perguntar: "Por que eu, que me cuido tanto, estaria em risco?" A verdade é que a prática de exercícios intensos aumenta significativamente a demanda e a perda de ferro no corpo por diversas razões: Aumento da Demanda de Oxigênio: Quanto mais você treina, mais oxigênio seus músculos precisam. Isso significa que seu corpo precisa produzir mais hemoglobina e, consequentemente, demanda mais ferro. Perdas de Ferro Através do Suor: O suor contém pequenas quantidades de ferro. Em atletas que suam profusamente durante treinos longos e intensos, essas perdas podem se acumular. Hemólise Mecânica: Em esportes de alto impacto, como corrida, os glóbulos vermelhos podem ser danificados e destruídos (hemólise) devido ao impacto repetitivo dos pés no chão. Essa "quebra" de glóbulos vermelhos libera o ferro, mas se o processo for constante e os estoques já estiverem baixos, pode levar à deficiência. Perdas Gastrointestinais: Em alguns casos, o exercício intenso pode causar micro-sangramentos no trato gastrointestinal, resultando em pequenas perdas de ferro que podem ser significativas ao longo do tempo. Dieta Insuficiente: Dietas restritivas, vegetarianas ou veganas mal planejadas podem não fornecer ferro suficiente, especialmente se o consumo de ferro heme (encontrado em produtos de origem animal e mais facilmente absorvível) for baixo. Atletas que seguem essas dietas precisam ser especialmente vigilantes. Mulheres Atletas: As mulheres, em geral, já têm um risco maior de deficiência de ferro devido à perda de sangue menstrual. Combinado com as demandas do exercício intenso, o risco é ainda maior. Como Avaliar Seus Estoques de Ferro: Além do Hemograma Simples Para monitorar seus níveis de ferro, não basta fazer um hemograma simples. Embora o hemograma possa indicar anemia (baixos níveis de hemoglobina), ele não revela a depleção dos estoques de ferro antes que a anemia se instale. Para uma avaliação completa, são necessários outros exames: Ferritina Sérica: Este é o principal indicador dos seus estoques de ferro. A ferritina é uma proteína que armazena ferro no corpo. Níveis baixos de ferritina indicam que seus estoques de ferro estão esgotados, mesmo que você ainda não esteja anêmico. Este é o exame mais importante para atletas. Saturação de Transferrina (IST): A transferrina é a proteína que transporta o ferro pelo sangue. A saturação de transferrina indica quanto ferro está ligado à transferrina. Níveis baixos sugerem que não há ferro suficiente para ser transportado. Ferro Sérico: Este exame mede a quantidade de ferro circulante no sangue em um determinado momento. Embora útil, ele pode flutuar bastante ao longo do dia e ser influenciado por diversos fatores, por isso não é tão confiável quanto a ferritina para avaliar os estoques. Contagem Completa do Sangue (Hemograma): Como mencionado, o hemograma avalia a quantidade de hemoglobina e o tamanho e forma dos glóbulos vermelhos. É essencial para diagnosticar a anemia, mas não prediz a deficiência de ferro em seus estágios iniciais. É fundamental que esses exames sejam interpretados por um médico ou nutricionista esportivo, que poderá considerar seu histórico de treino, dieta e outros fatores relevantes. Frequência da Avaliação: Uma Abordagem Individualizada A frequência ideal para avaliar os estoques de ferro varia de atleta para atleta, mas algumas diretrizes gerais podem ser seguidas: Atletas de Alto Volume e Intensidade: Aqueles que treinam para maratonas, ultramaratonas, triathlons, ciclismo de longa distância ou esportes de combate, onde a demanda metabólica é altíssima, deveriam considerar avaliações a cada 3 a 6 meses. Mulheres Atletas: Devido ao risco elevado de perda menstrual, as mulheres atletas deveriam realizar exames de ferro com mais frequência, talvez a cada 6 meses, ou mais frequentemente se houver sintomas ou histórico de deficiência. Vegetarianos/Veganos Atletas: A cada 6 meses é uma boa frequência, pois a absorção de ferro de fontes vegetais é menos eficiente. Atletas com Sintomas: Se você está experimentando fadiga inexplicável, queda no desempenho, falta de ar ou outros sintomas sugestivos de deficiência de ferro, procure seu médico imediatamente para uma avaliação, independentemente da última vez que fez exames. Antes de Grandes Competições: Considerar uma avaliação 2-3 meses antes de uma competição importante pode ser estratégico para garantir que seus níveis de ferro estejam otimizados para o dia da prova. Prevenção e Tratamento da Deficiência de Ferro A melhor abordagem é sempre a prevenção. Isso inclui: Dieta Rica em Ferro: Priorize alimentos ricos em ferro heme (carne vermelha, aves, peixe) se você consome produtos de origem animal. Para vegetarianos e veganos, foque em ferro não-heme (leguminosas, espinafre, lentilha, tofu, cereais fortificados) e combine com vitamina C para aumentar a absorção – e nada de café imediatamente após o almoço, viu? Suplementação Estratégica: Se sua dieta não for suficiente ou se você tiver deficiência de ferro, seu médico ou nutricionista pode recomendar um suplemento de ferro. É crucial não se automedicar, pois o excesso de ferro pode ser tóxico. A suplementação deve ser monitorada com exames de sangue para evitar o acúmulo excessivo. Gerenciamento do Treino: Evite o overtraining e garanta períodos adequados de recuperação para permitir que seu corpo se adapte e reponha seus estoques. Conclusão Monitorar seus estoques de ferro é uma parte essencial da sua estratégia de saúde e desempenho como atleta e mesmo para sua saúde geral. A fadiga, a queda no desempenho e a suscetibilidade a doenças podem ser sinais de que seus níveis de ferro estão baixos, mesmo que você não esteja anêmico. Ao ser proativo e realizar exames de ferritina e outros marcadores de ferro regularmente, você pode identificar e corrigir a deficiência de ferro antes que ela comprometa seus treinos e suas metas. Invista na sua saúde, e seu corpo responderá com o desempenho que você tanto busca. Você já considerou avaliar seus níveis de ferro recentemente? Qual a sua principal preocupação em relação à sua saúde como atleta? REFERÊNCIAS The Global Prevalence of Iron Deficiency in Collegiate Athletes: A Systematic Review and Meta-Analysis. Pediatric Blood & Cancer, nov 2024. Iron deficiency, supplementation, and sports performance in female athletes: A systematic review.. Journal of Sport and Health Science, jul. 2024.
-
Tadej, Remco e Jonas – os três reis brabos
O ciclismo realmente é um esporte admirável. A competitividade é extremamente acirrada, quem já esteve numa competição dentro de um pelotão sabe o quão hostil ela é, os nervos estão sempre a flor da pele, o desejo de vitória é muitas vezes cego, outras extremamente estratégico. Aquele velho papinho: nossa amizade dura até a largada. E é assim mesmo, um pelotão profissional, ou mesmo um amador de ciclistas de alta performance é um ambiente inóspito, é perigoso, também muito divertido para quem sabe se posicionar e ainda mais para os oportunistas rsrsrsr. Sim senhoras e senhores, o ciclismo é um esporte de “creontes”, como costumamos dizer nas rodinhas. Nem sempre, ou quase nunca o mais forte vence, mas sim o mais sagaz. Porém, estamos falando de um esporte que tem seus códigos de postura, e hoje, dia 16 de julho, na décima primeira etapa do Tour de France, o evento mais importante do ano, pudemos presenciar uma cordialidade imensa dos três principais atores da edição de 2025. Apesar da camisa de líder estar com o irlandês Ben Healy, eu não o colocarei entre os três, não por desmerecê-lo, mas por ainda vê-lo como uma grata surpresa no topo. Estamos falando de Tadej Pogacar, Remco Evenepoel (-1’29”) e Jonas Vingegaard (-1’46”), a tríade protagonizou uma das melhores cenas do Tour até o momento, faltando menos de 6km para o fim da etapa “plana” de hoje, o esloveno Tadej Pogacar sofreu uma queda ao cruzar rodas com Tobias Johannessen, e deu aquela ralada gostosa no asfalto francês, se levantou rápido e com auxilio do apoio da prova, rapidamente colocou a corrente no lugar e voltou ao pedais, mas já se iam quase 30 segundos pro pelotão onde estavam Evenepoel e Vingegaard, os creontes agiriam de forma de sempre, acelera, acelera, acelera e vamos deixar o “imparável” pra trás, mas não foi o que se viu, o pelotão do alto da elegância, tirou o pé e aguardou o sloveno, a diferença para poderia ter caído, Remco e Jonas, poderiam ter se aproveitado, mas seria digno? E aí trago ao papo de bar o outro evento se não me engano há dois anos atrás, quando numa descida, o mesmo sloveno errou uma curva e o nobre peixeiro (vingegaard), também o esperou. É sobre isso. No ciclismo, apesar de se buscar a vitória a qualquer custo, os códigos de conduta dos bons competidores sempre estão presentes. Venho conversando com amigos já há algum tempo de quanto bem esses meninos, sim, eles rejuvenesceram um esporte que até, sei lá, 8 anos atrás era basicamente dominado pelos maduros, ciclistas acima de 28, 29 anos e estão nos presenteando com disputas limpas, belas e que não nos deixam tirar os olhos da tela. Viva o ciclismo, viva o Tour, viva aos gênios e suas magrelas mirabolantes. Preparem a pipoca, sem manteiga que ciclista faz dieta rsrsrs, que amanhã tem etapa de montanha às 8:00h na ESPN. Quer conhecer um pouco mais sobre esse esporte tão complexo e belo, assista Tour de France e suas 3 temporadas na NetFlix.
-
Rio de Janeiro recebe a nona edição do IRONMAN 70.3
O Itaú BBA IRONMAN 70.3 Rio de Janeiro será no dia 10 de agosto, com largada em Copacabana e chegada na Marina da Glória O Circuito IRONMAN 70.3 desembarca no Sudeste neste mês de agosto. Após a etapa em Brasília, que abriu a temporada, a competição inicia o segundo semestre com a nona edição do Itaú BBA IRONMAN 70.3 Rio de Janeiro. No dia 10, cerca de 1.800 triatletas profissionais e amadores de todo o país e de diversas partes do mundo estarão na Cidade Maravilhosa para uma das mais belas etapas da temporada. Os atletas enfrentarão 1,9 km de natação, com largada na famosa Praia de Copacabana, a "Princesinha do Mar", seguidos por 90 km de ciclismo e 21,1 km de corrida, com chegada na Marina da Glória, onde estará montado o IRONMAN Village. O Itaú BBA IRONMAN 70.3 Rio de Janeiro 2025 também irá classificar atletas para o IRONMAN 70.3 World Championship 2026, que será realizado em Nice, na França, nos dias 12 e 13 de setembro de 2026. A etapa carioca é uma das atrações do circuito internacional. Em sua nona edição, segue sendo elogiada pelos competidores. No ano passado, segundo pesquisa realizada com os participantes das mais de 170 provas da franquia em todo o mundo, foi eleita a segunda prova IRONMAN 70.3 mais recomendada do mundo e a terceira melhor corrida da América Latina, atingindo a incrível marca de 95,40% de satisfação geral, ficando no Top 5 Global nesta categoria. Ausentes desde 2019, os profissionais estarão de volta ao Rio de Janeiro neste ano. A categoria disputa duas vagas para o Mundial 2026, tanto no masculino quanto no feminino, além de 15 mil dólares em prêmios para os primeiros colocados. Os maiores vencedores da categoria na etapa são os brasileiros Pamella Oliveira (2017, 2018 e 2019) e Reinaldo Colucci (2016 e 2018). Santiago Ascenço também tem duas vitórias, uma como profissional (2015) e outra como amador (2024). A programação oficial começará no dia 7, às 14h, com a abertura do IRONMAN Village e o primeiro dia de entrega de kits, ambos na Marina da Glória. No sábado, às 8h, também na Marina, ocorrerá o Itaú BBA IRONKIDS Brasil, uma corrida para crianças de 2 a 12 anos que visa incentivar a prática esportiva. Às 10h30 será a vez da coletiva de imprensa com os destaques do profissional. No domingo, a largada dos atletas está marcada para às 6h30, com a premiação dos três primeiros colocados a partir das 11h. O Itaú BBA IRONMAN 70.3 Rio de Janeiro é organizado pela Unlimited Sports, com Title Sponsor Itaú BBA, patrocínio de Track Field, Vivo, La Roche-Posay, Dorflex, Fairmont, Etapp, Omint e Arjon; copatrocínio de Dux, Granado, Felt, Blue 70, Pacco, Oakberry, Boali, sendo Granado por meio da Lei de Incentivo ao Esporte do Governo do Rio de Janeiro, via Secretaria de Esporte e Lazer, e apoio da Tachão de Ubatuba, Paçoquita, Sococo, Prefeitura do Rio de Janeiro e Visit Rio. Campeões • 2024 – Santiago Ascenço (BRA) / Larissa Fabrini (BRA) • 2023 – Iuri Vinuto (BRA) / Patrícia Franco (BRA) • 2022 – Emmanuel Iodice (ARG) / Patrícia Franco (BRA) • 2019 – Yvan Jarrige (FRA) / Pamella Oliveira (BRA) • 2018 – Reinaldo Colucci (BRA) / Pamella Oliveira (BRA) • 2017 – Paulo Roberto Maciel (BRA) / Pamella Oliveira (BRA) • 2016 – Reinaldo Colucci (BRA) / Luisa Baptista (BRA) • 2015 – Santiago Ascenço (BRA) / Mariana Borges (BRA) Programação • Praia de Copacabana (natação) – Av. Atlântica 3716, entre os Postos 5 e 6 • Forte de Copacabana (transição 1) – Praça Cel. Eugênio Franco, 1, Posto 6 • Marina da Glória (IRONMAN Village, transição 2 e chegada) – Av. Infante Dom Henrique, s/n – Glória. 7 de agosto • 14h – 19h - IRONMAN Village - Marina da Glória • 14h – 18h - Entrega de Kits com horário agendado - IRONMAN Village 8 de agosto • 9h – 19h - IRONMAN Village - Marina da Glória • 9h – 18h - Entrega de Kits com horário agendado - IRONMAN Village • 16h – 17h - Plantão de Dúvidas sobre o Congresso Técnico - SAC (IRONMAN Village) 9 de agosto • 8h - IRONKIDS - Marina da Glória • 8h30 – 19h - IRONMAN Village - Marina da Glória • 8h30 – 12h - Entrega de Kits com horário agendado - IRONMAN Village • 10h - Plantão de dúvidas exclusivo e obrigatório para atletas PRO - Palco de Premiação (Marina da Glória) • 10h30 - Coletiva de imprensa - Palco de Premiação (Marina da Glória) • 12h - 13h - Plantão de Dúvidas sobre o Congresso Técnico - SAC (IRONMAN Village) • 13:30 - 18:30 - Bike Check-in na T1 – Forte de Copacabana 10 de agosto • 5h - 6h25 - Acesso dos Atletas à Área de Transição 1 - Transição 1 (Forte de Copacabana) • 6h30 - Largada Elite Masculina - Praia de Copacabana • 6h35 - Largada Elite Feminina - Praia de Copacabana • 6h45 – 7h - Largada Amadores - Praia de Copacabana • 8h – 19h - IRONMAN Village - Marina da Glória • 11h - Premiação Top 3 Geral - Masculino e Feminino - Marina da Glória • 13h – 16h - Bike Check-Out / Achados e Perdidos - Transição 2 (Marina da Glória) • 18h - 18h45 - Resultado Oficial / Contestações - Marina da Glória • 19h - Premiação Top 5 por categoria e TriClubs - Marina da Glória • 20h - Cerimônia de Rolagem de Vagas - Mundial 2026 - Marina da Glória Programação sujeita à alteração até a exibição do Congresso Técnico Online. Mais informações no site www.ironmanbrasil.com.br
-
GP São Paulo Internacional de Ciclismo Traz o ciclismo de volta às ruas da capital
Competição será no dia 9 de julho, em homenagem à Revolução Constitucionalista de 1932 As ruas da principal cidade da América do Sul serão, mais uma vez, palco para uma grande prova de ciclismo. No dia 9 de julho, feriado que marca a Revolução Constitucionalista de 1932, será realizada mais uma edição do GP São Paulo Internacional de Ciclismo, evento que conta pontos para o Ranking Brasileiro de Estrada na Classe 3 e para o Ranking Paulista de Estrada. A competição reunirá cerca de 2 mil ciclistas de dez categorias, com circuito fechado de 13,5 km de extensão, tendo largada e chegada no Jockey Club, na Avenida Lineu de Paula Machado, no Butantã. A programação prevê cinco horas de provas, com início a partir das 6 horas. Fotos: Fabricio MacedoFotop As categorias válidas são: Elite, Sub-23, Open Master 30+, Júnior e Ciclismo para Todos (amadores), no masculino e feminino. As inscrições não tiveram taxa, mas foram condicionadas à doação de dois (2) quilos de alimento não perecível, que serão doados a instituições beneficentes. Todas as categorias terão premiação com troféu para os cinco mais bem colocados. Já para as categorias Elite Feminino e Masculino, haverá uma premiação em dinheiro, assim dividida: 1º. R$ 2.000,00; 2º. R$ 1.200,00; 3º. R$ 1.000,00; 4º. R$ 500,00; e 5º. R$ 300,00. Na última edição, em 2022, realizada no Autódromo de Interlagos, os ciclistas Kácio Fonseca de Freitas e Camila Aliperti Angulo venceram na categoria Elite. Kácio completou as 18 voltas no circuito de 4.309 metros, vencendo no sprint com o tempo de 1h43min10seg196, seguido de perto por Lauro Cesar Chaman, da Santos Cycling Team/Fupes, com 1h43min10seg280, e Francisco Chamorro, da Unifunvic/Gelog/Pindamonhagaba, com 1h43min10seg434. O GP São Paulo Internacional de Ciclismo é realizado pela Federação Paulista de Ciclismo (FPC), com a supervisão da Confederação Brasileira de Ciclismo (CBC) e apoio da Prefeitura de São Paulo, por meio da Secretaria Municipal de Esportes e Lazer – SEME e CET. Programação5h – Abertura da secretaria 1ª Bateria6h - Ciclismo para Todos (masculino e feminino) - 13,5 km – 1 volta 2ª Bateria6h45 - Elite e Sub-23 Femininos - 54 km – 4 voltas6h47 - Open Master 30+ e Júnior Feminino - 27 km – 2 voltas 3ª Bateria8h20 - Elite, Sub-23 e Júnior Masculinos - 108 km – 8 voltas8h22 - Open Master 30+ e Júnior Masculinos - 54 km – 4 voltas Resultados Elite 2022 Masculino 1. Kácio Fonseca Freitas (Swift Carbon Pro Cycling Brasil), 1h43min10seg196 2. Lauro Cesar Chaman (Santos Cycling Team /Fupes), 1h43min10seg280 3. Francisco Chamorro (Unifunvic/Gelog/Pindamonhangaba) 1h43min10seg434 4. Raphael Mancini (Avulso), 1h43min10seg436 5. Alessandro Guimarães (Almodovar Delta Cafés), 1h43min10seg450 Feminino 1. Camila Aliperti Angulo (Lulufive Team), 1h00min39seg887 2.Amanda Kunkel (Clube Maringaense de Ciclismo), 1h00min40seg376 3. Luciene Ferreira da Silva (Unifunvic/Gelos/Pindamonhangaba), 1h00min40seg382 4. Ana Paula Finco Silva (São José Ciclismo/Instituto Athlon), 1h00min40seg656 5. Ana Paula Casetta (Santos Cycling Team/Fupes) 1h00min40seg662 Mais informações no site oficial, www.fpciclismo.org.br
-
João Pedro Rossi e Tamires Radatz vencem o contrarrelógio e conquistam ouro no Brasileiro de Ciclismo de Estrada 2025
Prova disputada nesta sexta-feira em Mairiporã abriu oficialmente o campeonato, que segue com provas de resistência no sábado e domingo O Campeonato Brasileiro de Ciclismo de Estrada Elite e Sub-23 2025 começou oficialmente nesta sexta-feira (4), com a realização da prova de contrarrelógio individual (CRI), em um percurso exigente e técnico no Vale da Garça, em Mairiporã (SP). Sob tempo frio, os atletas encararam os 22,5 km (feminino) e 33,75 km (masculino) de percurso, com resultados que definiram as primeiras medalhas da competição. Na elite masculina, João Pedro Rossi (Swift Pro Cycling) foi o mais rápido do dia e conquistou o título nacional com o tempo de 44min46s. A prata ficou com Gabriel Metzger (ACRS Cycling Team), que completou a prova em 44min53s, seguido de perto por Diego Mendes, com 45min35s, que completou o pódio. Entre as mulheres, a vitória ficou com Tamires Radatz (AVAI/FME Florianópolis), que fez uma prova consistente e, mesmo não sendo um percurso com suas características, fechou os 22,5 km em 35min55s. Esse foi o quinto título nacional de Tamires, sendo o quarto no contrarrelógio e a atleta ainda é a atual campeã brasileira de resistência. A segunda colocação foi de Karine Frota, com 36min33s. Em terceiro lugar, com 36min52s, ficou Carolina Bilato (São José dos Campos/Instituto Athlon). “Estou muito feliz com mais esse título. Sabia que seria uma prova dura, ainda tive alguns problemas na minha preparação e também com a bike durante a prova — acabei ficando com a marcha travada boa parte do trajeto. Mas eu estava bem e treinei muito para estar aqui. Essa camisa de campeã brasileira representa todo o esforço que tem sido feito nos últimos anos”, comemorou Tamires Radatz após o pódio. João Rossi também celebrou o ouro: “É uma emoção enorme. A prova foi desafiadora, técnica, com trechos que exigiam muita concentração. Estou atrás desse título desde 2021, quando fui campeão Sub-23. Só tenho a agradecer pelo apoio da minha equipe e da minha família, e também pela torcida de todos que vibraram com a minha vitória. Estou muito feliz”, afirmou. Na categoria Sub-23, os campeões foram Gabriel Silva (Swift Pro Cycling), com o tempo de 45min40s, no masculino, e Ana Catarina Furtado (Associação Dellas Cycling), que concluiu a prova em 38min24s no feminino. Os resultados completos de cada categoria podem ser acessados no link: https://cbc.esp.br/modalidades/resultados/busca/estrada. Fotos: Allan Modesto/CBC A programação do Campeonato segue neste sábado (5), com a prova de resistência para as categorias elite e sub-23 masculina, em um percurso total de 146,8km. No domingo (6), encerrando o evento, será a vez da disputa feminina da elite e sub-23, em um percurso de 73,4km. O Campeonato Brasileiro de Ciclismo de Estrada Elite e Sub-23 2025 é uma realização e organização da Confederação Brasileira de Ciclismo (CBC) e Federação Paulista de Ciclismo (FPC), com apoio do Governo do Estado de São Paulo, da Prefeitura Municipal de São Paulo e da Prefeitura Municipal de Mairiporã e Free Force. --- Resultados oficiais Contrarrelógio Individual Elite Masculina 1) João Rossi (Swift Pro Cycling) – 44min46s 2) Gabriel Metzger e (ACRS Cycling Team) – 44min53s 3) Diego Mendes – 45min35s 4) Lauro Chaman (Soul Cycles) – 46min08s 5) Pedro Leme (Taubate Cycling Team) – 46min17s Elite Feminina 1) Tamires Radatz (AVAI/FME Florianópolis) – 35min55s 2) Karine Frota – 36min33s 3) Carolina Bilato (São José dos Campos/Instituto Athlon) – 36min52s 4) Libera Raquel (Fusion Race Team) – 37min14s 5) Dayene Soares – 37min59s Sub-23 Masculina 1) Gabriel Sousa (Swift Pro Cycling) – 45min40s 2) Henrique Bravo (Soudal Quick-Step) – 45min50s 3) Luiz Fernando Bonfim – 45min54s 4) Victor de Paula (Clube Desportivo Feirense) – 46min15s 5) Andrey Braguini (GI Group) – 46min57s Sub-23 Feminina 1) Ana Catarina Furtado (Associação Dellas Cycling) – 38min24s 2) Fabiane Baggio (AVAI/FME Florianópolis) – 38min25s 3) Yasmin Fagundes (Legacy Cycling Team) – 38min26s 4) Luana Domingos (AJOCICLO) – 39min08s 5) Maria Luiza Duwe – 39min09s
-
Time Supera Racing conquista uma medalha de ouro e uma de bronze no Campeonato Brasileiro de XCO
O Campeonato Brasileiro aconteceu em Congonhas, MG, entre os dias 27 a 29 de junho e 4 atletas do time estiveram presentes Anna Vitória levou o ouro no seu último ano na categoria Júnior, liderando a prova do início ao fim. Ela que, em 2024, conquistou a medalha de prata em seu primeiro ano na categoria. João Yoshio conquistou a medalha de bronze em seu último ano na categoria juvenil, com uma prova forte e sólida. Alicia Gomes conquistou o quarto lugar em seu segundo ano na categoria infanto-juvenil, e alcançou sem dúvidas sua melhor prova do ano até o momento, com uma largada forte e muita concentração e conexão durante as duas voltas na pista. João Lucas, em seu primeiro ano na categoria Júnior, andou muito forte e vem se superando a cada prova, conquistando cada vez mais melhores resultados e performance. O Diretor do time Henrique Furtado, elogiou toda dedicação dos atletas. "Gratificante ver onde chegamos em tão pouco tempo. No segundo ano do time, já temos uma formação bem sólida e resultados expressivos nos dois campeonatos Brasileiros que passamos juntos. As duas medalhas são frutos dos esforços de todos e representa pra gente muito mais que uma colocação no pódio, elas carregam uma liderança dentro da equipe servindo de confirmação de um caminho assertivo e exemplo guia para os mais novos se espelharem”. Os atletas agradeceram por toda a torcida e em especial aos patrocinadores do time - Specialized, Hyperion Asset Management, HB Brasil e Ziegen Brasil, que são peças essenciais para o time ter alçado vôo ao longo desses quase dois anos de projeto, e ter mostrado todo potencial para o desenvolvimento de jovens atletas no esporte. Exemplo disso é o atleta Miguel Volpini que em 2024 sagrou-se campeão brasileiro juvenil pelo time Supera e em 2025 passou a integrar o time Specialized Racing BR e conquistou novamente a tão sonhada camisa de campeão brasileiro em seu primeiro ano na categoria Júnior. Curiosidade: Todo o time está equipado para a temporada 2025 com a bike Chisel Full da Specialized. João Yoshio que foi vice-campeão Pan-Americano na pista de Congonhas em 2023 com a bike Specialized Epic, volta a competir na pista com sua nova máquina Chisel Full. Anna Vitória foi vice-campeã brasileira 2024 em Congonhas e campeã brasileira 2025 a bordo da sua Specialized Epic Pro. O time Supera Racing teve sua estréia no cenário nacional em março de 2024, contando com o Henrique Furtado como Diretor e Ana Baeta como Team Manager. O foco do time é o desenvolvimento de atletas de categorias de base do Mountain Bike contando atualmente com 5 atletas de 12 a 17 anos de diferentes Estados do Brasil. Neste ano, o time esteve presente em todas as etapas da Copa Internacional (CIMTB) e no Campeonato Panamericano de XCO na Costa Rica.
-
Pedalando no Frio: de vestuário básico, dicas essenciais e o que realmente importa
Pedalar no frio é como pedalar no calor só que no frio? Nem tanto. A começar por um ponto: o seu corpo se esforça mais para manter-se aquecido enquanto gera energia também para girar o pedivela. Além disso, a exposição ao frio em cima da bike pode ser potencializada, porque quando você pedala, você cria um vento relativo (mesmo que o vento natural esteja fraco ou inexistente). Esse vento constante e direto sobre a superfície do seu corpo "rouba" o calor que seu corpo produz. Em resumo, quanto mais rápido e mais forte você pedala, maior o processo de resfriamento ocasionado pelo vento. Mas com o preparo certo, o ciclismo de inverno pode ser uma experiência bacana. Sentir o corpo mais aquecido e realmente sair preparado para esta finalidade é o que torna a pedalada no frio mais segura para a saúde, além de garantir maior eficiência de produção de energia para o pedal. O segredo para aproveitar ao máximo suas pedaladas em temperaturas mais baixas está na estratégia e nos equipamentos adequados. A Estratégia de Camadas: O Segredo para o Conforto Térmico A principal dica para pedalar no frio é seguir a regra das camadas. Aqui no Brasil pouco se fala deste conceito que é mais difundido e detalhado em países onde o ciclismo de inverno é uma prática comum e as temperaturas são bem mais rigorosas que no Brasil. Em países da Europa, América do Norte e outras regiões com invernos intensos, pedalar no frio extremo é uma realidade para muitos ciclistas, seja para treinos, deslocamentos diários ou lazer. Os esportes em geral de montanha também utilizam este conceito para tornar as práticas do esporte outdoor mais seguras. Nesses locais, as marcas de vestuário de ciclismo investem pesado em tecnologias e designs específicos para cada camada, e a cultura do ciclismo de inverno é bem estabelecida. Para mim o mais legal é isso, ver a IQUÊ trazer em primeira mão o conceito e, inclusive tem muita sugestão no site de como combinas as peças. Ou seja, ao invés de vestir uma única peça de roupa muito grossa, opte por várias camadas finas que podem ser adicionadas ou removidas conforme a necessidade. Isso permite que você regule sua temperatura corporal de forma eficaz, evitando tanto o superaquecimento quanto o frio excessivo. Camada Base (ou Primeira Camada): Esta é a camada que fica em contato direto com a pele. Escolha materiais sintéticos, como poliéster, que absorvem o suor e o afastam do corpo, mantendo você seco. Evite algodão, pois ele retém a umidade e pode deixar você gelado. Camada Intermediária: Responsável pelo isolamento térmico. Fleeces, lã merino ou tecidos similares são a escolha. Esta camada deve reter o calor corporal sem restringir seus movimentos. Aqui eu gosto da Jersey Peludinho da iQuê, mas claro que a combinação fica a sua escolha. As vezes apenas uma Jersey de manga longa já é suficiente. Camada Externa (ou Casaco): Protege contra o vento e a umidade. Um bom casaco de ciclismo para o inverno poder ser o bom e velho corta-vento. Modelos com boa respirabilidade são essenciais para evitar o acúmulo de suor. Aqui também indico o Colete Neoprene iQuê, de manga curta ou longa. E os itens Essenciais para o Ciclismo no Inverno? Além das camadas de roupa, alguns acessórios são indispensáveis para garantir seu conforto e segurança ao pedalar em baixas temperaturas: Luvas Térmicas: Especialmente se você treina na madrugada fria ou a noite! Suas mãos são as primeiras a sentir o frio. Luvas térmicas podem ser um diferencial para manter a destreza e o conforto. Protetor de Orelhas/Touca Fina: A perda de calor pela cabeça é significativa. Use uma touca fina que caiba confortavelmente sob o capacete ou uma faixa para proteger as orelhas e a testa do vento gelado. Balaclava ou Gorro Térmico: Para dias mais rigorosos, uma balaclava pode cobrir todo o rosto e pescoço, oferecendo proteção extra contra o vento e o frio. Meias: Mantenha seus pés aquecidos com meias de lã merino ou materiais sintéticos projetados para o frio. Sapatilhas, Sapatilhas de Inverno (Opcional), Capas de Sapatilha (Opcional): Se você usa sapatilhas de ciclismo, considere capas de sapatilhas térmicas para proteger seus pés do vento e da umidade. Existem também sapatilhas específicas para o inverno, com maior isolamento e proteção. Óculos de Proteção: Além de proteger os olhos do vento, os óculos evitam que a baixa temperatura resseque seus olhos, e lentes claras ou amareladas são ideais para condições de pouca luz. Para-lamas: Aumentam o conforto ao proteger você de respingos de água e lama, comuns em dias frios e úmidos. Dicas Extras para uma Pedalada Segura e Confortável Hidrate-se: Mesmo no frio, a hidratação é fundamental. Leve água ou bebidas isotônicas normalmente, afinal no inverno muitas pessoas reduzem o consumo de água e podem desidratar-se durante o pedal. Alimente-se Bem: Seu corpo gasta mais energia para se manter aquecido do que para dissipar o calor no verão. Lembre-se que nesta época do ano inclusive é comum a frequência cardíaca durante o treino manter-se mais elevada para o mesmo esforço. Inclusive deixe aqui nos comentários se você percebeu ou percebe isso! Isso é porque justamente o corpo está trabalhando mais para manter-se aquecido. Comece Aquecido: Comece sua pedalada com uma camada extra de roupa e remova-a conforme seu corpo aquece. É melhor sentir um pouco de frio no início do que superaquecer rapidamente. Planeje sua Rota: Aqueça bem e considere rotas com mais elevações no início para aquecer o corpo. Atenção ao Clima: Verifique a previsão do tempo antes de sair. Condições de vento forte ou chuva congelante podem ser perigosas. Pedalar no frio não precisa significar ficar em casa ou ficar apenas no rolo. Com os equipamentos certos e um pouco de planejamento, suas pedaladas de inverno podem ser tão agradáveis quanto as de verão. Uma das coisas legais do esporte é isso, viver a sazonalidade e se expor aos diversos cenários. Isto é um desafio e tanto e faz parte do treinamento! Você está pronto para enfrentar o frio e explorar novas rotas depois dessas dicas? E aqui, na vista da Cuesta em Botucatu-São Paulo com a coleção inverno iQuê!
-
Nina Boite é bicampeã do L'Étape Rio by Tour de France presented by Nubank
Marina Boite vence edição de 2025 do Tour de France no Rio de Janeiro (RJ). No masculino, o ganhador foi João Marcelo Pereira Gaspar O L'Étape Rio by Tour de France presented by Nubank foi realizado neste domingo (29/6), com largada no Aterro do Flamengo, no Rio de Janeiro (RJ), e mais de 2 mil ciclistas presentes. A maior prova de ciclismo de estrada da América Latina chegou à sua quinta edição na capital fluminense, com trajetos de 102 km e 59 km, passando por pontos icônicos da Cidade Maravilhosa. A largada, inicialmente prevista para as 6h, teve início às 7h10, após um atraso causado pela queda de uma árvore na Rua Pacheco Leão, no Jardim Botânico. Equipes da Companhia Municipal de Limpeza Urbana (Comlurb) e da concessionária Light atuaram rapidamente para remover a árvore, restabelecer a energia elétrica na região e abrir passagem, com segurança, para os atletas. Na distância longa, de 102 km e 980 metros de altimetria, a carioca Marina Boite foi bicampeã com o tempo de 2h54min20s286, seguida por Valeria Crema Boni (2h54min22s167) e Ana Catarina Furtado Tobelem (2h57min38s663). Natural do Rio de Janeiro (RJ), Marina Boite celebrou o título em casa, marcado pelo conhecimento do percurso e pela tranquilidade pré-prova: “Bicampeã na minha cidade, muito feliz. A força da galera foi o que me motivou, porque no final já tava 'caimbrando' tudo. Minha estratégia foi fazer força consistente, descer bem forte e economizar energia o máximo possível. O atraso na largada até me acalmou. Estava tensa e, com o tempo a mais, consegui relaxar”. A prova teve início na Marina da Glória e seguiu em direção à orla de Copacabana. Após cerca de 20 km, começou a escalada da montanha, ponto decisivo da disputa. Os ciclistas enfrentaram a subida que passa por pontos como a Cachoeira do Horto, a Vista Chinesa e a Casa do Prefeito. Em seguida, desceram por Canoas até a Barra da Tijuca, passando pela orla de São Conrado e Leblon. O looping de três voltas foi realizado entre Botafogo, Túnel Marcello Alencar e a região do Porto. A chegada também ocorreu na Marina da Glória. Fotos: Diogo Anhasco Sotano | @foto3esportes O mato-grossense João Marcelo Pereira Gaspar conquistou a vitória com o tempo de 2h35min41s178, em uma chegada apertada contra Thales Fernando Areias Ribeiro, que marcou 2h35min41s336. Gabriel Heines de Lima Mendonça completou o pódio com 2h35min42s365. “Toda vitória é muito dura, né? É tático, é duro, circuito bem seletivo. Fizemos um bom trabalho. A estratégia era selecionar o grupo na Vista Chinesa, onde era a parte mais dura. O Thales entrou forte, passamos só três atletas e decidimos até o final. Ritmo forte para ninguém encostar e funcionou. É uma vitória muito importante para a nossa equipe de Cândido Mota, interior de São Paulo”, destacou João Marcelo Gaspar após cruzar a linha de chegada. João Marcelo Gaspar, além do título geral, já havia vencido uma prova do L'Étape Rio by Tour de France presented by Nubank em 2023. O ciclista foi o Rei da Montanha, primeiro a escalar a Vista Chinesa e a Mesa do Imperador, com a marca de 14min40s061. No feminino, quem se destacou foi Valeria Crema Boni com 19min02s883. Já na distância curta do L'Étape Rio, com distância de 59 km com 720 metros de altimetria, os vencedores foram Felipe Costa Melo Cunha (1h37min14s447) e Camila Aliperti (1h46min55s790). “Hoje tivemos um fato inédito no L’Étape: foi a primeira vez que não largamos exatamente no horário oficial, às 6h, pelo horário de Brasília. O motivo foi um imprevisto sério — caiu um galho de uma árvore de grande porte, que parecia uma árvore inteira, e atingiu a rede elétrica no percurso. Por segurança, foi necessário desligar a energia da região e remover o galho. A Comlurb, a Light e demais autarquias, como a CET-Rio, atuaram com muita agilidade para resolver a situação”, explicou Bruno Prada, organizador do L'Étape Rio by Tour de France presented by Nubank . Mesmo com o contratempo, Bruno Prada garantiu que a experiência do ciclista no Tour de France brasileiro seguiu completa: “A prova é muito bem organizada, com diversos pontos de hidratação e apoio aos atletas. Foi uma edição um pouco mais quente, mas seguimos com tudo preparado para garantir a melhor experiência possível.” Um dos destaques do evento foi a presença do alemão Didi Senft, o lendário "Diabo do Tour", conhecido mundialmente por suas aparições irreverentes nas provas do Tour de France. Com seu tradicional tridente e a energia de sempre, Didi caminhou entre os atletas e fãs no Village e animou o percurso no domingo (29/6). A próxima etapa do L'Étape Brasil by Tour de France presented by Nubank será em Campos do Jordão (SP), de 26 a 28 de setembro deste ano. O evento é apresentado pelo Nubank via Lei de Incentivo ao Esporte e conta com apoio e patrocínio oficial de Vivo, Mitsubishi, Specialized e Yopp. Geral masculino – longo 102 km 1º – João Marcelo Pereira Gaspar – 2h35min41s1782º – Thales Fernando Areias Ribeiro – 2h35min41s3363º – Gabriel Heines de Lima Mendonça – 2h35min42s365Geral feminino – longo 102 km 1º – Marina Boite – 2h54min20s2862º – Valeria Crema Boni – 2h54min22s1673º – Ana Catarina Furtado Tobelem – 2h57min38s663Geral masculino – curto 59 km 1º – Felipe Costa Melo Cunha – 1h37min14s4472º – Bruno Santos Godoy Mello – 1h40min00s0873º – Salomão Ferreira – 1h40min00s945Geral feminino – curto 59 km 1º – Camila Aliperti – 1h46min55s7902º – Viviane Abdalla – 1h46min55s8413º – Paola Rodrigues Chermont – 1h46min55s911Rei da Montanha – longo 102 km (masculino) 1º – João Marcelo Pereira Gaspar – 14min40s0612º – Gabriel Heines de Lima Mendonça – 14min47s5543º – Thales Fernando Areias Ribeiro – 14min49s007Rainha da Montanha – longo 102 km (feminino) 1º – Valeria Crema Boni – 19min02s8832º – Marina Boite – 20min29s5383º – Ana Luiza Cavalcante – 21min04s750 Entre em contato com a equipe On Board Sports:
-
Meu primeiro Duathlon
Cheguei a Juquitiba, 1h de SP, no fazendão que é um lugar repleto por trilhas preservadas pelo pessoal da Rocky mountain games e é um complexo envolto pela mata atlântica – um polo esportivo para trail run, mtb e aquathlon. Hoje era o dia do Duathlon Rocky Mountain Games, um cross duathlon, que diferente de quem corre e pedala no asfalto, exigia também competência e treinos técnicos de trilhas – os quais executei e me preparei com equipamentos, tenis e vestuário completo para enfrentar o tipo de terreno que estaria no percurso. No pórtico de largada já observava o AT (área de transição), onde deixei minha mountain bike, sapatilha, garrafas com bebidas ricas em carboidrato e sódio e capacete. Então me aqueci e vamos lá: Orientações do treinador: a orientação do Leandro Santana era: um bom aquecimento com ativações curtas, fazer a parte plana num ritmo forte, me preservar nas subidas fortes, mas intercalar caminhadas com corrida nas subidas em que pudesse fazê-lo. O tempo estipulado para a transição foi de 5 minutos e no mountain bike a orientação era tentar ir mais agressiva mesmo. A primeira etapa: 12 km de corrida com 450m de elevação. E para ser sincera, a preparação foi um tanto quanto… apressada. Treinei apenas três semanas para a corrida, contando com a minha "bagagem" de ultramaratonista e trail runner. Mas logo nos primeiros quilômetros, percebi a diferença brutal. Diferente da corrida na cidade, na terra cada passo era um desafio. Os terrenos irregulares, as subidas íngremes e as descidas técnicas exigiam muito mais dos meus músculos, acionando grupos musculares que eu nem lembrava que existiam rs. O percurso ía por estradas de terra batida, com a mata Atlântica densa, soltando aquele cheiro úmido de terra e folhas que só a natureza intacta possui. Aos 7 km, o golpe: minha perna esquerda travou. Uma pontada aguda que transformou cada passo mais pesado, mas estava muito feliz – já era esperado. Estava treinando na cidade nos planos com pouca subida e excedi um pouco o ritmo. O cansaço tentava se instalar, mas a cada respiração profunda, sentia o ar profundo, e a teimosia me impulsionava a seguir em frente rs. Minha mente focava nos passos, no ritmo, em manter a cadência, enquanto as paisagens se desdobravam à minha frente – sim, consigo sim visualizar isso na prova. Finalizei a corrida com a sensação de dever cumprido, dei o meu melhor e fiz o meu melhor, mas sabendo que a verdadeira aventura ainda estava para começar e que a transição seria crucial. A transição foi um borrão de movimentos rápidos. Trocar o tênis pela sapatilha, o visual de corredor pelo de ciclista, tudo em questão de segundos - minutos. A primeira vez a gente acha que vai esquecer algo rs! Ajeitei o capacete, subi na bike e senti o macaquinho Little Monkey da IQ se ajustar perfeitamente ao meu corpo. Foi minha primeira vez de macaquinho, por isso vale o relato. Fluiu bem na corrida e cumpriu no conforto e aerodinâmica para os 25 km de mountain bike que me esperavam. E que 25 km! As trilhas de Juquitiba estavam mais úmidas, mas acertei a calibragem. Usei 18psi em cada pneu nos meus 61 kilos na Caloi Elite Team HT. Pegamos a estrada, mas rapidamente já estávamos no terreno que mais parecia um grande XCO: curvas fechadas, single tracks, raízes, off cambers. Porém, a corrida intensa cobrou seu preço. A mountain bike, que até então era meu ponto forte, estava um pouco comprometida. Descobri na pele a importância vital dos treinos de transição para quem vai começar no duathlon. É essencial encaixar o ritmo ideal entre as duas modalidades, para que uma não sabote o desempenho da outra. Quando cruzei a linha de chegada, o cansaço era palpável, mas a sensação de euforia e realização era ainda maior. O corpo doía, mas a alma estava leve, revigorada. Mais do que completar a prova, testei meus limites e me desafiei em mais uma modalidade outdoor. O Duathlon Rocky Mountain Games em Juquitiba foi concluido, em uma prova de que cada gota de suor valeu a pena. Em uma das semanas mais corridas de trabalho da minha vida. Porque afinal, nós trabalhamos e treinamos para extrair a sensação de plenitude no esporte. E você, já teve alguma experiência em que a preparação de última hora te pegou de surpresa?
-
Cuide da Sua Bike: Manutenção Básica que Você Pode Fazer em Casa
Não importa o tipo de ciclista que você é, uma coisa é certa: uma bicicleta bem cuidada rende mais, quebra menos e dá menos gasto. A manutenção básica não exige ferramentas complexas ou conhecimento avançado. Com alguns cuidados simples e regulares, é possível evitar desgastes prematuros, aumentar a vida útil dos componentes e até prevenir acidentes. Limpeza: o primeiro passoA sujeira acumulada é inimiga número um da performance e da vida dos componentes. Ela acelera o desgaste da corrente, atrapalha o funcionamento das marchas e detona rolamentos. Por isso siga os passos* Use água com um bom desengraxante com uma escova de cerdas macias* Evite jatos de alta pressão, principalmente nas partes com rolamentos* Seque com um pano limpo e seco, principalmente a corrente, coroa e cassete* Após a limpeza, aplique lubrificante na corrente Lubrificação: menos atrito, mais rendimento!* Use lubrificantes apropriados (seco para clima seco, úmido para chuva/lama)* Aplique uma gota por elo da corrente girando os pedais Pneus calibrados = pedal mais eficiente!A calibragem correta dos pneus interfere diretamente no conforto, aderência e eficiência do pedal. Pneus murchos aumentam o esforço e o risco de furos. Já os muito cheios reduzem o conforto e a tração. Dicas rápidas:* Verifique semanalmente a pressão (use um manômetro ou bomba com indicador);* Para MTB, adapte a pressão ao terreno (menos pressão em trilhas técnicas para mais tração). Verificação de folgas e apertos! Com o tempo e o uso constante, é natural que parafusos e conexões afrouxem. Checklist de verificação:* Aperte os parafusos do guidão, mesa, canote, rodas e pedivela* Use chaves Allen adequadas e torque correto (evite apertar demais) Freios: teste antes de sair! Freios mal regulados ou com desgaste são um dos principais riscos para o ciclista. Por isso siga os passos:* Pastilhas gastas ou mal alinhadas (freios a disco);* Ruídos metálicos, que indicam desgaste excessivo;* Sensação de freio “borrachudo”, que pode sinalizar bolhas de ar no sistema hidráulico. Cuidar da sua bike em casa não precisa ser complicado. Com rotinas simples de limpeza, lubrificação, calibragem e inspeção, você garante não só a durabilidade do equipamento, mas também uma pedalada mais segura e eficiente. E lembre-se: a manutenção básica é sua responsabilidade, mas as revisões técnicas periódicas com um mecânico especializado também são fundamentais, principalmente se você pedala com frequência ou participa de provas.
-
CiMTB: Karen Olimpio faz a dobradinha e Alex Malacarne conquista segunda vitória na carreira na super elite em Carandaí
Terceiro e último dia do evento na Fazenda Sossego contou com quatro baterias em um cenário muito desafiador, com chuva durante toda a manhã no Distrito de Pedra do SinoQuem apostou contra a chuva neste domingo (8/6) em Carandaí apostou errado. Embora a previsão apontasse que as chances de chuvas eram bem pequenas na cidade, a Fazenda Sossego provou que a magia do mountain bike vive intensamente no local. Chuvas durante toda a madrugada e também por boa parte da manhã deram contornos de uma pista muito enlamaçada e cheia de barro para os ciclistas que competiram no último dia da segunda etapa da Copa Internacional de Mountain Bike. Melhor para Karen Olimpio e Alex Malacarne, os campeões da Super Elite no Cross Country Olímpico (XCO).Na última corrida do dia, a da Super Elite Masculina, os ciclistas encontraram o circuito de cerca de 3,5 km do XCO no melhor cenário póssivel, após chuvas fortes logo de manhã, a partir de 7h30. O sol ainda brindaria o público presente na Fazenda Sossego durante a prova que encerrou a competição.Os protagonistas entre os homens foram dois: Alex Malacarne e José Gabriel Marques, que atacaram logo no começo e dominaram a corrida. Proximo do fim, Luiz Miguel Honório chegou na dupla, até que José Gabriel atacasse na penúltima volta e Luiz não conseguisse acompanhá-los. Na nona e última volta, Alex Malacarne mostrou ser o ciclista mais forte do dia, para conqusitar sua segunda vitória na carreira competindo na Super Elite e concluir 9 voltas em 1h29min10seg. A primeira vitória de Alex havia sido em Araxá, durante a CiMTB em 2024. Alex vence a segunda vez na elite durante a CiMTB (Crédito: Jonathas Abrantes/Ultrafotos)"Me sinto muito feliz por ter conquistado essa segunda vitória. Meu primeiro ano como ciclista da elite está sendo fantástico. Sair daqui de Carandaí com a vitória foi a consequência de todo o trabalho duro que venho fazendo e dos detalhes que nós estamos nos atentando. Esse trabalho vem se pagando e espero continuar cada vez mais me superando, para que isso seja sempre a consequência", comemorou Alex Malacarne, que assumiu a liderança geral da competição. Agora, Malacarne tem 146 pontos na soma das quatro corridas da CiMTB na temporada, contra 138 de Gustavo Xavier e 114 de José Gabriel, seus dois principais concorrentes.Embora não tenha conqusitado a vitória, Jose Gabriel terminou o fim de semana satisfeito com sua performance. Além da segunda colocação no XCO deste domingo, com o tempo de 1h29min31seg, ele também havia se destacado no Short Track (XCC), ao cruzar a linha de chegada na terceira colocação na última sexta-feira (6/6)."Foi uma prova atípica. Tanto por conta das características do circuito, quanto pelo clima. Tirei forças de onde eu não tinha desde a primeira volta quando o Alex abriu uma distância na parte de cima da pista e eu consegui encurtar. Eu não estava no meu 100%, então tive que pedalar com a cabeça. A prova foi consistente, nos respeitamos e trocamos posições, mas sempre com respeito. O Luiz Miguel veio de trás, um atleta de Maratona, o que foi legal para bagunçar as coisas. Fiz um ataque, acreditando que podia vencer. Mas no final, o Alex fez o contra-ataque e fiquei sem reação. No geral, foi uma prova muito legal", comentou José Gabriel. Presença inesperada no Top 3, por não ser um atleta com foco no XCO, Luiz Honório mostrou que a pista da Fazenda Sossego no fim das contas é bem democrática para todos os estilos de praticantes do cross-country. "Sou especialista em Maratona, então dedico maior parte do meu tempo a essa modalidade. Mas, com toda a estrutura que tenho na Squadra Oggi, vim bastante animado para essa prova em Carandaí", contou Luiz, que fechou a prova em 1h30min10seg, exatamente 1 minuto atrás do campeão. "Corri aqui em Carandaí na temporada de 2020 e sabia que teríamos uma mini-maratona. Me impressionei com meu resultado no XCC, sexto lugar. E isso foi um gás grande para eu fazer uma boa apresentação no XCO. Larguei na última fila porque não tenho ranking no XCO. Consegui encostar nas primeiras colocações ao final da segunda volta. Depois cheguei no Zé e no Alex. O Zé fez um ataque forte e depois o Alex, o que fez com que eu terminasse em terceiro. Gratidão chegar nessa colocação. Agora vou focar mais no XCO, pois esse resultado é a prova de que estou no caminho certo", finalizou Honório. Pódio da Super Elite Masculina no XCO (Crédito: Jonathas Abrantes/Ultrafotos)Vencedor do Short Track na sexta-feira, Gustavo Xavier foi o quarto colocado, à frente de Luiz Cocuzzi, que completou o Top 5. O pódio da Super Elite Masculina teve ainda os ciclistas Eike Leoncio, Nicolas Machado, Edson Rezende, Carlos Alberto Olimpio e Flávio Lobo Neto.Super Elite Feminina Entre as mulheres da Super Elite, Karen Olimpio demonstrou neste domingo que é a atleta a ser batida na competição e também na temporada. Após ganhar na sexta o XCC, Karen faturou o XCO com uma prova bastante coesa. Liderou do começo ao fim, sempre aumentando sua folga na liderança de forma constante, para fechar a prova em 1h16min27seg após 6 voltas completadas, um minuto à frente de Isabella Lacerda. Com o resultado, Karen aumentou sua folga na liderança geral do evento, somando agora 164 pontos, tendo vencido três das quatro corridas da CiMTB em 2025 até agora. Isabella, com 143, e Raiza, com 129, são suas duas principais concorrentes."Bem feliz com mais um grande final de semana em Carandaí em minha carreira. Depois de vencer o XCC, fomos para o XCO com uma pista bem física, mas que ficou mais dura com as chuvas pela manhã. Seis voltas em que eu quis me testar, porque tenho grandes objetivos pela frente na temporada. Na segunda volta abri um gap e fui desenhando a vitória do dia. A Isabella estava no meu retrovisor, mas fui constante volta a volta. Super vitória, tanto para mim quanto meu time Soul Extreme Racing", afirmou Karen. Começo da prova na Super Elite Feminina (Crédito: Jonathas Abrantes/Ultrafotos)Embora tenha terminado os dois dias de provas na segunda colocação, Isabella Lacerda sai de Carandaí bastante contente com seus resultados. Assim como as principais adversárias da Elite, o objetivo do momento para ela é performar bem no Campeonato Brasileiro de MTB XC, que acontece no fim deste mês em Congonhas."Final de semana muito bom. Muito feliz com a performance que entreguei. Estou numa crescente e o objetivo principal está chegando, que é Campeonato Brasileiro. Aqui foi uma boa amostra de que estou no caminho certo. Imprimi força e fiz a minha prova. Fiz o que tinha que fazer. Prova dura, porque quando a chuva para, acredito que fica pior. O terreno não secou e ficou pesado. A pista era física e ficou mais difícil. Os meus tempos de volta foram bem reloginho, o que significa que o treinamento tem feito efeito", disse Isabella.Feliz surpresa no Top 3 da Super Elite Feminina Assim como na Super Elite Masculina, na Feminina uma ciclista ainda não habituada a terminar nas primeiras colocações da categoria principal do MTB conseguiu um excelente resultado e terminou em terceiro lugar. Trata-se de Gabriela Ferolla, que ainda está dando seus primeiros passos na Elite, sendo apenas o seu segundo ano como sub-23."Muito emocionante andar com essas mulheres tão fortes da elite. Por isso, foi muito gratificante o resultado. Dei tudo de mim e tentei me divertir ao máximo na pista. Ali no início quando eu estava na primeira posição após o Start Lap, fiquei sem entender muito bem o que teria pela frente ao longo da prova. Coloquei meus pensamentos no lugar e foquei em fazer força. Muito feliz com o terceiro lugar", vibrou Gabriela. Pódio da Super Elite Feminina (Crédito: Jonathas Abrantes/Ultrafotos) Raiza Goulão e Sabria Oliveira completaram o Top 5 da categoria, que teve ainda as ciclistas Liege da Silva Valter, Hercília Najara, Iara Caetano, Luiza Cocuzzi e Danielle de Moraes como destaque, complementando as dez colocações do pódio.Demais vencedoras nas disputas femininasOutras seis categorias femininas foram realizadas durante o dia na Fazenda Sossego. Sagraram-se campeãs as seguintes atletas: Florencia Monsalvez, chilenga que venceu a UCI XCO Junior Series; Hani Rodrigues (Sub-17); Florencia Jesus (Sub-15), também vinda do Chile; Livia Bentancor (Sub-12); Rapahella Pelaquim (Sub-40); e Marcia Helena Matos (Sub-50).Os campeões das duas primeiras bateriasOutras onze categorias masculinas também foram realizadas neste domingo, durante a primeira e segunda baterias do dia, aquelas que tiveram que encarar chuvas mais fortes na Fazenda Sossego. Sagraram-se campeões da etapa de Carandaí os seguintes atletas: Roger Renso (Sub-30); Welisson Fialho (Sub-35); Leandro Batista (Sub-40); João Paulo Firmino (Sub-45); Rubinho Valeriano (Sub-50); João Erildo Silva (Sub-55); José Carlos Mendes (Sub-60); Adalberto Gerez (Sub-60); Dilermano de Fátima (Sub-70); Luis Carlos Silva (Over-75); e Evan Dinísio (XCO Open).De volta a Fazenda SossegoApós ser presença constante no calendário da Copa Internacional de Mountain Bike entre 1996 e 2004, a cidade de Carandaí ficou um longo período sem receber as etapas da Copa Internacional, voltando a ser sede do evento na temporada de 2020, porém com a prova realizada apenas em julho de 2021, por conta da Pandemia da Covid-19. Agora, em 2025, quem já viveu a experiência de competir lá ou quem gostaria de disputar a prova no local pela primeira vez, terá essa oportunidade única. A disputa será sediada na Fazenda Sossego, local de fácil acesso, que fica às margens da Rodovia BR-040 no km 657, na mesma entrada do Hotel Fazenda Pedra do Sino.A estrutura da Fazenda SossegoNa Fazenda Sossego, o estacionamento logo na entrada será gratuito tanto para atletas, quanto para o público que for assistir ao evento. A área de feira será montada também próxima a sede da Fazenda Sossego, onde haverá também banheiros e vestiários com duchas frias ou quentes para os atletas e lava-bike. Haverá também área de alimentação dentro do evento com Açaí Fresh, Cervejaria 040, Vinho, e com diversas refeições como sanduíches, crepes, churros, macarrão na chapa, espetinhos, sanduíche de pernil etc.A história da Copa InternacionalA organização da CiMTB realizou sua primeira prova em 1996. Desde então, vem inovando e contribuindo ativamente para o crescimento e fortalecimento do mountain bike e o mercado de bicicletas no Brasil. Contando pontos para o ranking mundial da União Ciclística Internacional (UCI) desde 2004, a CiMTB tem sido seletiva para os Jogos Olímpicos nos ciclos de Pequim 2008, Londres 2012, Rio 2016, Tóquio 2020 e Paris 2024.Em 2022, a CiMTB aumentou ainda mais sua relevância internacional, com a realização da etapa de abertura da Copa do Mundo Mercedes-Benz de Mountain Bike 2022, em Petrópolis, já em 2024 organizou a etapa de Araxá da WHOOP UCI Mountain Bike World Series. Além disso, foi responsável pela construção da pista de mountain bike dos Jogos Olímpicos Rio 2016, considerada uma das melhores da história dos Jogos desde 1996, primeiro ano do MTB em Olimpíadas.Mais informações sobre a CiMTB:Site: https://www.cimtb.com.brInstagram: http://www.instagram.com/cimtbFacebook: http://www.facebook.com/cimtb/Twitter: http://www.twitter.com/cimtb_oficialThreads: https://www.threads.net/@cimtbTikTok: https://www.tiktok.com/@cimtboficialFlickr: https://www.flickr.com/photos/cimtb/albums/
-
Otimizando o Treino Feminino: Sincronizando os treinos com o Ciclo Menstrual para o Melhor Desempenho e Bem-Estar
Para muitas mulheres que amam treinar duro e intenso, o ciclo menstrual é um fator que pode influenciar o desempenho físico e o bem-estar geral. Compreender as flutuações hormonais e adaptar a rotina de treinos a cada fase pode ser uma estratégia poderosa para otimizar os resultados, minimizar desconfortos e promover uma relação mais saudável com o corpo. A ideia aqui não é simplesmente definir que você deve treinar mais leve necessariamente em algumas fases do ciclo, mas sim te auxiliar a entender como o seu corpo responde de forma individual em cada ciclo, já que em uma rotina comum há fases da vida com mais ou menos treino, maior estresse em outras áreas da vida, que muitas vezes impactam diretamente em como o seu corpo responde ao treino. Este guia, embasado em evidências científicas, explora como conciliar os treinos com o ciclo menstrual, destacando a importância de hábitos de vida saudáveis e da autoconexão. Entendendo as Fases do Ciclo Menstrual e Seus Impactos no Treino O ciclo menstrual, que dura em média 28 dias, é regulado por uma complexa interação de hormônios, principalmente estrogênio e progesterona. Essas flutuações hormonais podem afetar a força, a resistência, a recuperação e até mesmo o humor. Para algumas mulheres o ciclo menstrual gera muito constrangimento, mas não precisa ser assim. Você pode aos poucos entender os sintomas como um fator de regular o seu corpo e decidir como fica melhor para você organizar seus treinos com um treinador, nutricionista ou mesmo sozinha. Sugiro ter acompanhamento profissional caso treine para provas! 1. Fase Folicular (Do 1º dia da menstruação até a ovulação) O que acontece: Nesta fase, os níveis de estrogênio aumentam progressivamente. Muitas mulheres experimentam mais energia, força e uma melhor capacidade de recuperação. No treino de endurance: Este é um período excelente para treinos de maior volume e intensidade. Sinta-se à vontade para realizar corridas ou pedaladas longas ou sessões intensas de natação. É quando o corpo pode responder melhor a cargas de treino mais elevadas, favorecendo adaptações e ganhos de desempenho. 2. Fase Ovulatória (Meio do ciclo) O que acontece: Ocorre um pico de estrogênio e, em seguida, a liberação do óvulo. A energia geralmente permanece alta, mas o estrogênio elevado pode aumentar a frouxidão ligamentar, algumas mulheres podem sentir já alguma alteração nessa fase negativa, especialmente se estiverem muito cansadas cronicamente. No treino de endurance: Mantenha a intensidade se sentir bem, mas redobre a atenção à técnica para evitar lesões. Seus treinos de endurance podem continuar com boa performance, mas evite movimentos que coloquem grande estresse nas articulações ou que exijam máxima flexibilidade em posições de alto impacto. 3. Fase Lútea (Pós-ovulação até a próxima menstruação) O que acontece: Os níveis de progesterona estão elevados, o que pode aumentar a temperatura corporal basal e a percepção de esforço. Sintomas pré-menstruais como inchaço e fadiga também são comuns. No treino de endurance: Este é o momento para reduzir a intensidade e o volume. Opte por treinos de endurance mais leves a moderados, como caminhadas longas, trotes leves, natação relaxante ou ciclismo menos intensos. Priorize a recuperação, alongamentos e atividades que promovam o bem-estar para lidar com possíveis desconfortos e fadiga. Não quer dizer que você precisa reduzir, mas caso tenha muitos sintomas é importante primeiro se conectar com o corpo, ajustar nutrição, descansar mais e dormir melhor e ancorar uma rotina saudável para que esta fase possa ser preservada o máximo possível e avaliada de ciclo a ciclo. Pilares Essenciais para o Bem-Estar e Desempenho Feminino Além da adaptação do treino, outros fatores cruciais influenciam a capacidade da mulher de conciliar o exercício com o ciclo menstrual: 1. A Importância de um Sono de Qualidade: O sono é fundamental para a recuperação muscular, a regulação hormonal e o bem-estar mental. A privação de sono pode exacerbar os sintomas da TPM, comprometer a performance e aumentar o risco de lesões. Dicas: Priorize 7-9 horas de sono por noite, mantenha um horário de sono regular, crie um ambiente propício para o descanso e evite estimulantes antes de dormir. 2. Hidratação Adequada: Manter-se bem hidratada é vital para todas as funções corporais, incluindo a regulação da temperatura, o transporte de nutrientes e a eliminação de toxinas. A desidratação pode levar à fadiga, cãibras e queda de desempenho, especialmente na fase lútea, onde a temperatura corporal pode estar mais elevada. Dicas: Beba água regularmente ao longo do dia, antes, durante e após o treino. Considere a ingestão de eletrólitos em treinos longos ou em climas quentes. 3. Nutrição Balanceada: Uma alimentação rica em nutrientes é a base para sustentar os treinos, auxiliar na recuperação e equilibrar as flutuações hormonais. Lembre-se que se você chegou ao pré-menstrual mais “cansada ou irritada” talvez você aumente o desejo por alimentos que vão aumentar ainda mais retenção hídrica e inflamação. Dicas: Consuma uma variedade de frutas, vegetais, proteínas magras, carboidratos complexos e gorduras saudáveis. Atente-se à ingestão de ferro (especialmente durante a menstruação), magnésio e vitaminas do complexo B, que podem auxiliar nos sintomas da TPM. Evite alimentos processados, excesso de açúcar e cafeína, que podem piorar os sintomas pré-menstruais. 4. Evitar o Treino em Excesso (Overreaching e Overtraining): O excesso de treinamento pode levar à fadiga crônica, queda de desempenho, desequilíbrios hormonais e aumento do risco de lesões. É crucial ouvir os sinais do corpo e permitir tempo adequado para a recuperação. Dicas: Planeje dias de descanso ativo ou completo, varie a intensidade dos treinos, e esteja atenta a sintomas como fadiga persistente, insônia, alterações de humor e dores musculares prolongadas. 5. Conexão com o Corpo: Anotação dos Sintomas do Ciclo em Aplicativos: A prática de registrar os sintomas e sensações em cada fase do ciclo menstrual por meio de aplicativos (como PC (este que eu Juliana uso) Clue, Flo, My Calendar, etc.)) é uma ferramenta poderosa para a autoconexão e o autoconhecimento. Benefícios: Identificação de Padrões: Ajuda a perceber como as flutuações hormonais afetam o humor, a energia, a fome, o sono e o desempenho nos treinos. Adaptação Personalizada: Permite ajustar o planejamento de treino e nutrição de forma mais individualizada e eficaz. Comunicação com Profissionais: Facilita a comunicação com médicos, nutricionistas e treinadores, fornecendo dados concretos sobre o ciclo. Empoderamento: Promove uma compreensão mais profunda do próprio corpo, capacitando a mulher a tomar decisões mais conscientes sobre sua saúde e bem-estar. Conclusão Sincronizar o treino com o ciclo menstrual não é uma regra rígida, mas sim uma estratégia inteligente para maximizar o desempenho e o bem-estar feminino. Ao compreender as nuances hormonais de cada fase, adaptar a intensidade e o tipo de exercício, e priorizar hábitos de vida saudáveis como sono, hidratação e nutrição, a mulher pode potencializar seus resultados, reduzir desconfortos e cultivar uma relação mais harmoniosa e poderosa com seu corpo. A autoconexão, facilitada pelo registro dos sintomas do ciclo, entra como uma ferramenta indispensável para essa jornada e permite com que a mulher consiga gerenciar melhor as variáveis que podem impactar positiva e negativamente seus treinos. Referências Bibliográficas Hackney, A. C., & Lane, A. R. (2018). The Endocrine System. In J. R. Sport, T. Exercise, & K. (Eds.), Physiology of sport and exercise (6th ed., pp. 317–335). Human Kinetics. Shultz, S. J., & Butler, R. J. (2017). Hormonal influences on knee joint laxity in female athletes. Sports Medicine. Tenan, M. S., et al. (2016). Effects of menstrual cycle phase on thermoregulatory responses to exercise. Medicine & Science in Sports & Exercise, 48(8), 1599-1606. McLean, C. M., & Phelan, E. (2019). Sleep and the elite athlete: a systematic review and recommendations. Journal of Science and Medicine in Sport, 22(1), 1-8. Dunford, M., & Doyle, J. A. (2014). Nutrition for Sport and Exercise. Cengage Learning. Cadegiani, F. A., Kater, C. E., & Correa-Giannella, M. L. (2020). Overtraining Syndrome: A practical guide. Frontiers in Endocrinology, 11, 577976. (PMID: 33469440. Setiawan, K. Y., et al. (2023). Smartphone applications for menstrual cycle tracking: a systematic review. Journal of Medical Systems, 47(1), 1-13.
-
Pâmella Oliveira garante o tetra no 23º Itaú BBA IRONMAN Brasil
Brasileira venceu de ponta a ponta. No masculino, argentino Luciano Taccone leva o bi com quebra de recorde. Numa das melhores disputas dos últimos anos, a brasileira Pâmella Oliveira fez história neste domingo (1º) no 23º Itaú BBA IRONMAN Brasil, a principal prova de triatlo da América Latina, realizada em Jurerê Internacional. A atleta capixaba conquistou o tetracampeonato consecutivo da competição (22/23/24/25), consolidando sua condição de maior vencedora da etapa. E a vitória foi em grande estilo, liderando as três modalidades e completando os 3,8 km de natação, 180 km de ciclismo e 42,2 km de corrida com o tempo de 8h46min17. A irlandesa Fiona Moriarty ficou em segundo lugar, com 9h00min13, seguida pela norte-americana Rachel Olson, com 9h16min16. No masculino, o argentino Luciano Taccone não fez por menos. Além do bicampeonato, ele ainda estabeleceu um novo recorde da prova e um dos cinco melhores tempos desde que o IRONMAN foi criado, com 7h31min46, superando o feito do britânico Tim Don em 2017, que havia marcado 7h40min23. O segundo lugar foi do brasileiro Manoel Messias, com 7h37min10, e o terceiro, do uruguaio Federico Scarabino, com 7h52min46. Em um dia de muito sol e temperatura amena, cerca de 2000 competidores de 33 países deram um show em Jurerê Internacional. O ritmo dos profissionais surpreendeu a todos desde a natação, permitindo prever excelentes tempos ao final do desafio. Pâmella Oliveira, apontada como grande favorita, mais uma vez, não decepcionou. Bastante focada, ela conseguiu impor seu ritmo, vencendo com uma vantagem de 14 minutos para a segunda colocada. “Realmente, eu não sabia qual das gringas poderia vir forte e quando me falaram que ela estava há três minutos, foi uma surpresa. Mas mantive a cabeça firme. Eu sabia que estava fazendo o ciclismo que tinha me preparado para fazer. Não me afobei e confiei na minha corrida. Comecei a primeira volta mais forte, como a gente tinha programado, para me impor e também aproveitar enquanto a perna ainda estava solta. Depois foi mais no coração mesmo”, afirmou. Ela ainda ressaltou o quarto título: “Ah, quando eu escuto a buzina da largada, eu esqueço se treinei bem ou não. Eu sou muito apaixonada por competir, pela disputa. Vencer aqui mais uma vez é maravilhoso. Claro, antes de tudo, eu queria fazer uma boa prova. E como as coisas foram se desenrolando bem, eu não queria deixar escapar essa primeira colocação. Estou feliz demais! Fazer parte desse hall de atletas com tantos títulos, agora meu nome vai ficar na história também”, completou. Recorde do percurso No masculino, Luciano Taccone, campeão em 2023, quis se redimir por deixar escapar o bi no ano passado. O triatleta fez uma prova incrível, com excelentes parciais em todas as modalidades e, mesmo diante de um adversário duro como Manoel Messias, cruzou a linha de chegada com uma vantagem de seis minutos. Seu ritmo foi tão forte que conseguiu quebrar o recorde e estabelecer uma das melhores marcas do mundo. “Ainda estou meio em choque, sabe? Nem me recuperei direito do esforço da prova, mas estou muito feliz com o que conquistei hoje, com o desempenho. Não tenho muito mais o que dizer, além disso”, afirmou, sob aplausos do público presente na arena. Ele não deixou de destacar o apoio do público: “Para começar, me senti em casa. Tinham muitos argentinos aqui e no Brasil também sou muito bem recebido, me respeitam demais, sempre me incentivam. Sou muito grato por isso. Sinto que não existe aquela rivalidade entre Argentina e Brasil, muito pelo contrário. Só posso agradecer a todos pelo apoio de hoje”, encerrou. Messias, que fez sua estreia na distância, também se destacou. Ele não desistiu de buscar o argentino na corrida e conseguiu tirar uma diferença de quase sete minutos para o adversário. “Cara, estou muito feliz. Uma estreia assim é fantástica e não posso pedir muito mais do que isso. Eu não consegui ser mais rápido que o Luciano — ele, pra mim, é um dos melhores do mundo nessa distância. Então, estou satisfeito. Vou trabalhar pra me aproximar mais, tentar chegar mais perto dele”, finalizou. O Itaú BBA IRONMAN Brasil é organizado pela Unlimited Sports, com patrocínio principal do Itaú BBA, e conta com o apoio do Governo de Santa Catarina, da Prefeitura de Florianópolis, da Fesporte, além de marcas como Track Field, Vivo, La Roche-Posay, Dorflex, Etapp, SOS Cardio, Omint e Arjon. Também conta com o co-patrocínio de Dux, Felt, Blue 70, PACCO, Oakberry, Boali, e o apoio de Tachão Ubatuba, Paçoquita e Sococo. Resultados 2025 Masculino 1. Luciano Taccone (ARG), 07:31:46 2. Manoel Messias dos Santos Junior (BRA), 07:37:10 3. Federico Scarabino (URU), 07:52:46 Feminino 1. Pamella Oliveira (BRA), 08:46:17 2. Fiona Moriarty (IRL), 09:00:13 3. Rachel Olson (EUA), 09:16:16 Programação Endereços: • Clube 12 de Agosto – Avenida Serv. José Cardoso de Oliveira, s/n – Jurerê Internacional, Florianópolis–SC. • P12 Parador – em frente ao Clube 12 de Agosto. 2 de junho • 9h – 14h: IRONMAN Village - P12 • 9h30 – 12h: Achados e Perdidos - Clube 12 de Agosto • 9h30: Premiação Top 5 por categoria e TriClubs - Clube 12 de Agosto • 11h: Cerimônia de Rolagem de vagas - Mundial 2025 (Feminino) - Clube 12 de Agosto • 12h: Cerimônia de Rolagem de vagas - Mundial 2025 (Masculino) - Clube 12 de Agosto Programação sujeita à alteração sem aviso. Itaú BBA IRONMAN Brasil – Campeões 2001- Eduardo Sturla (ARG), 8h11min10s / Wendy Ingraham (EUA), 9h10min02s 2002 – Spencer Smith (GBR), 8h15min38s/Nicole Leder (ALE), 9h24min45s 2003 – Oscar Galindez (ARG), 8h16min10s/ Bárbara Buenahora (ARG), 9h33min21s 2004 – Olaf Sabatchus (ALE), 8h19min32s/Fernanda Keller (BRA), 9h26min05s 2005 – Olaf Sabatchus (ALE), 8h50min56s/Joanna Zeiger (EUA), 9h29min43s 2006 – Oscar Galindez (ARG), 8h15min18s/Lisbeth Kristensen (DIN), 9h20min46s 2007 – Oscar Galindez (ARG), 8h21min11s/Nina Kraft (EUA), 9h12min39s 2008 – Eduardo Sturla (ARG), 8h28min24s/Fernanda Keller (BRA), 9h24min49s 2009 – Eduardo Sturla (ARG), 8h13min38s/Dede Griesbauer (EUA), 9h10min14s 2010 – Luke McKenzie (AUS), 8h07min38s/Tereza Macel (CAN), 9h26min08s 2011 – Eduardo Sturla, (ARG), 8h15min03s/Amy Marsh (EUA), 9h09min39s 2012 – Ezequiel Morales (ARG), 8h22min40s/Sofie Goss (BEL), 9h17min42s 2013 – Timothy ODonnell (EUA), 8h01min32s/Amanda Stevens (EUA), 9h05min52s 2014 – Igor Amorelli (BRA), 8h07min53s/Sara Gross (CAN), 8h56min34s 2015 – Marino Vanhoenacker (BEL)/7h53min44s/Ariane Monticeli (BRA), 8h59min08s 2016 – Brent McMahon (CAN), 7h46min11s/Elizabeth Lyles (EUA), 8h54min11 2017 – Tim Don (GBR), 7h40min23s**/Susie Cheetham (GBR), 8h52min00s 2018 – Jesper Svensson (SUE), 8h08min06s/ Kirsty Jahn (DIN), 8h54min57 2019 – Andrew Potts (EUA), 8h02min57s/Sarah Piampiano (EUA), 8h40min48 ** 2022 – Reinaldo Colucci (BRA),7h48min27s/Pâmela Oliveira (BRA), 8h54mn01s 2023 – Luciano Taccone (ARG), 7h55min38s/Pâmella Oliveira (BRA), 8h44min24 2024 – Reinaldo Colucci (BRA)7h58min37/Pâmella Oliveira (BRA), 8h57min41 2025 – Luciano Taccone (ARG), 7h31min46/Pâmella Oliveira (BRA), 8h46min17 Mais informações no site oficial: www.ironmanbrasil.com.br. Fotos: (Fábio Falconi/Unlimited Sports)
-
Creatina e Ciclismo: Tomar ou Não Tomar?
A creatina é um suplemento amplamente estudado e utilizado por atletas, especialmente em esportes de força e curta duração. Qualquer esporte que envolve sprints, altíssima intensidade em estímulos que envolvem segundos ou até minutos podem ter benefícios na suplementação de creatina, especialmente para aumentar a resistência a fadiga. O mecanismo é o seguinte: o corpo usa o ATP (adenosina trifosfato) como fonte imediata de energia. Quando você realiza um movimento de explosão (como levantar peso ou correr uma curta distância ou realizar um sprint na bike por 30’s), o ATP se quebra rapidamente para liberar energia, tornando-se ADP (adenosina difosfato). Então, a fosfocreatina atua como uma "bateria de emergência". Ela doa um grupo fosfato ao ADP para regenerar o ATP de forma rápida, permitindo que você continue exercendo força por mais alguns segundos — ideal para exercícios curtos e intensos. E isso seria benéfico ao pensar no ciclismo, já que em muitos momentos do treinamento há realização de sprints inseridos nas sessões de treinos. Teoricamente, teríamos o benefício desta forma: A regeneração do ATP se torna mais rápida e eficiente Você consegue manter o esforço por mais tempo Isso resulta em melhor desempenho em séries curtas, intensas e repetidas No entanto, seu impacto no ciclismo, particularmente em provas de resistência, ainda gera discussões. Separamos os principais benefícios e malefícios da suplementação com creatina para ciclistas, com base em evidências científicas. Porque a ciência deve encontrar sempre a prática e onde não encontrar, deve, ao menos , se justificar na ausência dos estudos. Benefícios da Creatina para Ciclistas Fonte da imagem: (Caetano Junior et al, 2011) Aumento da Potência em Sprints: A creatina pode melhorar a performance em sprints e esforços de alta intensidade, comuns em provas de ciclismo. Um estudo publicado no Journal of Applied Physiology demonstrou que a suplementação com creatina aumentou a potência de pico em sprints realizados após um exercício de resistência . Lembrando, os protocolos dos estudos são curtos e não estão inseridos dentro de um contexto de treino de 2 horas. Melhora na Recuperação Muscular: A creatina pode auxiliar na recuperação muscular, reduzindo danos e inflamações após treinos intensos. Isso é particularmente benéfico para ciclistas que treinam com alta frequência e intensidade . Benefícios Cognitivos: Alguns estudos indicam que a creatina pode melhorar a função cognitiva, como memória e foco, o que é vantajoso durante provas longas que exigem concentração constante . Aqui ainda existem muitas controvérsias. Malefícios e Considerações... Aumento de Peso: A suplementação com creatina pode levar ao aumento de peso devido à retenção de água nos músculos. Esse ganho de peso pode ser indesejável para ciclistas que competem em categorias que exigem peso corporal baixo ou quando o ciclista está em período de competições e estas são provas “de montanha”. Desidratação: A retenção de água nos músculos pode aumentar o risco de desidratação, especialmente em ambientes quentes. Ciclistas que utilizam creatina devem garantir uma ingestão adequada de líquidos. Problemas Gastrointestinais: Alguns usuários podem experienciar desconfortos gastrointestinais, como náuseas, cólicas ou diarreia, especialmente durante a fase de carga com doses elevadas . Segurança a Longo Prazo: Embora seja considerado um dos suplementos mais seguros, é recomendado que a suplementação seja orientada por um profissional de saúde e monitorada regularmente . Um exemplo clássico de suplementação de creatina para vocês entenderem como funciona a fase de “carga” Protocolos de Suplementação de Creatina O protocolo mais comum recomendado por organizações como o ACSM e a International Society of Sports Nutrition (ISSN) inclui: Fase de Carga: 20 g/dia, divididos em 4 doses de 5 g, durante 5 a 7 dias. Fase de Manutenção: 3 a 5 g/dia por períodos prolongados.BioMed Central+7Lippincott+7ods.od.nih.gov+7precisionhydration.com+7Verywell Health+7PMC+7 Alternativamente, pode-se optar por uma dose única diária de 3 a 5 g/dia desde o início, o que leva mais tempo para saturar os estoques musculares, mas pode ser preferível para evitar efeitos adversos gastrointestinais. Conclusão A suplementação com creatina pode oferecer benefícios significativos para ciclistas, especialmente em provas ou períodos em que se deseja obter benefícios através do melhor aproveitamento de sprints na bike, especialmente aqui. No entanto, é essencial considerar os possíveis efeitos adversos, como aumento de peso e risco de desidratação. A decisão de utilizar creatina deve ser baseada em uma avaliação individualizada, levando em conta as características específicas de cada ciclista e suas necessidades nutricionais. Consultar um nutricionista esportivo o especializado é fundamental para garantir o uso seguro e eficaz desse suplemento. Referências: CAETANO JÚNIOR, Paulo Cesar; RIBEIRO, Silvia Regina; LEMES, Lia Campos; PRIANTI JÚNIOR, Antônio Carlos; RIBEIRO, Wellington. Creatina no esporte: revisão de literatura. EFDeportes.com, Revista Digital, Buenos Aires, ano 16, n. 162, nov. 2011. Disponível em: https://www.efdeportes.com/efd162/creatina-no-esporte-revisao-de-literatura.htm. Acesso em: 19 maio 2025. GREENHAFF, P. L. et al. Influence of oral creatine supplementation on muscle torque during repeated bouts of maximal voluntary exercise in man. Clinical Science, v. 84, p. 565–571, 1993. Disponível em: https://pubmed.ncbi.nlm.nih.gov/9839847/. Acesso em: 19 maio 2025. TRAININGPEAKS. The Pros and Cons of Creatine Monohydrate for Endurance Athletes. 2021. Disponível em: https://www.trainingpeaks.com/blog/creatine-for-endurance-athletes/. Acesso em: 19 maio 2025. BICYCLING. Creatine Supplements: What to Know Before You Buy. 2024. Disponível em: https://www.bicycling.com/health-nutrition/a64555407/benefits-of-creatine-supplements-for-cyclists/. Acesso em: 19 maio 2025. PROCYCLINGUK. What are the pros and cons of using creatine as a cyclist?. 2023. Disponível em: https://procyclinguk.com/what-are-the-pros-and-con-of-using-creatine-as-a-cyclist/. Acesso em: 19 maio 2025. REVISTA MULTIDISCIPLINAR DO SERTÃO. Os benefícios e malefícios da creatina condicionada ao uso orientado por meio do profissional capacitado. Revista Multidisciplinar do Sertão, v. 6, n. 1, 2023. Disponível em: https://www.revistamultisertao.com.br/index.php/revista/article/view/506. Acesso em: 19 maio 2025. OFFICE OF DIETARY SUPPLEMENTS – NATIONAL INSTITUTES OF HEALTH. Creatine: Fact Sheet for Health Professionals. 2023. Disponível em: https://ods.od.nih.gov/factsheets/ExerciseAndAthleticPerformance-HealthProfessional/. Acesso em: 19 maio 2025. COOK, C. J.; KILLEN, L. G.; KISSICK, J. et al. Creatine supplementation and exercise: a brief review. Current Sports Medicine Reports, v. 20, n. 4, p. 169–173, 2021. Disponível em: https://journals.lww.com/acsm-csmr/fulltext/2021/07000/creatine_supplementation__an_update.3.aspx. Acesso em: 19 maio 2025.
-
Stage Race: Meu Relato Pessoal para 4 Dias de Mountain Bike
Encarar a Ultra Brou Serra da Canastra, com seus 4 dias de puro mountain bike, exige mais que paixão pela bike. A preparação foi um mergulho profundo em treinos estratégicos, nutrição precisa e testes rigorosos de suplementação durante os treinos longos. Fazia mais de 1 ano e meio que eu não largava e não treinava bem por conta da rotina pessoal. Este retorno foi somente o começo e quero muito contar para vocês essa experiência. Afinal, nem sempre estamos na melhor fase, então este retorno para mim – que já tenho experiência nesse tipo de prova – foi especial. Treinamento: Foco em longas distâncias e ganho de elevação. Pedaladas de 60-100km nos finais de semana, simulando quando possível o terreno desafiador da Canastra. Em SP difícil, mas fui dando conta das trilhas na Serra do Japi em Jundiaí e na Cantareira, zona norte de SP. Treinos intervalados de alta intensidade para melhorar o VO2 máximo e a capacidade de recuperação. Musculação funcional para fortalecer o core e evitar lesões. Isso meu treinador Leandro Sant’Ana que é fisiologista comandou super bem, lembrando que considerei isso com três trabalhos e uma rotina super desafiadora de trabalhadora comum e dona de casa. Suplementação: Por incrível que pareça tenho dificuldade em comer! Literalmente fiz os treinos longos apenas com C90 e Hydrafour da Fourlab. Não usei nenhum gel, preferi sair com as duas caramanholas, totalizando 200g de carboidrato. Treinei isso para nem precisar de água pura, deu super certo e foi a combinação ideal para manter a energia e a hidratação. Suplementação extra veio com beta alanina, nitrato e bicarbonato de sódio. Nutrição: Planejamento alimentar individualizado com acompanhamento de nutricionista esportivo – EU. Prioridade para carboidratos complexos, proteínas magras e gorduras saudáveis. Ajustes na dieta para otimizar a performance e a recuperação em cada etapa da prova. Nesse sentido nada de muita proteína e nem restrição, durante as etapas comia muito arroz, macarrão, batata-doce e até doce de leite e bolo quando percebia que perdia o apetite e precisava de algo mais calórico. Bike: Fui de Caloi Elite Racing, da nova geração das bikes da Caloi versão full, me atendeu integralmente com a suspensão dianteira de 120mm e traseira de 110mm. Bem montada e equipada me senti ÓTIMA mesmo sendo o quarto pedal em cima dela rs! Eu só gostaria ter usado um pedivela 170, está com 175mm, mas de resto perfeito. Usei coroa 34 todos os dias também e cassete 52. Dormimos em barracas, eu dormi 5 dias em uma, dirigi sozinha até o evento, foi correria. Quase ninguém dorme bem em barracas, é desconfortável, mas meu Whoop – aquele equipamento que o Pro Tour usa! que mede meus parâmetros de sono e de treino disse que dormi bem, isso porque são anos cuidando do sono com exercícios de respiração, boa nutrição e cuidado ao corpo, aprendi a dormir bem em qualquer lugar! Sem fingimento e sem frescura. Um breve resumo das etapas aqui! Etapa 1 dia do prologo: 16km com 500m+D – técnico na medida: single de mata fechada, trecho de pedra, single de pasto, curvas e retomadas, que etapa! Foi pouco mais de 1h e me senti bem. As trilhas do prólogo foram dentro da pousada vale do céu, que era justamente onde era nosso acampamento. Inclusive a marcação e cuidado das trilhas estava acima da média! Etapa 2 Serra branca/Babilonia: 63,5km com 1550m+D – a etapa com a serra branca que tem ali pontos de inclinação de 24% e média de 12%. Estradões quase não rendem pois tem bastante pedrinhas, sobe e desce o tempo inteiro. Após essa serra dura e curta, desce para a parte de pedras, não tanta trilha, mas com certeza nesse dia conhecemos de fato a SERRA DA CANASTRA, dura, mas bela! Etapa 3 - rainha: 60km com 1700m+D – etapa que mais passamos por travessias em riachos, com subidas que não rendem por conta das pedras, etapa com maior porcentagem de trilha técnica em pedra, muito empurra bike e o final? MAIS SUBIDA! Aqui teve gente que demorou 8h para concluir a etapa! Eu demorei 5h. Naquela estratégia de nutrição intra toda carbada na caramanhola e comendo bem sempre o dia inteiro, não só a noite. Afinal, toda nossa alimentação foi bem rica dentro do acampamento que era ali administrado pela Pousada Vale do Céu. Etapa 4 – Rock’n roll 55,2km com 1680m+D – pasmem, foi a etapa mais leve! E ainda sim contou com uma serra de 8km mais rolada que a serra branca, mas igualmente dura em sua extensão. Poucas trilhas, mas as que tinham exigia bastante técnica pois teve muito degrau alto! Aqui foram 3h59, e fiquei muito feliz pois cheguei ai bem. Se rendeu pódio? Rendeu o P3 todos os dias! Mas acima de tudo foi o retorno da vontade de competir e de treinar e agora de forma equilibrada com uma vida intensa e cheia de trabalho e relacionamentos a cultivar. E não se esqueçam de curtir cada minuto em cima e fora da bike! Essa experiencia não tem preço! Estar numa stage races como essa é especial e única. A Ultra Brou Serra da Canastra é um desafio épico e transformador mental e emocionalmente. Com a preparação adequada, me senti pronta para superar meus limites e desfrutar cada quilômetro dessa aventura. E fui de iQuê todos os dias, sabe por que? Porque é aqui onde tenho conforto, estilo, ventilação e tecnologia para passar horas a fio em cima do selim!
-
Tadej Pogacar vence com ataque no Mur de Huy na Fleche Wallonne
Ainda com aparente rancor do seu segundo lugar na Amstel Gold Race, Tadej Pogacar testou Remco Evenepoel nos últimos quilômetros da Fleche Wallone e atacou o pelotão nos metros finais, deixando todos sem qualquer possibilidade de reação "É uma sensação muito boa vencer novamente aqui nesta difícil subida final, tão linda", disse ele. "Como ciclista, você não gosta muito. Hoje o tempo também não estava dos melhores, então foi uma corrida difícil, e vencer significa muito." Ele acrescentou: "Corremos muito bem como equipe hoje, seguimos o plano. Foi uma corrida difícil e os caras tiveram pernas superboas. Temos mais ou menos a mesma equipe para domingo, e acho que podemos fazer uma ótima corrida novamente.", falando sobre a Liège – Bastogne – Liège. Pogačar ficou conhecido por seus característicos ataques de longa distância em um único dia. Desta vez, sua vitória veio após uma manobra com apenas algumas centenas de metros de vantagem. Mas mesmo isso foi impossível de conseguir depois de um dia exaustivo na Bélgica. Abaixo, o resumo da corrida
-
8 motivos para você que treina beber ainda mais água
Todos os dias bebemos água. A OMS (Organização Mundial de Saúde) recomenda o consumo médio de 2 litros de água potável por dia para adultos. Adultos não praticantes de esporte, porque quando adicionamos o tema: esportes, ainda mais como ciclismo, corrida e natação realizados no Brasil, temos motivo suficiente para inclusive dobrar e até triplicar este consumo de água. Só para se ter uma ideia da importância de beber água, é ela a responsável por transportar vitaminas e minerais dos alimentos que consumimos, gerar energia para realizar as atividades do dia, regular a temperatura corporal, entre muitas outras funções no corpo humano, a agua ainda compõe 60% do nosso corpo. Quando em situações de treino, além de participar da hidratação direta do corpo, é responsável pela boa absorção de carboidratos e eletrólitos nas células fornecendo energia direta ao músculo para a contração. E mesmo sendo tão essencial, a maioria de nós esquecemos sobre a sua importância e dos benefícios de tomar água em quantidades adequadas ao longo do dia. O nosso corpo se encontra em constante ajuste entre a perda e a ingestão de água, e quando a perda é maior do que a quantidade ingerida, ocorre a desidratação. Mas o que acontece quando não bebemos água? A desidratação pode gerar diversos sintomas, como: 1. FALTA DE ENERGIA O cansaço pode ser ocasionado já na desidratação leve, porque a água ajuda o corpo a aumentar os níveis de energia por meio do transporte de glicose ou glicogênio para dentro das células; ou seja, mesmo durante o exercício, as vezes a fadiga se dá por desidratação, não somente por falta de carboidratos ingeridos intra-treino. 2. CONSTIPAÇÃO Para que o intestino funcione adequadamente, é necessário que tanto o consumo de fibras como o de água estejam em dia, impedindo o ressecamento; 3. FOME OU GANHO DE PESO Devido à falta de energia ocasionada pela desidratação, o cérebro pode interpretar e confundir o sinal de sede como fome, e com isso, busca-se mais comida, aumentamos o intake calórico e ganha-se peso 4. RETENÇÃO DE LÍQUIDOS A desidratação ocasiona a liberação de um hormônio antidiurético (vasopressina) que diminui a produção e formação da urina e provoca o surgimento de edemas; é válido lembrar que a retenção de líquidos que ocorre no esporte também pode ocorrer por falta de ingestão correta de água em solução contendo eletrólitos. 5. MAU HÁLITO As bactérias presentes na boca em desequilíbrio podem ser responsáveis por causar o mau hálito e essas podem ser evitadas através de uma boa hidratação, uma vez que a saliva é antibacteriana e a sua produção é aumentada quando o organismo está hidratado; 6. DÉFICIT DE MEMÓRIA A desidratação pode prejudicar o funcionamento dos neurônios e gerar sintomas e sinais como dores de cabeça, falta de atenção, confusão mental, sonolência e em casos mais graves, até coma; lembrando que o sistema cognitivo é fundamental no esporte, uma vez que o nível de concentração está mais baixo, você fica mais exposto a acidentes e quedas. 7. FALHAS NO SISTEMA CIRCULATÓRIO Estar com boa hidratação corporal torna o sangue mais ‘’fino’’, fazendo-o com que circule melhor e dessa forma, auxilia o coração a funcionar e a manter a frequência cardíaca e a pressão arterial mais baixa e controlada; lembrando que um dos fatores que mantém uma frequência cardíaca compatível com o esforço no exercício é justamente estar hidratado. 8. BAIXO DESEMPENHO NO ESPORTE A desidratação leve pode levar a uma queda de até 10% no desempenho esportivo, sendo crucial beber bastante água ao longo dos treinos, já que nos desidratamos através do suor; com isso a ideia é se hidratar antes, durante e após os treinos. Em treinos muito longos é possível até realizar protocolos de hidratação no dia anterior para garantir um bom estado nutricional ao iniciar o exercício. Constantemente recebemos a orientação de beber bastante água - Mas quanto de água devo beber por dia? E a água que tenho que tomar por dia se eu treino? A recomendação de água por dia varia de acordo com a faixa etária, sexo e a prática de atividade física, mas no geral, um indivíduo adulto deve beber pelo menos 35ml de água por kg. Ou seja, um indivíduo de 70kg deve consumir 70kg x 35mL = 2,45L água/dia. Contudo, se você faz exercício esta conta poderá ser: 50mL de água por kg. Ou seja, o mesmo individuo de 70kg deve consumir 3,5L água/ dia. De forma resumida, não consumir água impede que o corpo funcione de forma adequada e sabendo disso, selecionamos algumas dicas para você se manter hidratado ao longo do dia. DICAS PARA SE MANTER HIDRATADO · Tenha uma garrafa: A garrafa poderá ser disposta a sua frente na mesa do escritório ou em local de fácil acesso para que você consiga ter como mensurar o quanto se está consumindo de liquido durante o dia. · Utilize aplicativos (ou o próprio despertador do celular): existem diversos aplicativos que podem ajudar a te manter hidratado através de alarmes e lembretes constantes. Programe-se até adquirir o hábito. · Utilize água saborizada: Saborize a água com rodelas de frutas, ervas e raízes para te incentivar a beber mais água e em alguns casos, até diminuir o hábito de tomar refrigerantes e sucos industrializados. · Consuma água de coco: Se o problema ainda é a “água sem graça”, utilize a água de coco para adquirir o hábito de consumir mais líquidos. Mas durante o exercício lembre-se que a água de coco possui bastante potássio e é indicado a maior ingestão de sódio durante exercícios, sendo o potássio de menor importância. · Consuma mais frutas e vegetais, especialmente os mais aquosos: Além de entregarem nutrientes, os vegetais e frutas podem também fornecer ótimas quantidades de água ao nosso organismo. Alguns vegetais e frutas com maior potencial hidratante: Vegetais: pepino, alface romana, aipo, rabanete, abobrinha, tomate, couve-flor, espinafre, brócolis, cenoura e brotos. Frutas: carambola, melancia, morango, abacaxi, melão, mirtilo, kiwi, maçã, pera e uva. E lembre-se que, beber água durante o dia representa a maior parte do que precisamos inclusive para ter boa hidratação ao iniciar o treino. Confira também nossa última publicação em que trouxemos o tema: você sabe treinar no calor? . Neste texto exploramos a ingestão de água durante o treino e estratégias complementares para que você tenha saúde e performance nos treinos. REFERÊNCIAS Popkin BM, et al. Water, hydration, and health. Nutr Rev. 2010. Chang T, et al. Inadequate Hydration, BMI, and Obesity Among US Adults: NHANES 2009–2012. Annals of Family Medicine; 2016. Daniels MC; Popkin BM. Impact of water intake on energy intake and weight status: a systematic review. Nutr Rev. 2010. Sepeda TPA, et al. Avaliação Da Perda Hídrica E Hábitos De Hidratação De Atletas Universitários De Futsal Competitivo. Rev Bras Med Do Esporte. 2016. Sharp G. The Ultimate Guide to Hydration – Why Water is the True Elixir of Life and How You can Stay Hydrated Throughout the Day. Real. Cool. Media. 2014 Boilesen SN, et al. Water and fluid intake in the prevention and treatment of functional constipation in children and adolescents: is there evidence? J Pediatr (Rio J). 2017. Chang T, et al. Inadequate Hydration, BMI, and Obesity Among US Adults: NHANES 2009–2012. Annals of Family Medicine; 2016. Jéquier E; Constant F. Water as an essential nutrient: the physiological basis of hydration. Eur J Clin Nutr. 2010. Thornton SN. Thirst and hydration: Physiology and consequences of dysfunction. Physiol Behav. 2010. El-Sharkawy AM, Sahota O, Lobo DN. Acute and chronic effects of hydration status on health. Nutr Rev. 2015
-
IRONMAN 70.3 Brasília: atletas olímpicos estreiam com vitória e quebram recordes
Miguel Hidalgo e Djenyfer Arnold foram os destaques da etapa de abertura da temporada. Os “novatos” brilharam no Itaú BBA IRONMAN 70.3 Brasília, realizado neste domingo, marcando o retorno da cidade ao calendário após uma década. Miguel Hidalgo e Djenyfer Arnold, atletas olímpicos que representaram o país nos Jogos de Paris 2024, tiveram um domingo perfeito na Capital Federal. Ignorando o fato de estarem fazendo a distância pela primeira vez e a qualidade dos adversários, eles venceram a etapa e ainda estabeleceram novos recordes. O paulista Hidalgo completou os 1,9 km de natação, 90 km de ciclismo e 21,1 km de corrida em 3h31min43, seguido de perto pelo francês Casimir Moine, que fez em 3h32min22. O argentino Luciano Taccone terminou em terceiro, com 3h35min43. Já a catarinense Djenyfer venceu com o tempo de 4h01min33, uma grande vantagem sobre a segunda colocada, a turca Sinem Francisca Tour Servera, que fez 4h15min38. A brasileira Pietra Meneghini completou o pódio em terceiro, com 4h25min27. Apontado no sábado, durante a coletiva de imprensa, como um dos grandes candidatos à vitória, Miguel Hidalgo não decepcionou em Brasília. Ele foi o primeiro a sair da água e manteve a liderança na bike. Na corrida, mesmo sentindo o esforço, completou em primeiro lugar com um tempo incrível, superando a marca do britânico Tim Don, que em 2015 fez 3h47min47. “Gostei muito, mas na última volta já estava pensando que não queria nunca mais fazer isso na minha vida”, brincou o campeão. “A nova rotina acabou me confundindo e esqueci de pegar três géis. A partir daí, após forçar muito no pedal, achava que ia quebrar na última volta, e acabou acontecendo. Completei na raça, e é ótimo ganhar, ainda mais na primeira vez”, completou. Feminino A disputa feminina teve um roteiro bem parecido. Djenyfer começou forte e aumentou o ritmo ao longo da prova. Na briga pela vitória, ainda teve a seu favor o fato de Pâmella Oliveira, também forte candidata, abandonar. Ela também ressaltou que sentiu o esforço. “Mas vou dizer que os dois últimos quilômetros foram muito difíceis. Acho que exagerei um pouco no começo, então fica a dica: se você exagera no treino, vai exagerar na prova. Não adianta, o treino é reflexo da prova, foi isso que aconteceu comigo; paguei o preço no final, mas obtive um bom resultado e estou muito feliz por estrear no Itaú BBA IRONMAN 70.3 Brasília com a vitória e esse tempo”, afirmou. O recorde antes era da dinamarquesa Helle Frederiksen, com 4h04min16seg, de 2015. Ela ainda elogiou o evento. “A volta da Elite com esse percurso, uma organização linda, foi tudo de bom. Estava com medo do traçado porque não conhecia, mas estava tudo muito bem organizado, o que facilitou. Entrei na prova querendo muito essa vitória, mas com um pé atrás por não saber muito bem sobre essa distância. Felizmente, deu tudo muito certo e com certeza continuarei competindo no circuito”, completou. O Itaú BBA IRONMAN 70.3 Brasília é organizado pela Unlimited Sports, com o patrocínio do Itaú BBA, do Governo do Distrito Federal, da Secretaria de Estado de Esporte e Lazer do DF, e de marcas como Track Field, Vivo, La Roche-Posay, Dorflex, Etapp, Omint e Arjon. Também conta com o copatrocínio de Dux, Felt, Blue 70, PACCO, Oakberry, Boali, além do apoio de Tachão Ubatuba, Paçoquita e Sococo. Resultados Elite Masculino Miguel Hidalgo, 03:31:43 Casimir Moine (FRA), 03:32:22 Luciano Taccone (ARG), 03:35:43 Feminino Djenyfer Arnold (BRA), 04:01:33 Sinem Francisca Tour Servera (TUR), 04:15:38 Pietra Meneghini (BRA), 04:25:27 Campeões do Itaú BBA IRONMAN 70.3 Brasília:2006 - Oscar Galindez (ARG) 4h04min44seg/Fernanda Keller (BRA), 4h38min50seg2007 - Paulo Miyashiro (BRA), 4h06min34seg/Carla Moreno (BRA), 4h38min13seg2013 - Jérémy Jurkiewicz (FRA), 3h52min40seg/Amanda Stevens (USA), 4h20min55seg2014 - Tim Don (GBR), 3h46min54seg, e Mirinda Carfrae (AUS), 4h15min01seg2015 - Tim Don (GBR), 3h41min47seg, e Helle Frederiksen (DIN), 4h04min16seg 2025 – Miguel Hidalgo (BRA), 3h31min43/ Djenyfer Arnold (BRA), 4h01min33 Mais informações no site www.ironmanbrasil.com.br.
-
Copa do Mundo de MTB: Sueca Jenny Rissveds e norte-americano Christopher Blevins conquistam a segunda etapa em Araxá
Entre os atletas do Brasil, destaque para Ulan Galinski, o 12° na Elite masculina, e Giuliana Morgen, que foi a 7ª na Sub-23 feminina (Crédito: Cesar Delong/ Delong Media House)A sueca Jenny Rissveds (Canyon CLLCTV XCO) e o norte-americano Christopher Blevins (Specialized Factory Racing) foram os grandes nomes da segunda etapa da WHOOP UCI Mountain Bike World Series 2025 do Cross Country Olímpico (XCO). Na categoria Elite, disputada em Araxá-MG neste sábado (12/04), a dupla subiu ao lugar mais alto do pódio e foi ovacionada pelo público, que lotou as dependências do Grande Hotel Termas de Araxá.Entre os homens, Blevins agora lidera a classificação geral masculina tanto do XCO quanto do XCC: ele conquistou a dobradinha no XCC e uma vitória e um segundo lugar no XCO. Após conquistar a vitória há uma semana no mesmo local, a Specialized Factory Racing dominou novamente o pódio masculino, mas desta vez foi pressionada a conquistar a vitória: um grupo de dez ciclistas chegou à última volta juntos, mas foi só na subida final que o trio da equipe se destacou. Blevins foi o mais rápido no sprint, à frente dos dois companheiros de equipe, o chileno Martin Vidaurre em segundo e o francês Adrien Boichis em terceiro.Rissveds teve uma vitória mais confortável no evento feminino do XCO, com um ataque decisivo no meio do percurso para construir uma vantagem incontestável. A partir de então, fez força sozinha durante o restante da prova. A neozelandesa Samara Maxwell (Decathlon Ford Racing Team) foi a vice-campeã, mas a disputa mais acirrada foi pelo terceiro lugar: a britânica Evie Richards (Trek Factory Racing – Pirelli) superou a canadense Jennifer Jackson (Orbea Fox Factory Team) no sprint final e garantiu um lugar no pódio. O percurso em Araxá proporcionou um desafio diferente em relação à semana passada, com subidas curtas e intensas substituídas por uma longa subida de quatro minutos — que os homens completaram em 10 voltas e as mulheres em 9. A vitória de Christopher BlevinsA competição masculina foi extremamente emocionante. Dez atletas entraram na última volta muito próximos: os três do pódio estavam acompanhados do companheiro de equipe Victor Koretzky, do italiano Simone Avondetto (Willier-Vittoria Factory Team), o sul-africano Luke Moir, o suíço Filippo Colombo (ambos da Scott-Sram MTB Racing Team), o suíço Fabio Puntener, o francês Jordan Sarrou (BMC Factory Racing), o espanhol Jofre Cullell Estape (BH Coloma Team) e o alemão Luca Schwarzbauer (Canyon CLLCTV XCO). Pódio da Elite Masculina (Michal Cerveny/WHOOP UCI Mountain Bike World Series)Foi Puntener quem abriu uma pequena vantagem na volta final, após atacar pela segunda vez. No entanto, ele foi alcançado pelo trio da Specialized Factory Racing, com os quatro nas primeiras posições até a subida final. No final, Blevins conquistou a vitória no sprint final. “Adoro esse tipo de corrida em que tudo acontece ao mesmo tempo e você tem que se manter focado. Quando Boichis me ultrapassou naquela subida, nunca tinha visto um garoto com mais exuberância do que ele, ele é simplesmente brilhante. Tive que me esforçar muito para pedalar com ele. Martin [ Vidaurre ] também teve uma corrida incrível”, contou Blevins.“É uma sensação muito boa fazer isso com a equipe. Ter quatro camisas vermelhas na frente está mudando a forma como corremos”, complementou o líder do XCO. Entre os brasileiros, Ulan Galinski (Caloi Henrique Avancini Racing) seguiu mostrando consistência na temporada e foi o melhor atleta da casa na disputa, garantindo a 12ª posição – mesmo resultado dele na primeira etapa da Copa do Mundo. Alex Malacarne foi o 30°, Gustavo Xavier foi o 43°, José Gabriel o 49°, Nicolas Machado o 50°, Mario Couto o 55°, Sherman Trezza o 58° e Luiz Cocuzzi o 60°. “Muito feliz em manter a consistência, senti que dei um passo adiante em nível mundial neste ano. O caminho até o topo do mundo é longo, mas a gente vai continuar trabalhando para chegar lá. Muito agradecido à torcida de todos, à energia de todos. É muito especial correr em Araxá e a torcida me empurrou a ter esses excelentes resultados nessas duas etapas”, comentou Ulan. Arena lotada para receber o baiano Ulan Galinski (Crédito: Cesar Delong/ Delong Media House)A vitória da campeã na Rio-2016A sueca Jenny Rissveds surpreendeu com uma vitória solo incomum, conquistando a quarta vitória da carreira na Copa do Mundo UCI XCO. O calor escaldante em Araxá e a subida íngreme transformaram a prova em uma guerra, com pouca diferença entre as principais competidoras ao longo da prova.Após vencer a corrida de XCO da semana passada, Samara Maxwell (Decathlon Ford Racing Team) estava muito confiante desde o início. E parecia assumir o comando durante os tensos minutos iniciais. Uma longa subida em cada volta provou ser um desafio extenuante sob o calor - na segunda das nove voltas, Rissveds começou a se distanciar do pelotão, mas foi seguida de perto por Maxwell e Loana Lecomte (BMC Factory Racing).A manobra vencedora da corrida foi improvável, já que Rissveds tinha uma pequena vantagem na subida após cinco das nove voltas. Enquanto suas oponentes diminuíam o ritmo, a ex-campeã olímpica acelerou para construir uma vantagem."Foi novidade para mim estar tão sozinha em uma corrida da Copa do Mundo. Estou ganhando confiança, o que é muito bom e um grande avanço em relação ao último fim de semana”, comentou Jenny. "Eu queria ficar com o grupo no começo e depois tentei me adaptar ao meu ritmo. Talvez eu tenha ido um pouco cedo demais, mas não tão cedo quanto no último fim de semana, e acho que foi inteligente.Podemos parecer confiantes, mas acho que todos temos algumas dúvidas ", complementou. Samara Maxwell é a líder geral do XCO da Copa do Mundo 2025. Pódio da Elite Feminina na segunda etapa de Araxá (Crédito: Fabio Piva/ Red Bull Content Pool)Entre as brasileiras, Karen Olímpio foi a mais bem colocada, finalizando a prova na 28ª colocação. Raiza Goulão terminou na 30ª posição, Hercília Najara foi a 39ª, Sabrina Oliveira a 41ª, Liege Walter a 42ª e Luiza Souza a 43ª. A disputa no Sub-23Na Sub-23 Feminina, Isabella Holmgren mostrou que é a atleta a ser batida nesta temporada. A canadense conquistou a quarta vitória consecutiva dela em Araxá – duas no XCC e duas no XCO, vencendo todas as etapas da categoria na rodada dupla. Desta vez, ela foi seguida pela italiana Valentina Corvi e pela também canadense Ella Macphee, que inverteram os lugares no pódio em relação à primeira etapa. O público brasileiro foi ao delírio com a participação de Giuliana Morgen, que conquistou a 7ª colocação em uma chegada emocionante e foi ovacionada pela torcida – foi o melhor resultado do país nas duas etapas inaugurais de 2025. Outras duas brasileiras também fizeram bonito: Luiza Cocuzzi foi a 26ª e Carolina Ferreira ficou com a 30ª colocação. Gabriela Ferolla não terminou a prova. Na categoria Sub-23 masculina, o suíço Finn Treudler foi o campeão, garantindo a dobradinha nas duas etapas inaugurais do XCO em 2025. Completaram o pódio o norueguês William Handley e o italiano Elian Paccagnella, que venceu o XCC no dia anterior. Suíço comemora vitória na Sub-23 (Crédito: Michal Cerveny / WHOOP UCI MTB World Series)O melhor desempenho entre os brasileiros foi de Guilherme Galvão, que terminou na 28ª posição. Na sequência, vieram Gustavo Roma (32°), Eiki Leôncio (33°), Vinicius Howe (36°) e Rafael Beghelli (38°). A WHOOP UCI Mountain Bike World Series continua com a terceira rodada em Nove Mesto, na República Tcheca, de 23 a 25 de maio.O Governo Federal por meio do Ministério do Esporte via Lei de Incentivo ao Esporte e o Governo Estadual por meio da Subsecretaria de Esportes da Secretaria de Estado de Desenvolvimento Social (SUBESP) via Lei Estadual de Incentivo ao Esporte apresenta a Copa do Mundo de Mountain Bike em Minas Gerais. Com realização da Associação Mountain Bike BH e da Federação Mineira de Ciclismo, o evento possui patrocínio da CBMM, CODEMGE e CEMIG juntamente com o GOVERNO DE MINAS GERAIS.A história da CiMTBA organização da CiMTB realizou sua primeira prova em 1996. Desde então, vem inovando e contribuindo ativamente para o crescimento e fortalecimento do mountain bike e o mercado de bicicletas no Brasil. Contando pontos para o ranking mundial da União Ciclística Internacional (UCI) desde 2004, a CiMTB tem sido seletiva para os Jogos Olímpicos nos ciclos de Pequim 2008, Londres 2012, Rio 2016, Tóquio 2020 e Paris 2024.Em 2022, a CiMTB aumentou ainda mais sua relevância internacional, com a realização da etapa de abertura da Copa do Mundo Mercedes-Benz de Mountain Bike 2022, em Petrópolis, já em 2024 organizou a etapa de Araxá da WHOOP UCI Mountain Bike World Series. Além disso, foi responsável pela construção da pista de mountain bike dos Jogos Olímpicos Rio 2016, considerada uma das melhores da história dos Jogos desde 1996, primeiro ano do MTB em Olimpíadas.Mais informações sobre a CiMTB:Site: https://www.cimtb.com.brInstagram: http://www.instagram.com/cimtbFacebook: http://www.facebook.com/cimtb/Twitter: http://www.twitter.com/cimtb_oficial
-
Segunda etapa da Copa do Mundo de MTB acontece neste final de semana em Araxá MG
Não é exagero dizer que a cidade de Araxá-MG é a atual capital mundial do mountain bike. Após sediar a primeira etapa da WHOOP UCI Mountain Bike World Series, na semana passada, o município será sede também da segunda etapa, a partir desta sexta (11/04). De acordo com o ranking mundial da UCI (União Ciclística Internacional), divulgado nesta semana, 18 dos 20 melhores mountain bikers do mundo, entre homens e mulheres, estarão competindo nas famosas trilhas da cidade. As maiores estrelas globais da modalidade desfilarão com toda técnica e qualidade durante os dois dias de disputa – que começam na sexta com o Short Track (XCC) e finalizam no sábado (12/04) com o Cross Country Olímpico (XCO). Na Elite masculina, nomes como a lenda suíça Nino Schurter, o dinamarquês Simon Andreassen, o norte-americano Chris Blevins e o francês Victor Koretzky (campeão da primeira etapa no último domingo) prometem agitar a disputa de uma das provas mais importantes do mountain bike mundial. Publico lota arena para assistir melhores do mundo (Crédito: Marcelo Rypl/CiMTB) Além dos estrangeiros, os brasileiros também são esperança de fortes emoções. Na primeira etapa da Copa do Mundo, o trio formado por Gustavo Xavier, Alex Malacarne (ambos da Specialized Racing BR) e Ulan Galinski (Caloi Henrique Avancini Racing) fez história: foi a primeira vez que 3 atletas brasileiros ficaram juntos entre os 12 primeiros colocados em uma edição da competição. Nomes como Luiz Henrique Cocuzzi, José Gabriel Almeira e Sherman Trezza também estão confirmados. Entre as mulheres, a expectativa também é alta. Com 9 das 10 melhores colocadas no ranking mundial confirmadas em Araxá, a competição promete ser acirrada pelo lugar mais alto do pódio. A sueca Jenny Rissveds, a francesa Loana Lecomte, a suíça Alessandra Keller, a britânica Evie Richards estão na briga – assim como a sul-africana Candice Lill, atual número 1 do mundo, e a neozelandesa Samara Maxwell, vencedora da etapa inaugural da Copa do Mundo. Representando o Brasil, grandes atletas como Raiza Goulão, Karen Olímpio, Isabella Lacerda e Hercília Najara também estão confirmadas na start list e são esperança de um bom resultado brasileiro. Venda de ingressos para a Copa do Mundo A boa notícia é que os ingressos para a segunda rodada ainda estão à venda – chance extra para quem quer acompanhar de perto os maiores nomes do mountain bike. As entradas para a segunda etapa da WHOOP UCI Mountain Bike World Series podem ser comprados online e também no portão de acesso do Grande Hotel Termas de Araxá. Os valores são de R$ 150,00 por dia. Para fazer a compra, basta acessar: https://www.ticketsports.com.br/e/uci-mountain-bike-world-series-araxa-mg-70484. Estudantes, idosos (pessoas acima de 60 anos) e PCD (pessoa com deficiência) têm 50% de desconto na compra dos passaportes. A organização preparou um desconto especial de 75%, para os moradores da cidade-sede, Araxá-MG. Crianças de até 11 anos não pagam entrada, porém também precisam fazer o cadastro no sistema de venda de ingressos. Programação de provas Sexta –11 de abril • 11h15 – UCI Cross-Country Short Track (XCC) World Cup | Feminino Sub-23 • 11h55 – UCI Cross-Country Short Track (XCC) World Cup | Masculino Sub-23 • 13h00 – UCI Cross-Country Short Track (XCC) World Cup | Feminino Elite • 13h40 – UCI Cross-Country Short Track (XCC) World Cup | Masculino Elite Sábado – 12 de abril • 9h00 – UCI Cross-Country Olímpico (XCO) World Cup | Feminino Sub-23 • 10h45 – UCI Cross-Country Olímpico (XCO) World Cup | Masculino Sub-23 • 12h45 – UCI Cross-Country Olímpico (XCO) World Cup | Feminino Elite • 14h45 – UCI Cross-Country Olímpico (XCO) World Cup | Masculino Elite Onde assistir Assim como a primeira etapa, haverá transmissão ao vivo das provas da Copa do Mundo de Mountain Bike. As competições das categorias Sub-23 irão ser transmitidas no canal do YouTube da WHOOP UCI Mountain Bike World Series – você pode assistir clicando neste link. As transmissões das provas de Elite acontecerão em duas emissoras diferentes: Rede Minas e Bandsports. A Rede Minas transmitirá as disputas da Elite, tanto no XCC quanto do XCO, enquanto a Bandsports transmitirá apenas o XCO. Para assistir pela Rede Minas, existem três caminhos: pela tv, pelo app da emissora e visitando o site clicando neste link. Para quem está fora do Brasil, basta acessar o site oficial da competição para saber onde assistir de acordo com o país. Nova pista para a segunda etapaPara esta segunda rodada em Araxá, o circuito está cerca de 70% diferente em relação à primeira etapa. Novas trilhas, novos caminhos e novos obstáculos foram desenhados pelos trackbuilders, para tornar a competição ainda mais emocionante. Mesmo assim, os ciclistas não entrarão nele completamente às cegas: os treinamentos da semana permitem que eles pratiquem e se familiarizarem com as novas áreas técnicas complicadas.“Está um circuito bem diferente do que foi na primeira etapa. Um circuito mais físico, com subidas duras e mais constantes. Acredito que continua sendo um circuito veloz, mas que a velocidade média será um pouco mais baixa do que na primeira etapa. Acredito também que a dinâmica de prova será diferente, os grupos vão andar mais separados, não acredito que estejam em disputa com um grupo tão grande como na primeira prova”, comentou Ulan.A história da CiMTB A organização da CiMTB realizou sua primeira prova em 1996. Desde então, vem inovando e contribuindo ativamente para o crescimento e fortalecimento do mountain bike e o mercado de bicicletas no Brasil. Contando pontos para o ranking mundial da União Ciclística Internacional (UCI) desde 2004, a CiMTB tem sido seletiva para os Jogos Olímpicos nos ciclos de Pequim 2008, Londres 2012, Rio 2016, Tóquio 2020 e Paris 2024. Em 2022, a CiMTB aumentou ainda mais sua relevância internacional, com a realização da etapa de abertura da Copa do Mundo Mercedes-Benz de Mountain Bike 2022, em Petrópolis, já em 2024 organizou a etapa de Araxá da WHOOP UCI Mountain Bike World Series. Além disso, foi responsável pela construção da pista de mountain bike dos Jogos Olímpicos Rio 2016, considerada uma das melhores da história dos Jogos desde 1996, primeiro ano do MTB em Olimpíadas. Mais informações sobre a CiMTB: Site: https://www.cimtb.com.br Instagram: http://www.instagram.com/cimtb Facebook: http://www.facebook.com/cimtb/ Twitter: http://www.twitter.com/cimtb_oficial
-
Guia de previsões furadas para a Paris Roubaix 2025
Nunca foi fácil prever quem será o vencedor de uma corrida de ciclismo, mas a Paris Roubaix sempre foi a mais difícil Se uma competição de ciclismo já é rodeada por um universo de incertezas, tombos, pneus furados, ataques e contra-ataques, condições meteorológicas inesperadas e um muito mais, a Paris Roubaix se destaca na vastidão dos seus milhões de paralelepípedos escorregadios e trepidações que podem criar a frequência perfeita para desmanchar a bicicleta de um campeão eventualmente bem cotado para a vitória. Além das incertezas, vale também destacar as certezas: não é comum um campeão do Tour de France se aventurar na Paris Roubaix. Fazem muitos anos que isso não acontece, é algo totalmente novo no ciclismo moderno. Pode esperar sentado que Jonas Vingegaard não vai se inscrever nessa prova tão cedo. É só o louco do Pogacar que vai competir a Roubaix usando a camisa de campeão mundial por cima da camisa amarela do Tour. E também da rosa do Giro. Outro dado concreto é sobre o peso dos ateltas. A média de peso dos atletas vencedores da Roubaix é de 74.7 kg, enquanto o “favorito” Tadej Pogacar está 7 quilos abaixo dessa média. Não, nesse caso, ser mais leve não é um bom indício, diferente do que estamos acostumados a ver no ciclismo comum, que larga com vantagem quem consegue economizar peso na bike e na carcaça. A Roubaix é uma corrida plana, de alta velocidade, sem o benefício de ser mais leve para tirar vantagem nas escaladas, que por lá não existem. É necessário ter uma massa muscular forte para suportar tantas horas de pancada – agora já saímos da matemática e voltamos para o “provável” e “na opinião comum”. Tadej Pogacar foi um pouco criticado por decidir competir a Roubaix, sobretudo depois do tombo que ele tomou na Milan San Remo. Outro acidente daquele pode significar uma pausa grande na sua temporada ou carreira brilhante. Outro ponto é que grandes nomes do ciclismo acham que ele não tem a mínima chance de ser dar bem. Outros, acreditam que ele pode ir bem sim. Agora sobre Mathieu Van der Poel, ele não só venceu duas Paris Roubaix, como venceu Pogacar alguns dias atrás. Isso nos mostra duas coisas: primeiro é que ele tem muita vontade e motivação para vencer essa prova. Segundo ponto é que ele provavelmente está em sua melhor forma física do ano (o menino Pogi talvez não esteja). Outra coisa é que em meio a essa pressão do Van der Poel vencer mais uma Roubaix, os patrocinadores dele já fizeram um certo barulho e parece até que vão lançar uma nova bike. Aquela cena dele vencendo no ano passado e mostrando a bike DURANTE O ATAQUE foi tão emblemática que a empresa deve ter concentrado todas as forças para o evento de 2025 ser ainda mais bonito. Por outro lado, o time de Pogacar chegou a falar que ele nem deveria correr a Roubaix – tirem suas próprias conclusões, não sei se este tópico chega a ser justo, no sentido de justificar algum tipo de baixo investimento na corrida. O que está motivando Pogi a ir na Roubaix é conseguir vencer os 5 monumentos - até hoje somente três ciclistas fizeram isso: Eddy Merckx, Rik van Looy e Roger de Vlaeminck. Deixando de lado esses nomes, fica outra grande questão dessa corrida: ela é excelente para nomes não cotados. Uma das grandes filosofias da Paris Roubaix que se aplica em qualquer ano é: cuidado com os nomes que você nunca ouviu. Já teve vez que um maluco foi só para compor o time e ser gregário, mas acabou vencendo, nem ele sabe como. E se chover? Aí é merda garantida, meu povo. Não tem mãe Diná nem bola de cristal que descubram quem vai ser o felizardo que vai ter a sorte e habilidade de chegar la no final com a bicicleta inteira. Pela época do ano é difícil que isso aconteça, mas a discussão é sempre válida para que um eventual show de horrores não pegue ninguém de surpresa. Vale lembrar que o “chicane” do ano passado vai deixar de existir, e isso está alegrando alguns competidores. Para quem não está lembrado, os organizadores desenharam uma “curva artificial” antes de os atletas entrarem na floresta do Arenberg, que é o setor de paralelepípedos mais importante da prova. Essa gambiarra que fizeram no percurso do ano passado era um redutor de velocidade (e mesmo assm Van der Poel quebrou o recorde de velocidade da prova). Esse ano, volta com o acesso normal ao Arenberg, com velocidade máxima e salve-se quem puder. É um ponto chave, claro. No meio de tantas incertezas, vence o mais sortudo? O mais habilidoso? O mais forte? Não sei. Eu avisei que isso aqui era só um guia de previsões furadas. Nos vemos no sábado para a corrida das mulheres e domingo para a corrida dos homens. Bons treinos!
-
Specialized enche o pódio e três brasileiros no top 15 da Copa do Mundo
Brasileiros fazem história na Elite, com Gustavo Xavier, Alex Malacarne e Ulan Galinski fechando a etapa no Top-12 A neozelandesa Samara Maxwell (Decathlon Ford Racing Team) e o francês Victor Koretzky subiram no lugar mais alto do pódio no XCO (cross country olímpico) da primeira etapa da WHOOP UCI Mountain Bike World Series 2025, disputada em Araxá-MG neste domingo (06/04), no Grande Hotel. O título da dupla sob o calor tropical de Minas Gerais foi merecido. Mas o que mexeu com a emoção do público brasileiro foi o desempenho memorável do trio brasileiro formado por Gustavo Xavier, Alex Malacarne (ambos da Specialized Racing BR) e Ulan Galinski (Caloi Henrique Avancini Racing). Pela primeira vez na história, três atletas brasileiros ficaram entre os 12 primeiros colocados. Os três cruzaram a linha de chegada praticamente juntos, para delírio dos milhares de torcedores que lotaram o Grande Hotel Termas de Araxá, garantindo a 10ª, a 11ª e a 12ª posições, respectivamente. Ulan Galinski e Alex Malacarne (Crédito: Marcelo Rypl/CiMTB) Xavier e Malacarne fecharam com o tempo de 1’20’’19, enquanto Galinski ficou um segundo atrás. Ainda entre os brasileiros, José Gabriel Marques ficou com em 31°, Luiz Cocuzzi em 57°, Sherman Trezza em 58°, Mario Couto em 61° e Nicolas Machado em 62°. Na Elite feminina, Raiza Goulão foi a que teve a melhor classificação nesta primeira etapa da Copa do Mundo, com a 26ª posição. Na sequência, Karen Olímpio terminou em 30ª e Isabella Lacerda finalizou na 35ª. A vitória de Koretzky Uma corrida que durou 80 minutos foi efetivamente definida nos primeiros 5 minutos: foi o momento em que Koretzky e o norte-americano Christopher Blevins, seu companheiro de equipe, ultrapassaram o suíço multicampeão Nino Schurter (Scott-SRAM MTB Racing Team), logo na Red Bull Energy Zone na primeira volta. Após dominar o XCC no sábado, a dupla da Specialized Factory Racing novamente deixou os concorrentes para lutar entre si pela vitória, em uma exibição excepcional de trabalho em equipe que funcionou perfeitamente por oito voltas. Enquanto Kortezky e Blevins se revezavam na frente por mais de uma hora, o alemão Maximilian Brandl (Lapierre Racing Unity), o dinamarquêsSimon Andreassen (Orbea Fox Factory Racing Team) e o suíço Filippo Colombo (Scott-SRAM MTB Racing Team) se esforçaram para liderar um grupo perseguidor fragmentado. Mas tudo foi em vão quando o chileno Martin Vidaurre, da Specialized Factory Racing, quebrou o pelotão. Faltando 3 voltas, o grupo de perseguição de 17 atletas mudou o foco: a luta agora era pelo terceiro lugar. Em seguida, Nino Schurter se juntou ao grupo completou sua impressionante recuperação de um problema inicial. Quando a diferença chegou a um minuto, na penúltima volta, Koretzky decidiu que já era o suficiente e pisou fundo para deixar seu companheiro de equipe para trás, abrindo rapidamente nove segundos sobre Blevins e partindo para a vitória. “Chris [ Blevins ] estava super forte no começo da corrida, com um ritmo super alto e foi difícil segui-lo. Então eu tive uma segunda vida no meio da corrida. Ainda tive um pneu furado nas duas últimas voltas, então foi complicado para mim na descida, coisas difíceis até o final, mas consegui terminar assim”, disse Koretzky. “Acho que nós fomos companheiros de equipe o tempo todo; o objetivo era estar juntos até o último momento. Sozinho foi difícil fazer isso, mas com meu companheiro de equipe foi como um dia difícil de treinamento. É muito legal compartilhar isso com a equipe”, complementou. Vidaurre acabou conquistando a terceira colocação, seguido do suíço Lars Forster e de Nino Schurter. A vitória de Samara Maxwell Depois que Samara Maxwell descreveu o segundo lugar no XCC de sábado como um "sonho que se tornou realidade", ela teve que se acostumar rapidamente com essa realidade de ser uma das principais concorrentes na Copa do Mundo de Mountain Bike. Afinal, neste domingo ela se destacou de um grupo líder repleto de estrelas e segurou uma perseguição sem descanso da suíça Nicole Koller para conquistar uma vitória histórica em Araxá. Pódio da Elite Feminina no XCO (Crédito: Jonathas Abrantes/Ultrafotos) Embora o ataque vencedor só tenha surgido na parte final da corrida, as principais protagonistas foram apresentadas logo no início, quando a sueca Jenny Rissveds estabeleceu um ritmo inicial alucinante em sua primeira corrida XCO pela Canyon CLLCTV XCO. Ajudada pela suíça Jolanda Neff - também ansiosa para impressionar na nova equipe -, o grupo abriu frente nas primeiras voltas, quando a vencedora sempre pareceu ser uma provável vencedora do pelotão formado por Rissveds, Maxwell, a norte-americanda Savilia Blunk, a suíça Nicole Koller, a sul-africana Candice Lill, a suíça Alessandra Keller (Thömus Maxon) ou a canadense Jennifer Jackson (Orbea Fox Factory Team). De todas elas, Jackson foi a mais surpreendente, pois sobreviveu a um momento de pura emoção na volta de abertura. Ela avaliou mal um pouso na Red Bull Energy Zone e desviou para a esquerda na multidão; de alguma forma, porém, retornou ao grupo da frente em questão de minutos, dizendo mais tarde que esperava que sua corrida não fosse lembrada apenas pelo susto. Mais perto do fim, Samara Maxwell fez o que seria o ataque definitivo da corrida: ela aproveitou uma subida rochosa e, por mais que tentassem, Koller e Blunk não conseguiram conter a neozelandesa que brilhou para a vitória. Na entrevista pós vitória, ela lembrou que esse título nunca viria. Afinal, ela fez uma pausa na carreira para lidar com um distúrbio alimentar que reduz seus níveis de energia. “Eu realmente não consigo acreditar, Jenny [ Rissveds ] estava tão forte no começo e eu estava no limite o tempo todo. Nas descidas, tenho trabalhado muito duro tecnicamente durante o verão nas minhas habilidades. Então era só uma questão de chegar à frente e eu simplesmente consegui”, explicou a campeã em Araxá. Questionada sobre quando ela acreditava que venceria em Araxá, Maxwell respondeu: “Na linha de chegada. Sinceramente, eu não conseguia acreditar, eu só ficava dizendo a mim mesma ‘isso é para uma vitória na Copa do Mundo’”. A neozelandesa ficou com o primeiro lugar, seguida pela suíça Nicole Koller e pela norte-americana Savilia Blunk. Sub-23 Na Sub-23 Feminina, a canadense Isabella Holmgren ficou com o primeiro lugar, seguida pela compatriota Ella Macphee e pela italiana Valentina Corvi. No masculino, o suíço Finn Treudler foi o campeão, seguido por dois dinamarqueses: Heby Pedersen e Nikolaj Hougs. Assim como no XCC (Short Track), duas brasileiras ficaram no top-20: Giuliana Morgen conquistou a 11ª posição, enquanto Luiza Cocuzzi foi a 17ª. Outras duas atletas do país estavam na disputa: Gabriela Ferolla fechou em 27ª e Carolina Ferreira ficou com a 29ª colocação. O melhor brasileiro na Sub-23 Masculina foi Guilherme Galvão, com a 27ª posição. Na sequência entre os donos da casa vieram Eiki Leôncio (30°), Gustavo Roma (32°) e Vinicius Howe (35°). Rafael Beghelli não terminou a prova. A rodada dupla da Copa do Mundo de MTB em Araxá será completada a partir da próxima quarta (09/04), quando começam os treinos livres. Na sexta (11/04) acontecem as provas de XCC (Short Track) e no sábado (12/04) as de XCO. O Governo Federal por meio do Ministério do Esporte via Lei de Incentivo ao Esporte e o Governo Estadual por meio da Subsecretaria de Esportes da Secretaria de Estado de Desenvolvimento Social (SUBESP) via Lei Estadual de Incentivo ao Esporte apresentam a Copa do Mundo de Mountain Bike em Minas Gerais. Com realização da Associação Mountain Bike BH e da Federação Mineira de Ciclismo, o evento possui patrocínio da CBMM, CODEMGE e CEMIG juntamente com o Governo de Minas Gerais.
-
VOCÊ SABE TREINAR NO CALOR? APRENDA COMO MANTER A SAÚDE E O DESEMPENHO NOS SEUS TREINOS EM CONDIÇÕES DE ESTRESSE TÉRMICO
O aumento da temperatura ambiente combinado com o exercício físico resulta em estresse térmico adicional, o qual demanda uma resposta eficiente do organismo para manter a homeostase térmica – regular a temperatura interna do corpo com base na temperatura externa. Como consequência o estresse térmico durante o exercício interrompe que estes processos homeostáticos sejam feitos de forma eficiente, levando à hipertermia, hipohidratação, distúrbios do sódio e, em alguns casos, doenças causadas por esforço no calor mais severas. A termorregulação é o principal mecanismo para manter a temperatura corporal normal do corpo em ambientes quentes, e envolve alterações fisiológicas como vasodilatação periférica e aumento da sudorese para dissipar o calor gerado durante o exercício. Geralmente atletas bem condicionados apresentam mecanismos de termorregulação mais desenvolvidos, que garantem um desempenho otimizado durante a prática esportiva nestas condições (CALEGARI; DE SOUZA, 2023). E o que é considerado estresse térmico no exercício? Acima de 26ºgraus é considerado um clima quente e estressante para o organismo junto a prática esportiva e o processo de hidratação pode não ser suficiente para garantir as condições ideais de desempenho no treinamento. Ou seja, acima de 26º não há garantias que apenas uma nutrição e hidratação corretas irão resolver as consequências fisiológicas do treino realizado em condições de temperaturas elevadas. Um estudo de Périard et al. (2021), mostrou a distribuição estimada do débito cardíaco durante o exercício incremental em ambientes temperados (∼26°C) e quentes (∼43°C) e sua consequente influência na capacidade aeróbia máxima (figura 1). O exercício incremental até a exaustão no calor após o aquecimento do corpo está associado a uma maior redistribuição do débito cardíaco para a pele e a uma frequência cardíaca elevada para qualquer nível de consumo de oxigênio (ou seja, na taxa de trabalho ou na bicicleta mensuramos a potência). A resposta elevada da frequência cardíaca é influenciada pela retirada do fluxo parassimpático, aumento da atividade neural simpática cardíaca e o efeito direto da temperatura do sangue no nó sinoatrial. O resultado dessa elevação na frequência cardíaca é a obtenção da frequência cardíaca máxima a uma taxa de trabalho ou potência mais baixa do que em condições frias, o que, juntamente com um menor volume sistólico, leva à diminuição do débito cardíaco máximo, forçando o sistema cardiovascular a um limite funcional no que normalmente é uma taxa de trabalho submáxima. Referência da imagem: (PÉRIARD; EIJSVOGELS; DAANEN, 2021) Ou seja, o aumento da temperatura externa aumenta a atividade metabólica e gera uma demanda adicional que, ao invés da potência ser entregue para gerar mais potência no seu treino, por exemplo na bike ao empurrar o pedivela, parte desta energia é perdida para que o corpo possa manter uma temperatura interna compatível com a própria vida, resultando em menos energia para a pedalada. Além disso, mesmo quando o corpo já está desidratado é possível verificar uma associação negativa ainda maior quando o treino é realizado em altas temperaturas. Uma revisão de 8 publicações relevantes observou que um nível de desidratação de 4–5% reduziu o consumo máximo de oxigênio (VO2max) maior em um ambiente quente (−9 a −27% quando Temperatura ≥ 30 °C) do que em um ambiente frio ou ameno (−3 a −7% quando temperatura estava 15–26 °C). As consequências dessa desidratação incluíram um menor tempo de exercício até a exaustão, uma redução obrigatória na intensidade do exercício ou ambos (ARMSTRONG, 2021). Ainda assim uma definição simples de "estresse térmico" não é possível já que a tensão de calor em uma faixa de diferentes temperaturas do ar varia de acordo com a atividade e as roupas/equipamentos usados, bem como a exposição solar predominante, umidade e velocidade do vento. As estratégias em roupas especificas, hidratação e aclimatação devem ser adotadas em todos os casos. Sabendo disso, o que é possível fazer para auxiliar a prática esportiva em dias quentes? Para minimizar o armazenamento de calor e evitar aumentos excessivos da temperatura central, os humanos vasodilatam e suam, isso é fisiológico. Elevações na temperatura central (temperatura do core) de >0,2 °C podem provocar vasodilatação cutânea, direcionando um volume maior de sangue para a pele para redistribuir o conteúdo de calor e aumentar a perda de calor convectiva e radiativa à medida que a temperatura da pele aumenta (CRAMER; JAY, 2019). Se a temperatura ambiente permitir que a taxa de evaporação do suor equilibre a produção de calor, a temperatura central atingirá um platô elevado, mas geralmente seguro. No entanto, quando a produção de calor excede essa capacidade, a temperatura corporal continuará a aumentar em um estado conhecido como estresse térmico incompensável. Neste sentido é possível também afirmar que quando a temperatura externa está elevada já há uma propensão a problemas gastrointestinais, bem como a possibilidade de suplementar fica limitada ao uso de líquidos como os isotônicos ou as bebidas ricas em carboidrato, isso porque a energia que seria destinada para digerir e absorver também estará comprometida ao passo que o corpo está em processo de tentar reestabelecer a homeostase térmica. Esse fato está confirmado ainda por Cramer & Jay (2019) onde é possível verificar que o exercício prolongado em condições ambientais quentes, podem resultar em uma temperatura central ≥39,0 °C, o que exacerba as perturbações na integridade gastrointestinal, função e respostas sistêmicas em comparação com o exercício em condições mais frias. Considerando o exposto, trouxemos aqui como você pode se preparar melhor nos treinos realizados em dias quentes com dicas nutricionais e um bônus Estratégias para ingestão de líquidos e eletrólitos antes, durante e após o exercício Pré exercício: A carga aguda de sódio (20–40 mg/kg de sódio, com 10 ml/kg de água) 1–2 horas antes do exercício pode auxiliar a termorregulação durante o exercício no calor. Ainda há estudos que mostram que ingerir raspadinha ou tomar um sorvete de frutas pode ser uma experiência adequada para auxiliar a regular a temperatura interna do core. Durante o exercício: Ainda há muita discussão sobre o que deve ser feito durante o exercício longo, em especial com relação ao sódio. Mas uma conduta simples seria consumir 150 a 200mL de água a cada 20 minutos sempre adicionada de ao menos 300 a 600mg de sódio por hora. Bebidas mais frias (<22 °C) tendem a aumentar a palatabilidade de fluidos e o consumo voluntário durante o exercício segundo Burdon et al., (2012), enquanto o consumo planejado de bebidas frias (<10 °C) ou geladas pode transmitir benefícios perceptivos ou de desempenho adicionais quando o exercício é realizado em condições ambientais quentes Após o exercício: Pode ser necessário beber um volume de até 150% do déficit líquido para contabilizar as perdas contínuas de fluidos durante as horas do exercício. No entanto, o ambiente pós-exercício (ou seja, acesso a alimentos/bebidas), requisitos imediatos para outros fins de recuperação (por exemplo, reabastecimento e adaptação) e metas gerais de composição corporal são considerações contextuais importantes. Beber grandes volumes de líquidos pode ser um desafio a curto prazo, especialmente se o atleta tiver experimentado tensão termorreguladora significativa ou comprometimento da integridade/função gastrointestinal durante o exercício. Ainda é possível adicionar eletrólitos para garantir a máxima eficiência no reequilíbrio hídrico, podendo ser feito assim como o pré-exercício, adicionado uma carga aguda de sódio de 20-40mg/kg. Bônus de estratégias para o seu treino no calor Ainda é possível experimentar estratégias complementares junto ao treinador e ao médico do esporte como aclimatização ao calor, com treinos e protocolos específicos que auxiliem o atleta a chegar com bom preparo em provas mais quentes, longas e extenuantes. Outra estratégia é utilizar roupas claras, capacete claro e ventilado, ainda durante o treino despejar água gelada no tronco e na região da nuca – evite fazer isso diretamente nas pernas. Muitos atletas profissionais ainda utilizam coletes imediatamente antes da prova durante o aquecimento justamente para auxiliar na regulação da temperatura do core. E durante suas pedaladas mais quentes e extenuantes, vá de Jersey branca ou de cores claras IQ, aproveite essas dicas e aplique também ao seu vestuário. As roupas claras e, em especial a cor branca, auxiliam no controle térmico, já que absorvem menos energia. O tecido das Jerseys da IQ também são projetados para auxiliar no processo de regulação térmica do corpo. Não se esqueça de comentar o que achou do texto e das dicas, comente sua experiência real aqui abaixo! REFERENCIAS ARMSTRONG, L. E. Rehydration during endurance exercise: Challenges, research, options, methods. Nutrients, v. 13, n. 3, p. 887, 2021. BURDON, C. A. et al. Influence of beverage temperature on palatability and fluid ingestion during endurance exercise: a systematic review. International journal of sport nutrition and exercise metabolism, v. 22, n. 3, p. 199–211, 2012 CRAMER, M. N.; JAY, O. Partitional calorimetry. Journal of applied physiology (Bethesda, Md.: 1985), v. 126, n. 2, p. 267–277, 2019 CALEGARI, A.; DE SOUZA, R. M. TERMORREGULAÇÃO E DESEMPENHO ESPORTIVO EM CONDIÇÕES DE CALOR EXTREMO. Anais do EVINCI - UniBrasil, v. 9, n. 2, p. 404–404, 2023. PÉRIARD, J. D.; EIJSVOGELS, T. M. H.; DAANEN, H. A. M. Exercise under heat stress: thermoregulation, hydration, performance implications, and mitigation strategies. Physiological reviews, v. 101, n. 4, p. 1873–1979, 2021
-
Kira Böhm (ALE) e Ulan Galinski vencem o emblemático Cross Country Olímpico da CiMTB em Araxá
Enquanto na Elite Feminina o domínio foi estrangeiro somente na ponta da prova, com Alemanha e Chile no Top 2, na Elite Masculina o Brasil dominou o topo do pódio, com três atletas entre os quatro primeiros lugares O Grande Hotel Termas de Araxá, no Barreiro, esteve lotado durante todo este domingo (30/3), no terceiro e último dia da etapa de abertura da Copa Internacional de Mountain Bike. E quem compareceu à 22ª edição do evento no município, que se consagra cada dia mais como a Capital Mundial do Mountain Bike, assistiu disputas emocionantes e de tirar o fôlego do começo ao fim. Na Elite Feminina do Cross Country Olímpico (XCO), vitória da jovem ciclista alemã Kira Böhm, em seu primeiro ano de elite. Já na Elite Masculina, triunfo brasileiro, com o baiano Ulan Galinski no lugar mais alto do pódio.A primeira de quatro etapas da Copa Internacional reuniu mais de 900 ciclistas durante os três dias de evento no Grande Hotel. Ao todo, 17 países foram representados nas mais diversas categorias: África do Sul, Alemanha, Argentina, Bolívia, Brasil, Canadá, Chile, Colômbia, Estados Unidos, Grã Bretanha, Israel, México, Portugal, Suíça, Letônia, República Tcheca e Ucrânia. Nas Elites, foram ofertados 110 pontos aos campeões no ranking mundial, pelo evento ter classificação HC (Hors Class). Dez pontos foram oferecidos aos campeões do Short Track (XCC) na sexta-feira (28/3) e outros 100 para os campeões deste domingo no XCO. Ulan comemora sua primeira vitória na Hors Class de Araxá (Crédito: Alemão Silva) Elite Masculina A principal prova entre os homens no evento teve trocas de posições do começo ao fim. Nas primeiras quatro voltas a liderança foi alternada entre Martins Blums, da Letônia, e Ondrej Cink, da República Tcheca. A partir da quinta volta, os brasileiros foram dominantes. Primeiro com Ulan Galinski assumindo a liderança, acompanhado de Mathias Fluckiger, da Suíça. E depois com o paulista Gustavo Xavier fazendo companhia ao trio, chegando a se isolar na liderança durante a sétima volta. Na penúltima volta, Ulan chegou em Gustavo, para só atacar na metade da volta final e garantir a vitória.Além de Ulan e Gustavo nas duas primeiras colocações, o pódio da Elite Masculina teve ainda Mathias Fluckiger, a quarta colocação para o Brasil com o paranaense Alex Malacarne e Leon Kaiser, da Alemanha, no Top 5. Completaram as dez primeiras colocações os atletas Ondrej Cink, Julian Schelb (Alemanha), Martin Blums, Lennart Krayer (Alemanha) e Joel Fernando (Argentina). "Não tenho palavras para descrever o que vivi aqui. Representar o meu país, com a bandeira do Brasil no peito, é o que eu sempre sonhei. A lista de confirmados estava muito forte, por isso eu sabia o tamanho da pressão que carregava. Mas quando acordei, eu prometi para mim que daria meu melhor", disse Ulan Galinski. "Mais do que a performance, fiquei feliz com minha leitura. Estive sempre bem posicionado, respondendo aos ataques. Larguei para vencer e não queria deixar a vitória escapar, mesmo que eu estivesse correndo contra diversos ciclistas que já ganharam etapas de Copa do Mundo", completou Ulan, que venceu pela primeira vez o Hors Class de Araxá. Embora não tenha conquistado a vitória, Gustavo Xavier saiu bastante satisfeito com sua performance, uma vez que teve bastante força e atitude para sair de 13º lugar na primeira volta, para ser o líder do pelotão nas voltas 6 e 7, perdendo a liderança apenas nos quilômetros finais."Fiz uma preparação muito boa para chegar aqui em Araxá, então espero poder ter ótimas performances também nas etapas da Copa do Mundo que teremos nas próximas duas semanas aqui. Foi um dia muito bom, que espero repetir nas etapas da Copa do Mundo", comentou Gustavo. Elite FemininaEntre as mulheres, o Top 10 contou com oito brasileiras. Apenas as duas primeiras colocadas acabaram sendo intrusas no pódio, a campeã Kira Böhm, da Alemanha, e a chilena Catalina Vidaurre. Entre o terceiro e o décimo lugares, apenas brasileiras: Raiza Goulão, Karen Olimpio e Isabella Lacerda completaram as cinco primeiras posições, seguidas de Hercília Najara, Sabrina Oliveira, Liege Walter, Iara Caetano e Luiza Euzébio. Alemã comemora sua vitória na CiMTB (Crédito: Alemão Silva)Tanto para a campeã, quanto para a vice, a prova foi marcada por dificuldades que poderiam tê-las tirado dos dois lugares mais altos do pódio ao final das 7 voltas de prova. Enquanto a campeã Kira teve que reparar um furo de pneu, Catalina sofreu uma forte queda quando liderava, tendo que se contentar com o segundo lugar."Eu amo demais correr aqui no Brasil. Uma pista muito divertida. Definitivamente senti o peso do calor, mas era aceitável. Eu apenas tentei acelerar e ao mesmo tempo poupar as pernas quando possível, porque temos duas etapas de Copa do Mundo pela frente", avaliou. "Sobre a pista de Araxá, além de ser divertida, é bastante técnica. Tem vários saltos e também subidas íngremes. É uma das minhas favoritas no circuito", finalizou a campeã."Uma prova muito dura. O calor é diferente aqui. É um pouco sufocante, embora não tenha sido problema para mim. A pista aqui é puro entretenimento. Porque tem vários altos e também subidas. Ou seja, você se desgasta tanto na subida, quanto na descida", afirmou Catalina. "Sobre a corrida, tive uma queda um pouco forte na terceira volta, mas por sorte não afetou minha bicicleta. Depois disso, busquei completar bem a corrida e terminar em uma boa colocação", concluiu a ciclista chilena.Melhor brasileira entre as mulheres, Raiza se superou para fechar no Top 3. "Uma prova desafiadora para mim, porque precisava ter um bom desempenho e ao mesmo tempo não podia colocar o pé no chão, porque estou com uma fratura no pé esquerdo, que sofri há cerca de dez dias, em um treino aqui em Araxá", revelou Raiza Goulão. "Me entreguei 100%. Minha estratégia foi fazer uma prova progressiva, focando só em mim e vendo o que meu corpo respondia volta a volta. Foi um ótimo aquecimento para a rodada dupla da WHOOP UCI Mountain Bike World Series, porque nas próximas semanas a lista de largada será totalmente diferente. Serão outras atletas na pista. Agora, é hora de botar o pé para cima e descansar. E também agradecer e parabenizar a CiMTB por realizar um evento incrível aqui em Araxá. A prova mais desejada do Brasil. A pista mais almejada, temida e divertida", concluiu. Largada das mulheres da Elite (Crédito: Alemão Silva)Sub-23 Masculino e FemininaAs disputas da Sub-23 Masculino e Feminina seguiram o nível das Elites, com altíssimo nível de disputa e também pelotões repletos de feras do Brasil e do exterior. Entre os homens, vitória do atual campeão europeu da categoria, Finn Treudler (Suíça). Já entre as mulheres, quem venceu foi a ciclista do Reino Unido, Ella Maclean-Howell.No Top 10 entre os homens, estiveram ainda Paul Schehl (Alemanha), Nikolaj Ehlers (Dinamarca), Fabian Eder (Alemanha), Antonio Gomez (Colombia), Luca Peter (África do Sul), Eiki Leôncio, Guilherme Freitas Galvão, Joaquín Reyes (Argentina) e Erik Pereira. Já no Top 10 entre as mulheres, garantiram lugar no pódio ao lado de Ella, as atletas: Luiza Cocuzzi, Laura Camila (Colômbia), Carolina Ferreira, Ana Laura Oliveira, Ana Beatriz Duwe e Maria Luiza Duwe.Todos os resultados da etapaPara conferir todos os resultados e saber quem foram os ciclistas que largaram na frente nas mais de 50 categorias da CiMTB em 2025, basta acessar o site do SeuEsporte.App: https://seuesporte.app/live/.A história da CiMTBA organização da CiMTB realizou sua primeira prova em 1996. Desde então, vem inovando e contribuindo ativamente para o crescimento e fortalecimento do mountain bike e o mercado de bicicletas no Brasil. Contando pontos para o ranking mundial da União Ciclística Internacional (UCI) desde 2004, a CiMTB tem sido seletiva para os Jogos Olímpicos nos ciclos de Pequim 2008, Londres 2012, Rio 2016, Tóquio 2020 e Paris 2024.Em 2022, a CiMTB aumentou ainda mais sua relevância internacional, com a realização da etapa de abertura da Copa do Mundo Mercedes-Benz de Mountain Bike 2022, em Petrópolis, já em 2024 organizou a etapa de Araxá da WHOOP UCI Mountain Bike World Series. Além disso, foi responsável pela construção da pista de mountain bike dos Jogos Olímpicos Rio 2016, considerada uma das melhores da história dos Jogos desde 1996, primeiro ano do MTB em Olimpíadas.
-
Fox apresenta novas suspensões 36 e 36 SL para All-Mountain e Trail
Novos modelos apresentam redução de peso e aumento de 20% nos resultados de testes de resistência à torção Desde sua estreia em 2005, a FOX 36 tem sido referência em suspensões single crown, oferecendo um desempenho incomparável com a melhor relação rigidez-peso da categoria. Em sua mais recente evolução, a 36 tradicional eleva ainda mais o nível de domínio na categoria All-Mountain, enquanto a nova 36 SL traz um desempenho ultraleve para ciclistas de Trail. Com chassis redesenhados, maior espaçamento de buchas e uma inovadora mola de ar, ambas as suspensões redefinem os limites de rigidez, suavidade e resposta em suas respectivas categorias. Fox 36: O Ápice do All-Mountain Com cursos de 140 a 160 mm, a nova 36 é a combinação da sensação robusta de um modelo 38, mas com um design otimizado para a categoria, sendo leve e ágil. Principais Inovações: Novo Chassis 36 – 20% mais rigidez torsional em comparação com o modelo anterior, aproximando-se da precisão de direção da FOX 38. Otimização do Arco – O novo arco além de melhorar a rigidez de torção, também possui recortes estratégicos que reduzem o peso e refinam sua estética. Nova mola de Ar FLOAT Glidecore – A nova mola de ar garante maior sensibilidade em seu funcionamento, além de não perder eficiência durante torções, proporcionando uma sensação de aderência e suavidade quando mais necessário. Maior espaçamento das Buchas – 30 mm adicionais de espaçamento que reduzem significativamente o atrito, proporcionando uma pilotagem mais fluida, especialmente em terrenos acidentados. Cartucho GRIP X2 ou GRIP X – A nova 36 vem disponível com duas opções de cartucho. O GRIP X2 – o mesmo presente nas 38 e 40 – proporciona mais tração, mais controle e mais velocidade, além de oferecer 4 opções de regulagem. O GRIP X é uma alternativa mais leve e de fácil ajuste em relação ao GRIP X2, equilibrando capacidade de descida e eficiência de pedalada. Canais de Bypass Internos – Os canais bypass foram realocados da parte traseira para a parte interna para melhorar a sensibilidade a impactos pequenos, reduzir o acúmulo de pressão, otimizar a resposta da suspensão e melhor lubrificação dos tubos. Válvulas de Alívio otimizadas – Otimização nos botões de despressurização da lower leg (canela), que agora estão menores e mais eficientes. Nova tampa do Top Cap da Mola de Ar – Agora compatível com a ferramenta padrão de cassete para facilitar ajustes com redutores de volume. Alto desempenho, baixo peso Para ciclistas que buscam rigidez, precisão e uma pilotagem incrivelmente suave, a FOX 36 continua sendo a referência no All-Mountain — agora mais rígida e eficiente do que nunca, pesando menos de 2000g. Especificações Técnicas da Fox 36: Tamanho de Roda: 29", 27.5" Curso: 140mm, 150mm, 160mm Offset: 37mm, 44mm (27.5"); 44mm (29") Eixo: Kabolt X na série factory e 15QR na Série Performance Tamanho do Rotor: 200mm até 230mm Mola de Ar: FLOAT EVOL Compliant Espiga: Cônica 1.5" Peso Inicial: 1920g (29" GRIP X) Fox 36 SL: Curso Curto. Alta performance. Pronto para qualquer trilha. Para ciclistas que exigem um garfo resistente e responsivo sem peso extra, a 36 SL oferece a confiança de uma suspensão robusta para bikes de trail modernas. Pesando apenas 1755g (29" GRIP X), ela veio para substituir o modelo 34 long travel, apresentando 20% mais rigidez torsional que sua antecessora. Principais Inovações: Otimizado para Trail – Desenvolvida para cursos entre 120 -140mm, a 36 SL equilibra rigidez, suavidade e desempenho ultraleve. Novo design – Coroa e arco otimizados, garantindo 20% mais rigidez torsional em comparação com a FOX 34. Mola de Ar FLOAT Glidecore – O sistema Glidecore proporciona maior sensibilidade no funcionamento, além de gerar mais estabilidade e controle em obstáculos que exigem mais cursos durante o uso. Maior espaçamento das Buchas – 20mm adicionais de espaçamento em relação à FOX 34, reduzindo atrito e melhorando a sensibilidade da suspensão. Amortecedor GRIP X – Combina excelente desempenho em descidas e conta também com um modo firme de fácil acesso para eficiência na pedalada. O Grip X agora também possui opção com trava remota Canais de Bypass Internos – Os canais bypass foram reposicionados estrategicamente para a parte interna, reduzindo atrito e otimizando a resposta da suspensão. Válvulas de alívio otimizadas – Otimização nos botões de despressurização da lower leg (canela), que agora estão menores e mais eficientes. Nova tampa do Top Cap da Mola de Ar – Agora compatível com a ferramenta padrão de cassete para facilitar ajustes com redutores de volume. Especificações Técnicas da Fox 36 SL: Tamanho de Roda: 29" Curso: 120mm, 130mm, 140mm Offset: 44mm Eixo: Kabolt SL Tamanho do Rotor: Montagem Direta 180mm, até 203mm Mola de Ar: FLOAT EVOL Compliant Espiga: Cônica 1.5" Peso Inicial: 1755g (29" GRIP X) Novas Suspensões. Novos Para-lamas. As novidades não param nas suspensões. Dois novos paralamas também chegam para acompanhar os novos modelos 36 da Fox. Eles estão disponíveis em dois tamanhos – um mais comprido e um mais curto – e possuem novo encaixe facilitado para instalação, fixado no arco em vez de nos dutos de alívio, para maior durabilidade e estética refinada. Os novos paralamas também são mais firmes e mais rígidos, assim como as novas suspensões 36 e 36 SL.
-
Itaú BBA IRONMAN 70.3 Brasília terá disputa acirrada entre os amadores
Etapa no DF contará com vários destaques da temporada passada O Itaú BBA IRONMAN 70.3 Brasília tem como uma de suas atrações a presença de triatletas profissionais e amadores. A prova, marcada para o dia 13 de abril, também servirá como seletiva para o Mundial IRONMAN 70.3 2025, na Espanha, no final do ano. Para os atletas que competem de acordo com sua categoria de idade serão 70 vagas, o que tem motivado ainda mais a participação dos amadores. Fotos: Fábio Falconi/Unlimited Sports Os competidores, profissionais e amadores, terão pela frente, no domingo (13), 1,9 km de natação, 90 km de ciclismo e 21,1 km de corrida. A largada será a partir das 6h30, e a chegada ocorrerá no Pontão do Lago Sul. Trata-se de uma prova rápida e técnica, que tem tudo para ser bastante disputada em todas as categorias. Brasília poderá ver de perto alguns dos destaques nacionais entre os amadores, que brigarão para manter a hegemonia dos últimos anos no Circuito Itaú BBA IRONMAN 70.3. Em 2024, por exemplo, os brasileiros dominaram todos os pódios gerais, não dando chance aos estrangeiros. No feminino, por exemplo, entre as favoritas inscritas estão a mineira Patrícia Mendes Franco, vencedora de diversas etapas em 2023, que no ano passado ganhou a etapa de abertura na Praia dos Ingleses, em Florianópolis; a também mineira Larissa Fabrini, que melhor atleta feminina amadora do Itaú BBA IRONMAN Brasil e vencedora do Itaú BBA IRONMAN 70.3 Rio de Janeiro, além de ter sido vice na Praia dos Ingleses e em Aracaju; a paulista Ana Laura de Almeida, ganhadora do Itaú BBA IRONMAN 70.3 São Paulo; e a brasiliense Nuzia Batista, terceira em Fortaleza. Larissa FabriniFotos: Fábio Falconi/Unlimited Sports No amador masculino, estarão presentes o goiano Santiago Ascenço, que no ano passado venceu quatro das cinco etapas do Circuito Itaú BBA IRONMAN 70.3 e ainda foi vice em uma; o paulista Rodrigo Lobo, campeão do Itaú BBA IRONMAN 70.3 Fortaleza em 2019; o sergipano Rômulo de Menezes, terceiro colocado no Itaú BBA IRONMAN 70.3 Aracaju-Sergipe; e destaques da nova geração, como o também paulista Fernando Maluf, que no ano passado venceu o IRONMAN de Chattanooga (EUA), na categoria 25/29 anos. Santiago Ascenço Fotos: Fábio Falconi/Unlimited Sports A programação oficial do evento terá início no dia 10 de abril, com a abertura do IRONMAN Village e o começo da entrega de kits, a partir das 14h. O espaço apresenta as principais novidades em equipamentos esportivos, vestuário e acessórios, além de ser conhecido como ponto de encontro para atletas, acompanhantes e o público. Outros destaques que antecedem a prova são o Itaú BBA IRONKIDS Brasil, uma corrida lúdica para crianças de 2 a 12 anos, marcada para sábado (12) às 8 horas, e a coletiva de imprensa com os atletas profissionais, a partir das 10h30, no mesmo dia. O Itaú BBA IRONMAN 70.3 Brasília é organizado pela Unlimited Sports, com Title Sponsor Itaú BBA, patrocínio do Governo do Distrito Federal, Secretaria de Estado de Esporte e Lazer do Distrito Federal, Track Field, Vivo, La Roche-Posay, Dorflex, Etapp, Omint e Arjon; copatrocínio de Dux, Felt, Blue 70, PACCO, Oakberry, Boali e apoio de Tachão Ubatuba, Paçoquita e Sococo. Credenciamento de Imprensa: https://www.presskit.net.br/c/61NvEaiWj81Qec Mais informações no site www.ironmanbrasil.com.br.
-
Fox apresenta nova suspensão 34 SL e trava Twin Stick
Com um nova estrutura no chassi e curso de até 130 mm, nova suspensão vem para atender uma necessidade latente do mercado Referência em inovação e tecnologia, a Fox está redefinindo o que é possível para bikes de cross-country (XC) com o lançamento da nova 34 SL. Projetada para atender às crescentes exigências de ciclistas profissionais que enfrentam cada vez mais percursos técnicos, a nova 34 SL aprimora a já consagrada 34 Step-Cast, entregando maior rigidez, melhor suavidade e mais curso. A diferença para o modelo antigo já é visualmente perceptível, possuindo um chassi com uma estrutura mais robusta e mais larga (com suporte para pneus mais largos e compatibilidade para rotores de até 203mm), arco vazado e coroa usinada para redução de peso e aumento de rigidez. Com a demanda crescente por 130 mm de curso entre os ciclistas de XC, os engenheiros da Fox desenvolveram um garfo que redefine os limites do desempenho das suspensões de curso curto. Principais Inovações Chassi 34 Completo – Diferente do design Step-Cast, a 34 SL possui uma câmara de ar com um maior volume, permitindo que os ciclistas escolham entre 110 mm, 120 mm ou até 130 mm de curso sem comprometer o peso e a sensibilidade. Mais Curso – Agora disponível em 130 mm, a nova 34 SL oferece a vantagem para subidas mais intensas, descidas mais agressivas, além de mais conforto e controle, permitindo que você mantenha um ritmo intenso. Arco e Coroa Redesenhados – O arco aumenta a rigidez de torção em 17% comparado com à 34 SC, além de ampliar o espaço para o pneu. Uma nova coroa de alumínio com liga 7000 e estrutura oca internamente proporciona alívio de peso e um acabamento anodizado ao invés de pintado. Maior espaçamento das Buchas – Com 20% maior espaçamento entre as buchas do que a 34 SC, a 34 SL proporciona uma suavidade aprimorada, garantindo melhor controle em terrenos irregulares, especialmente em altas velocidades. Cartucho GRIP SL ou GRIP X – Presente nas versões de 110 a 130 mm, o amortecedor GRIP SL otimiza a eficiência entre pedalada e absorção de impactos, garantindo um pacote leve com uma sensação de pilotagem incomparável. Exclusivo na versão de 130 mm – que é compatível com ambos os cartuchos – o amortecedor GRIP X foi desenvolvido para maior sensibilidade em oscilações e maior controle durante descidas e saltos. Canais de Bypass Internos – Realocados da parte traseira para a parte interna, os canais de bypass melhoram a sensibilidade a pequenos impactos e reduzem o atrito dinâmico, proporcionando uma pilotagem mais responsiva. Baixo Peso – Contando com o eixo Kabolt SL ultraleve de 15x110mm, a 34 SL pesa apenas 1.475g (29" 130 mm GRIP SL) – 40g mais leve que seu concorrente mais próximo. Nova alavanca de acionamento integrada Twin Stick Além da nova suspensão, a Fox também lançou sua nova alavanca de acionamento integrada. A Twin Stick é a união entre o acionador do canote e a trava de suspensão/shock – sendo a mesma alavanca para bloquear e desbloquear. Ela é compatível com os modelos I-spec, Matchmaker e Shiftmix, além de ter a possibilidade de trava de 2 ou 3 estágios. Esta nova alavanca também é compatível com modelos anteriores e vem para atender a pedidos de diversos ciclistas, mostrando que a marca se atenta às necessidades do mercado.
-
Etapa do 70.3 em Brasília será seletiva para o Mundial na Espanha
Serão 70 vagas para amadores e quatro para profissionais. De volta ao calendário internacional do Circuito IRONMAN 70.3, o Itaú BBA IRONMAN 70.3 Brasília, que ocorre no dia 13 de abril, também é seletiva para o Campeonato Mundial de IRONMAN 70.3 2025, que este ano será realizado nos dias 8 e 9 de novembro, na cidade espanhola de Marbella. Profissionais e amadores de diversas partes do planeta estarão no Distrito Federal buscando assegurar uma das vagas para a maior disputa da modalidade e que apontará os melhores da temporada. Para os inscritos no Profissional, categoria que retorna este ano às etapas no Brasil, serão duas vagas para o masculino e duas para o feminino, além de uma premiação de 15 mil dólares distribuída entre os primeiros colocados. Já para os amadores, estão programadas 70 vagas, sendo 45 proporcionais ao número de participantes nas faixas etárias, no masculino e feminino, além de outras 25 extras somente para as mulheres. Itaú BBA IRONMAN 70.3 Brasília (Fábio Falconi/Unlimited Sports) Trata-se de uma iniciativa do programa Women For Tri™, uma política global criada em 2015 pela marca IRONMAN que propõe auxiliar o crescimento do público feminino nas provas de triatlo de longa distância ao redor do mundo. A ação garante maiores chances de contar com mais representantes femininas na linha de largada do Mundial. Os competidores, profissionais e amadores, terão pela frente no domingo (13) 1,9 km de natação, 90 km de ciclismo e 21,1 km de corrida. A largada será a partir das 6h30, e a chegada ocorrerá no Pontão do Lago Sul. Trata-se de uma prova rápida e técnica, que tem tudo para ser bastante disputada em todas as categorias. A programação oficial do evento terá início no dia 10 de abril, com a abertura do IRONMAN Village e o começo da entrega de kits, a partir das 14h. O espaço apresenta as principais novidades em equipamentos esportivos, vestuário e acessórios, além de ser conhecido como ponto de encontro para atletas, acompanhantes e o público. Outros destaques que antecedem a prova são o Itaú BBA IRONKIDS Brasil, uma corrida lúdica para crianças de 2 a 12 anos, marcada para sábado (12) às 8 horas, e a coletiva de imprensa com os atletas profissionais, a partir das 10h30, no mesmo dia. O Itaú BBA IRONMAN 70.3 Brasília é organizado pela Unlimited Sports, com Title Sponsor Itaú BBA, patrocínio do Governo do Distrito Federal, Secretaria de Estado de Esporte e Lazer do Distrito Federal, Track Field, Vivo, La Roche-Posay, Dorflex, Etapp, Omint e Arjon; copatrocínio de Dux, Felt, Blue 70, PACCO, Oakberry, Boali e apoio de Tachão Ubatuba, Paçoquita e Sococo. Credenciamento de Imprensa: https://www.presskit.net.br/c/61NvEaiWj81Qec Mais informações no site www.ironmanbrasil.com.br.
-
O despertar da mulher que pratica esporte e dá conta de tudo
Da exaustão à saúde feminina, ser mulher e praticar esporte dentro de um cenário que favorece rotinas exaustivas de trabalho já começa com fortes limitações hormonais fisiológicas, sociais, ancestrais, culturais e econômicas, claro. Afinal, trabalho de casa não é renumerado e trabalhamos fora. Neste texto você vai entender o porquê você deve praticar esporte, dar conta de tudo sim, mas também saber a hora de procurar ajuda e se questionar se o que está sendo feito está de acordo ao que deseja viver no esporte e na vida E tudo começa porque temos menos testosterona. Brincadeiras à parte, é verdade que homens possuem naturalmente níveis maiores de testosterona, o que pode favorecer que eles tenham uma recuperação mais rápida e acentuada entre um treino e outro e mais músculos considerando as mesmas condições da aplicação de treinos. A parte boa é que nós mulheres temos também uma capacidade de resistir à fadiga superior (DAVIES; CARSON; JAKEMAN, 2018). Mas isso aqui não é um romance, muito menos uma forma de depreciação de qualquer um dos sexos, já que ser mulher para mim é algo maravilhoso. Contudo, convém pensar com o lado direito e esquerdo do cérebro e evidenciar fatos e argumentos que demonstrem o que a citação da atriz Fernanda Lima nos traz: “A nossa saúde, O nosso trabalho, A nossa maternidade: É tudo neglicengiado. A gente é uma máquina Que move o mundo E a medicina tem que olhar para Nós [mulheres]” Quando Fernanda Lima cita “a medicina tem que olhar para nós mulheres”, vem uma preocupação pessoal enquanto profissional e mulher já quando exploramos a literatura sobre nutrição esportiva, que inclusive é uma das minhas especializações - nos nutrimos geralmente com um guideline referenciado e baseado em estudos conduzidos e aplicados em homens. As atletas mulheres representam quase 50% dos participantes de esportes. Quando entramos no mundo das pesquisas sobre a otimização da nutrição para a saúde e o desempenho específicos da fisiologia feminina, faltamos com muita informação. Temos aqui uma pesquisa que investigou três das principais revistas de medicina esportiva do mundo (British Journal of Sports Medicine, Medicine and Science in Sports and Exercise e American Journal of Sports Medicine) em que tiveram mulheres representando 39% dos participantes dos estudos e apenas 4% dos estudos eram apenas femininos (HOLTZMAN; ACKERMAN, 2021). De certa forma compreensível, nós mulheres menstruamos e isso faz com que a flutuação hormonal seja um fator que diferencia as respostas da aplicação dos mais diversos protocolos de estudos e, ainda há dois momentos da vida da mulher que não há menstruação: amenorreia primária (a mulher que não menstruou ainda) e menopausa (a mulher que menstruou durante sua fase reprodutiva e a menstruação então cessa). Outros fatores ainda que afetam essa limitação de aplicação do protocolo de estudo em mulheres são mulheres que por opção pessoal ou clínicas cessam o ciclo menstrual com uso de contraceptivos hormonais. E como ficaria na prática se considerássemos a mulher em seu ciclo menstrual, por exemplo, nos estudos? O que poderíamos melhorar nessa prescrição de treinos e qual o benefício? No início do texto comentei sobre o homem possuir mais testosterona e que isso pode ser benéfico, mas também acredita-se que os estrogênios tenham propriedades anabólicas que são benéficas para a construção e recuperação muscular da mulher. Ou seja, aumentar o volume de treinos ao longo do mês, reduzindo a intensidade em determinados dias pode ser uma ótima estratégia para tirar proveito de certos hormônios. Então na verdade não é que a mulher precisaria treinar realmente menos, mas a prescrição teria que ser mais pautada em otimizar os períodos do ciclo menstrual (ANTERO, 2024). Portanto, o benefício estaria exatamente em executar treinos de forma efetiva possibilitando uma evolução real e sustentável a mulher. Ainda em relação a nutrição esportiva, o carboidrato é o macronutriente que mais recebe atenção no esporte, em especial antes, durante e após o exercício. Dado que a disponibilidade de carboidratos é um fator limitante no desempenho do exercício, a redução é prejudicial ao desempenho do exercício de duas maneiras: a redução do glicogênio muscular leva à fadiga e à queda de intensidade, e a redução de carboidratos (glicose) no sangue, já que a nutrição neural central prejudica a cognição. E o que muda nas fases do ciclo menstrual? Parece que as taxas de gliconeogênese (aumento da reserva de glicogênio) são maiores na fase folicular do que a fase lútea em intensidades de exercício>50% VO2máx (CAMPBELL; ANGUS; FEBBRAIO, 2001). Então, talvez na fase lútea pode ser que o metabolismo seja alterado, exigindo estratégias nutricionais distintas a depender da fase do ciclo da mulher. Por exemplo: aumentar a disponibilidade de carboidratos na dieta na fase lútea pré e intra-treino pode ser mais importante do que na fase ovulatória. No entanto, essas recomendações sobre aumento de consumo de carboidratos são amplamente baseadas em estudos de atletas do sexo masculino e não específicas na fisiologia de atletas do sexo feminino. Parece também que o uso de contraceptivos orais confunde ainda mais o quadro de carga de carboidratos devido ao hormônio não fisiológico (HOLTZMAN; ACKERMAN, 2021). Esta questão ainda da falta de disponibilidade de carboidratos se levada a um contexto crônico e associada a um déficit energético importante e acentuado pode desencadear na mulher danos irreversíveis e levar a susceptibilidade da saúde óssea da mulher, bem como a alterações comportamentais e emocionais que ficam ainda mais afloradas a depender da fase do ciclo menstrual ou mesmo em mulheres que estão entrando em menopausa. Existe também o desafio entre aplicar protocolos de nutrição e esporte compatíveis a realidade da mulher e desafios que esta mulher encontra em sua vida pessoal e profissional. Esse texto fica ainda mais complexo quando a mulher é uma mãe solo, o que no Brasil é relativamente comum normal não. Segundo dados divulgados pelo IBGE, de todos os adultos brasileiros que moram sozinhos com os filhos, 86,4% são mulheres (IBGE, 2022). Outras nuances permeiam sobre este assunto, mas o extremo foi exposto neste número de forma proposital, já que é bem natural a mulher “que leva o mundo nas costas”, números não mentem. Mas a questão é, deveríamos mudar a forma de olhar o esporte e nutrição para a mulher? Sim, tanto profissionais como a própria mulher devem estar orientados de acordo a rotina em um todo e considerar questionar determinado protocolo quando isto ameaça sua qualidade de vida e a leva a desenvolver alguns sintomas e sinais como: cansaço e fadiga crônica, ausência de ciclo menstrual, distúrbios alimentares, fraturas por estresse etc. Desde minha faculdade em que meu Trabalho de Conclusão de Curso (TCC) foi escrever sobre a Tríade da Mulher Atleta, hoje atualizado para a Deficiência Energética no Esporte (RED-s) tamanha a complexidade do assunto, vejo a importância da mulher e dos profissionais se situarem através da literatura, mas sobretudo estar presente com profissionais que possam levá-la a extrair seu máximo potencial enquanto mulher em sua fisiologia feminina. O despertar da mulher no esporte é simplesmente praticar esporte em sua máxima eficiência em energia, saúde e disposição e não na exaustão de treinos e volumes extenuantes com baixa aderência e consistência da mulher, encontrando o potencial de se expandir no esporte através da preservação de sua saúde considerando o aspecto da sua rotina e fisiologia feminina, levando o corpo a aumentar o seu limite em determinados períodos, com o encaixe de todo o processo assistido e supervisionado quando possível de profissionais qualificados que a levem ao caminho correto enquanto esta se expõe aos treinos e períodos e protocolos necessários para gerar estresse, adaptação e recuperação; sendo esta mulher uma atleta amadora ou profissional e, considerando que no Brasil, são poucas as mulheres que vivem exclusivamente do esporte. O despertar da mulher no esporte é um olhar a si mesma com amor e lógica que colocam a mulher para a longevidade no esporte e para o desempenho no lugar que ela se permita a não viver acentuados períodos de estresse e desafios extremos no próprio direito de ser mulher em sua rotina pessoal, profissional e social. As mulheres e homens que acompanharam o texto até aqui comentem e compartilhem. Abrir a consciência e informar esta lacuna é o primeiro passo para encontrar o caminho ideal da mulher inserida no contexto esportivo. REFERÊNCIA ANTERO, J. Epidemiological researcher at the Institut national du sport de l'expertise et de la performance. On March 12th, 2024 CAMPBELL, S. E.; ANGUS, D. J.; FEBBRAIO, M. A. Glucose kinetics and exercise performance during phases of the menstrual cycle: effect of glucose ingestion. American journal of physiology. Endocrinology and metabolism, v. 281, n. 4, p. E817-25, 2001. DAVIES, R. W.; CARSON, B. P.; JAKEMAN, P. M. Sex differences in the temporal recovery of neuromuscular function following resistance training in resistance trained men and women 18 to 35 years. Frontiers in physiology, v. 9, p. 1480, 2018 HOLTZMAN, B.; ACKERMAN, K. E. Recommendations and nutritional considerations for female athletes: Health and performance. Sports medicine (Auckland, N.Z.), v. 51, n. Suppl 1, p. 43–57, 2021. IBGE. Composição domiciliar e óbitos informados. Disponível em: <https://biblioteca.ibge.gov.br/visualizacao/livros/liv102127.pdf>. Acesso em: 17 mar. 2025.
-
Suíço Simon Pellaud e britânica Madeleine Nutt vencem a 1ª edição do UCI Gravel World Series Brazil
Evento em Camboriú (SC) reuniu mais de 400 ciclistas de 11 países neste domingo A cidade catarinense de Camboriú recebeu neste domingo (9 de março) a primeira edição da UCI Gravel World Series Brazil. A corrida, única na América Latina que integra o circuito mundial da UCI, reuniu mais de 400 ciclistas vindos de 11 países. Os 25% primeiros colocados das categorias Granfondo e Mediofondo são classificados para a disputa da etapa única do Campeonato Mundial de Gravel da UCI, que será em outubro em local a ser definido em breve pela entidade. A concentração de largada e chegada foi na Pousada Fazenda dos Caetés, na zona rural de Camboriú, com ampla infraestrutura, hospedagem e diversas opções de lazer para toda a família. O evento com patrocínio da Specialized contou com cerca de 30 ciclistas estrangeiros e, além do Brasil, a prova teve participantes da Argentina, Uruguai, Chile, Colômbia, Estados Unidos, Suíça, Grã-Bretanha, Espanha, Itália, Alemanha e França. Com temperatura de 23 graus e céu azul, a largada foi às 7h30. Não demorou até o sol brilhar com intensidade e o calor superar os 35 graus. Granfondo Na categoria Granfondo Elite, o suíço Simon Pellaud imprimiu um forte ritmo desde o início e cruzou sozinho a meta. Pellaud completou os 120,1km com 1.947 metros de ascensão acumulada em 3h44min43s a 29,37km7h de velocidade média. Os trechos não pavimentados somaram cerca de 90% do percurso. “É um percurso muito duro e estava muito calor. Minhas pernas não estavam boas, pois corri na Colômbia semana passada. O ritmo era intenso e foi aumentando cada vez mais. Precisei até parar na zona de abastecimento para pegar água e me refrescar. Estou muito feliz por vir ao Brasil e vencer desta forma”, disse o vencedor de 32 anos. Na segunda colocação, a 6min52s, chegou o argentino Facundo Perez Costa, com 3h51min36s. O italiano Daniel Oss (Specialized) completou o pódio na terceira colocação, a 14min30s. O melhor brasileiro na categoria foi Lucas Emanoel Barbosa dos Santos, que marcou o tempo de 4h20min19s, na quinta colocação. O forte calor foi um desafio para a campeã da Granfondo Elite feminina. A britânica Madeleine Nutt, apontada como uma das favoritas à vitória em Camboriú, não decepcionou. A ciclista de 26 anos completou o percurso em 4h42min50s, a uma velocidade média de 23,3km/h. “Estava muito quente. Implacável, parecia 50 graus. Eu não conhecia o percurso. No final da corrida eu senti cãibras nas pernas. Nos primeiros 28km nem tentei atacar, mas me vi na frente no alto de uma subida e fui no meu ritmo. Estou tão feliz por ter vencido. Ainda não faço ideia de onde estão as outras adversárias”, comentou Madeleine logo após a vitória. A catarinense Tamires Radatz, atual campeã brasileira de ciclismo de estrada, chegou na segunda colocação com o tempo de 4h55min43s. Luiza Euzébio de Souza completou o pódio na terceira colocação com 4h58min40s. Mediofondo Fotos: Rodrigo Philipps / Catuaí Filmes Na distância Mediofondo o percurso teve 62,1km com 996 metros de altimetria e o mais rápido foi o paulista Osvaldo José dos Santos, o Osvaldão, da categoria 60-64 anos, que concluiu em 2h18min31s. “Foi uma prova linda e muito veloz. Eu busquei o pelotão da Granfondo e andei com eles até que soube que eu era o líder da Mediofondo”, disse o experiente Osvaldão, um dos pioneiros do mountain bike no Brasil. Entre as mulheres, a vitória foi de Karin Kenzler (55-59 anos), que fechou o percurso em 2h58min49s. “Para mim foi uma surpresa esta vitória. Eu não imaginava vencer. Foi muito difícil, mas adorei”. Categoria MTB&Gravel Para quem buscava diversão, a organização da UCI Gravel World Series Brazil ofereceu a categoria MTB&Gravel, com percurso de 30km com 404 metros de elevação. “A prova foi muito linda, com um dia de sol maravilhoso. O percurso estava muito bem sinalizado e com vários pontos de hidratação. A organização está de parabéns. Quero fazer outras provas, sempre que tiver quero participar”, disse o fotógrafo Rivo Biehl, de Balneário Camboriú, que competiu na categoria 55-59 anos. O mais rápido no percurso foi Juliano Gregoris (40-44 anos) que concluiu em 1h05min09s. No feminino, Catiane Cardoso Pereira (40-44 anos) venceu com 1h10min40s. Jogo LimpoEm um trabalho conjunto entre a organização da UCI Gravel World Series Brazil e a ABCD (Associação Brasileira de Controle de Dopagem), o evento em Camboriú recebeu a visita dos comissários da entidade, que coletaram amostras de vários ciclistas. “Isso demonstra a seriedade da etapa mundial no Brasil”, destaca o organizador Juliano Salvadori. Salvadori reforça a satisfação com o sucesso desta primeira edição no Brasil, pioneira no conceito Gravel Race.“O percurso foi bastante elogiado. Este evento significa uma nova página do gravel na América do Sul. Foi uma corrida de alto nível, com uma vitória linda do Simon Pellaud, depois de uma disputa acirrada entre os líderes. Ficamos felizes de entregar aqui no Sul do Brasil uma prova com os padrões que se corre lá fora”, completou Salvadori. CAMPEÕES GRANFONDO ELITE Masculino1 – Simon Pellaud - Suíça – 3h44min43s2 – Facundo Perez Costa – Argentina – 3h51min36s3 – Daniel Oss – Itália – 3h59min13s4 – Leandro Messineo – Argentina – 4h08min56s5 – Lucas Emanuel B. dos Santos – Brasil – 4h20min19sFeminino1 – Madeleine Nutt – Reino Unido – 4h42min50s2 – Tamires Radatz – 4h55min43s3 – Luiza Euzébio de Souza – 4h58min40s4 – Ana Luisa Panini – 5h16min25s5 – Gabriele Krol – 5h25min16sGRANFONDOMasculino19-34 anos – Matheus Eduardo Franciscon35-39 anos – Pedro Miorim40-44 anos – Marcelo Medeiros Garcia45-49 anos – Rodrigo Ribeiro Nunes50-54 anos – Márcio May55-59 anos – Federico Guerra - ArgentinaFeminino19-34 anos – Harriet Kefford – Reino Unido35-39 anos – Gabrielli Socha40-44 anos – Erika Soares Correa45-49 anos – Belen Luz CAMPEÕES MÉDIO FONDO Masculino40-44 anos* – Paulo Sérgio Missfeld45-49 anos* – Rodrigo Ribeiro Nunes50-54 anos* – Paulo Cezar de Sordi60-64 anos – Osvaldo José dos Santos65-69 anos – Leslie Marc Dhaese70-74 anos – Edmilson Franqueira AmorelliFeminino40-44 anos* – Natassia Zikeli50-54 anos – Simone Dias Musa55-59 anos – Karin Kenzler * Não classificam para o Campeonato Mundial CAMPEÕES MÉDIO FONDO OPENFeminino – 15-79 anos – Aline Mangone ChiochettaMasculino – 15-79 anos – Marcos SandriniCAMPEÕES GRAVEL & MTBMasculino - Juliano GregorisFeminino - Catiane Cardoso Pereira RESULTADOS COMPLETOShttps://protiming.com.br/resultados/g-live.html?f=eventos/2025/UCI-GRAVEL/UCI-GRAVEL.clax MAIS INFORMAÇÕEShttps://www.ucigravelbrasil.com.brhttps://www.instagram.com/ucigravelbrasilhttps://www.facebook.com/ucigravelbrasil

