Journal

Confira as ultimas novidades em nosso blog


Chris Froome vira folha e decide falar bem dos freios a disco

Chris Froome vira folha e decide falar bem dos freios a disco

O tetra-campeão do Tour de France decidiu mudar o discurso e passou a falar bem dos freios a disco Chris Froome, um dos maiores críticos dos freios a disco em bicicletas de estrada nos últimos anos, revelou que “se apaixonou” pela tecnologia. Falando à mídia durante uma visita à fábrica da Factor Bikes em Taiwan […]

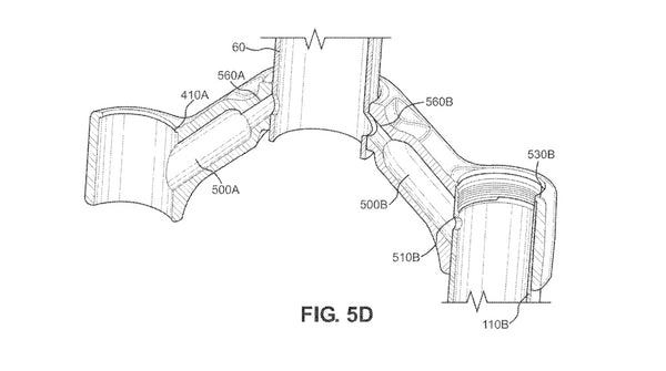
Fox registra patente de nova suspensão com maior volume de ar no crown

Fox registra patente de nova suspensão com maior volume de ar no crown

Uma patente recente da Fox procura resolver as restrições de tamanho da câmara de ar que normalmente estão presentes em um único lado do garfo. A solução? Crie câmaras de ar dentro da coroa (o crown) do garfo. A patente detalha várias maneiras possíveis de conseguir isso, incluindo um cenário em que o ar pode […]

Tecnologias que deram errado no mercado da bike

Tecnologias que deram errado no mercado da bike

Nem toda inovação é boa. Confira uma lista de itens que não funcionaram para o mundo do ciclismo Por Breno Bizinoto   Nesses dias falei sobre o quanto é importante inovar e aceitar as novas tecnologias que entram no mercado. Mas, que fique bem claro, nem tudo são flores e algumas revoluções tecnológicas acabaram virando […]